TOP
|
特許
|
意匠
|
商標
特許ウォッチ
Twitter
他の特許を見る
10個以上の画像は省略されています。
公開番号
2025166906
公報種別
公開特許公報(A)
公開日
2025-11-07
出願番号
2024071097
出願日
2024-04-25
発明の名称
スイッチ装置
出願人
矢崎総業株式会社
代理人
弁理士法人虎ノ門知的財産事務所
主分類
H01H
13/14 20060101AFI20251030BHJP(基本的電気素子)
要約
【課題】簡易構造によりスイッチ操作の操作感を与えられるスイッチ装置を提供する。
【解決手段】スイッチ装置1は、スイッチ操作により操作方向Xに移動する操作部2と、操作部2に取り付けられ操作部2と共に移動するバスバー3と、バスバー3と電気的に接続され操作部2における静電容量の変化を検出してオンオフの切り替えを行うプリント基板4と、を備え、バスバー3は、操作部2の移動に対しプリント基板4に対し反力をとって移動の向きと逆向きに操作部2を付勢する付勢部32を有するように構成されている。
【選択図】図4
特許請求の範囲
【請求項1】
スイッチ操作により操作方向に移動する操作部と、
前記操作部に取り付けられ前記操作部と共に移動するバスバーと、
前記バスバーと電気的に接続され前記操作部における静電容量の変化を検出してオンオフの切り替えを行うプリント基板と、を備え、
前記バスバーは、前記操作部の移動に対し前記プリント基板に対し反力をとって前記移動の向きと逆向きに前記操作部を付勢する付勢部を有する、
スイッチ装置。
続きを表示(約 62 文字)
【請求項2】
車両に搭載され、照明装置のスイッチとして用いられる、
請求項1に記載のスイッチ装置。
発明の詳細な説明
【技術分野】
【0001】
本発明は、スイッチ装置に関する。
続きを表示(約 1,500 文字)
【背景技術】
【0002】
従来、スイッチ装置に関するものとして、例えば、特許文献1に記載されるように、タッチ領域へのタッチ操作による静電容量を検出して作動するスイッチ装置が知られている。このスイッチ装置は、タッチ操作を感圧センサで検知し、タッチ操作に応じてタッチ領域を振動発生部により振動させることにより、タッチ操作に対する操作感を与えている。
【先行技術文献】
【特許文献】
【0003】
特開2016-120890号公報
【発明の概要】
【発明が解決しようとする課題】
【0004】
上述したスイッチ装置は、操作感を与えるための電気部品が必要となる点で改善の余地がある。このため、静電検知のスイッチ装置において、簡易構造により操作感を与えられるような技術開発が望まれる。
【0005】
そこで、本発明は、簡易構造によりスイッチ操作の操作感を与えることができるスイッチ装置を提供することを目的とする。
【課題を解決するための手段】
【0006】
すなわち、本発明に係るスイッチ装置は、スイッチ操作により操作方向に移動する操作部と、前記操作部に取り付けられ前記操作部と共に移動するバスバーと、前記バスバーと電気的に接続され前記操作部における静電容量の変化を検出してオンオフの切り替えを行うプリント基板と、を備え、前記バスバーは、前記操作部の移動に対し前記プリント基板に対し反力をとって前記移動の向きと逆向きに前記操作部を付勢する付勢部を有するように構成されている。
【発明の効果】
【0007】
本発明に係るスイッチ装置によれば、簡易構造によりスイッチ操作の操作感を与えることができる。
【図面の簡単な説明】
【0008】
図1は、実施形態に係るスイッチ装置の斜視図である。
図2は、実施形態に係るスイッチ装置の分解斜視図である。
図3は、実施形態に係るスイッチ装置におけるバスバー斜視図である。
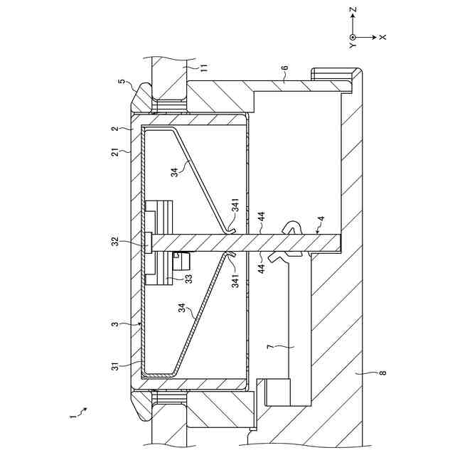
図4は、図1のIV-IVにおけるスイッチ装置の断面図である。
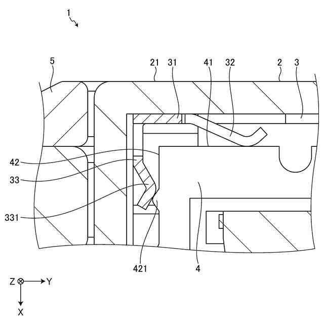
図5は、実施形態に係るスイッチ装置の拡大断面図である。
図6は、図1のVI-VIにおけるスイッチ装置の断面図である。
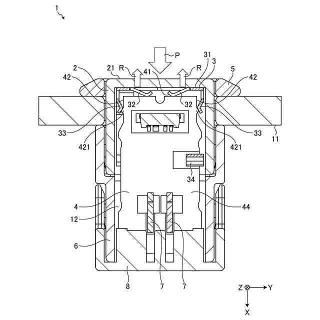
図7は、実施形態に係るスイッチ装置の動作の説明図である。
図8は、実施形態に係るスイッチ装置の動作の説明図である。
図9は、実施形態に係るスイッチ装置の動作の説明図である。
【発明を実施するための形態】
【0009】
以下に、本発明に係る実施形態を図面に基づいて詳細に説明する。なお、この実施形態により本発明が限定されるものではない。また、下記実施形態における構成要素には、当業者が置換可能かつ容易なもの、あるいは実質的に同一のものが含まれる。
【0010】
[実施形態]
本実施形態は、スイッチ装置に関する。以下の説明では、互いに交差する第一方向、第二方向、及び、第三方向のうち、第一方向を「操作方向X」といい、第二方向を「幅方向Y」といい、第三方向を「奥行方向Z」という。ここでは、操作方向Xと幅方向Yと奥行方向Zとは、相互に直交する。操作方向Xは、操作部の操作方向又は押圧方向に相当する。幅方向Yは、スイッチ装置の幅方向に相当する。幅方向Yと奥行方向Zとは、操作方向Xと直交する直交方向に相当する。また、以下の説明で用いる各方向は、特に断りのない限り、各部が相互に組み付けられた状態での方向を表すものとする。なお、ここでいう直交は、ほぼ直交を含む。
(【0011】以降は省略されています)
この特許をJ-PlatPat(特許庁公式サイト)で参照する
関連特許
矢崎総業株式会社
端子
11日前
矢崎総業株式会社
箱状体
1か月前
矢崎総業株式会社
箱状体
4日前
矢崎総業株式会社
箱状体
4日前
矢崎総業株式会社
箱状体
1か月前
矢崎総業株式会社
箱状体
4日前
矢崎総業株式会社
コネクタ
1か月前
矢崎総業株式会社
照明装置
12日前
矢崎総業株式会社
照明装置
12日前
矢崎総業株式会社
止水部材
1か月前
矢崎総業株式会社
コネクタ
1か月前
矢崎総業株式会社
コネクタ
1か月前
矢崎総業株式会社
接続構造
4日前
矢崎総業株式会社
コネクタ
1か月前
矢崎総業株式会社
コネクタ
1か月前
矢崎総業株式会社
コネクタ
1か月前
矢崎総業株式会社
照明構造
1か月前
矢崎総業株式会社
コネクタ
1か月前
矢崎総業株式会社
コネクタ
1か月前
矢崎総業株式会社
照明装置
11日前
矢崎総業株式会社
コネクタ
25日前
矢崎総業株式会社
コネクタ
29日前
矢崎総業株式会社
コネクタ
1か月前
矢崎総業株式会社
バスバー
22日前
矢崎総業株式会社
コネクタ
1か月前
矢崎総業株式会社
コネクタ
1か月前
矢崎総業株式会社
コネクタ
3日前
矢崎総業株式会社
コネクタ
1か月前
矢崎総業株式会社
コネクタ
3日前
矢崎総業株式会社
報知装置
18日前
矢崎総業株式会社
照明装置
17日前
矢崎総業株式会社
電気接続箱
1か月前
矢崎総業株式会社
ゴムブーツ
1か月前
矢崎総業株式会社
電気接続箱
1か月前
矢崎総業株式会社
電気接続箱
1か月前
矢崎総業株式会社
電気接続箱
1か月前
続きを見る
他の特許を見る