TOP
|
特許
|
意匠
|
商標
特許ウォッチ
Twitter
他の特許を見る
公開番号
2025144755
公報種別
公開特許公報(A)
公開日
2025-10-03
出願番号
2024044594
出願日
2024-03-21
発明の名称
止水部材
出願人
矢崎総業株式会社
代理人
弁理士法人虎ノ門知的財産事務所
主分類
H02G
3/22 20060101AFI20250926BHJP(電力の発電,変換,配電)
要約
【課題】三本以上の電線の線間からの浸水を適切に抑制できる止水部材を提供する。
【解決手段】止水部材1は、電線を保持する少なくとも三本の保持溝3を有する柱状の保持体2を備え、それぞれの保持溝3は、保持体2の側方に向けて開口しており、かつ保持体2における軸方向Xの一端から他端まで延在しており、保持溝3は、電線の外周面と対向する対向面31を有し、対向面31の断面形状は、円弧形状であり、保持溝3には、対向面31と電線の外周面との間をシールする円弧状のリブ32が設けられている。
【選択図】図1
特許請求の範囲
【請求項1】
電線を保持する少なくとも三本の保持溝を有する柱状の保持体を備え、
それぞれの前記保持溝は、前記保持体の側方に向けて開口しており、かつ前記保持体における軸方向の一端から他端まで延在しており、
前記保持溝は、前記電線の外周面と対向する対向面を有し、
前記対向面の断面形状は、円弧形状であり、
前記保持溝には、前記対向面と前記電線の外周面との間をシールする円弧状のリブが設けられている
ことを特徴とする止水部材。
続きを表示(約 210 文字)
【請求項2】
前記保持体は、前記保持溝に収容された電線を支持する支持片を有し、
前記支持片は、前記リブと対向するように配置され、電線を前記リブに向けて押圧するように電線を支持する
請求項1に記載の止水部材。
【請求項3】
前記保持溝は、前記保持体の外周面に開口する開口部を有し、
前記支持片は、前記開口部の縁から周方向に向けて突出している
請求項2に記載の止水部材。
発明の詳細な説明
【技術分野】
【0001】
本発明は、止水部材に関する。
続きを表示(約 1,500 文字)
【背景技術】
【0002】
従来、ワイヤハーネスがある。特許文献1には、電線の先端部に端子金具を固着した導電路と、前記電線を包囲するコルゲートチューブと、前記コルゲートチューブの先端部に取り付けられて前記電線を包囲するゴムブーツと、前記電線を保持する保持部と、前記コルゲートチューブの周面に係止する係止部とが形成された電線ホルダとを備えているワイヤーハーネスが開示されている。
【先行技術文献】
【特許文献】
【0003】
特開2017-098010号公報
【発明の概要】
【発明が解決しようとする課題】
【0004】
ワイヤハーネスにおいて、複数の電線の線間から浸水してしまうと、電線に接続された機器の劣化等につながりやすい。電線の線間からの浸水を抑制できることが好ましい。例えば、三本以上の電線の線間からの浸水を適切に抑制できることが望まれている。
【0005】
本発明の目的は、三本以上の電線の線間からの浸水を適切に抑制できる止水部材を提供することである。
【課題を解決するための手段】
【0006】
本発明の止水部材は、電線を保持する少なくとも三本の保持溝を有する柱状の保持体を備え、それぞれの前記保持溝は、前記保持体の側方に向けて開口しており、かつ前記保持体における軸方向の一端から他端まで延在しており、前記保持溝は、前記電線の外周面と対向する対向面を有し、前記対向面の断面形状は、円弧形状であり、前記保持溝には、前記対向面と前記電線の外周面との間をシールする円弧状のリブが設けられていることを特徴とする。
【発明の効果】
【0007】
本発明に係る止水部材は、電線を保持する少なくとも三本の保持溝を有する柱状の保持体を備え、保持溝には、対向面と電線の外周面との間をシールする円弧状のリブが設けられている。本発明に係る止水部材によれば、三本以上の電線の線間からの浸水を適切に抑制できるという効果を奏する。
【図面の簡単な説明】
【0008】
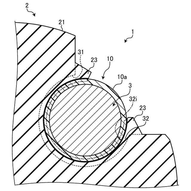
図1は、実施形態に係る止水部材の斜視図である。
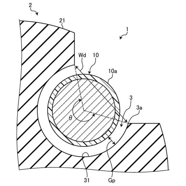
図2は、実施形態に係る止水部材の平面図である。
図3は、電線を保持した止水部材の平面図である。
図4は、電線を保持した止水部材の正面図である。
図5は、実施形態に係る止水部材の断面図である。
図6は、実施形態に係る止水部材の断面図である。
図7は、車体に取り付けられた止水部材の正面図である。
【発明を実施するための形態】
【0009】
以下に、本発明の実施形態に係る止水部材につき図面を参照しつつ詳細に説明する。なお、この実施形態によりこの発明が限定されるものではない。また、下記の実施形態における構成要素には、当業者が容易に想定できるものあるいは実質的に同一のものが含まれる。
【0010】
[実施形態]
図1から図7を参照して、実施形態について説明する。本実施形態は、止水部材に関する。図1は、実施形態に係る止水部材の斜視図、図2は、実施形態に係る止水部材の平面図、図3は、電線を保持した止水部材の平面図、図4は、電線を保持した止水部材の正面図、図5および図6は、実施形態に係る止水部材の断面図、図7は、車体に取り付けられた止水部材の正面図である。図5には、図3のV-V断面が示されている。図6には、図3のVI-VI断面が示されている。
(【0011】以降は省略されています)
この特許をJ-PlatPat(特許庁公式サイト)で参照する
関連特許
矢崎総業株式会社
端子
1か月前
矢崎総業株式会社
端子
1か月前
矢崎総業株式会社
照明灯
24日前
矢崎総業株式会社
箱状体
1か月前
矢崎総業株式会社
コネクタ
24日前
矢崎総業株式会社
コネクタ
1日前
矢崎総業株式会社
コネクタ
1か月前
矢崎総業株式会社
コネクタ
17日前
矢崎総業株式会社
コネクタ
1か月前
矢崎総業株式会社
コネクタ
5日前
矢崎総業株式会社
コネクタ
17日前
矢崎総業株式会社
コネクタ
15日前
矢崎総業株式会社
コネクタ
1か月前
矢崎総業株式会社
コネクタ
1日前
矢崎総業株式会社
コネクタ
24日前
矢崎総業株式会社
照明構造
1日前
矢崎総業株式会社
コネクタ
9日前
矢崎総業株式会社
コネクタ
8日前
矢崎総業株式会社
コネクタ
3日前
矢崎総業株式会社
コネクタ
3日前
矢崎総業株式会社
コネクタ
24日前
矢崎総業株式会社
コネクタ
1か月前
矢崎総業株式会社
コネクタ
29日前
矢崎総業株式会社
コネクタ
29日前
矢崎総業株式会社
コネクタ
1か月前
矢崎総業株式会社
止水部材
1日前
矢崎総業株式会社
コネクタ
29日前
矢崎総業株式会社
コネクタ
1か月前
矢崎総業株式会社
プロテクタ
1か月前
矢崎総業株式会社
ゴムブーツ
1日前
矢崎総業株式会社
カバー構造
24日前
矢崎総業株式会社
電気接続箱
25日前
矢崎総業株式会社
保護カバー
1か月前
矢崎総業株式会社
電流センサ
26日前
矢崎総業株式会社
電流センサ
26日前
矢崎総業株式会社
電気接続箱
1か月前
続きを見る
他の特許を見る