TOP
|
特許
|
意匠
|
商標
特許ウォッチ
Twitter
他の特許を見る
10個以上の画像は省略されています。
公開番号
2025145649
公報種別
公開特許公報(A)
公開日
2025-10-03
出願番号
2024045942
出願日
2024-03-22
発明の名称
照明構造
出願人
矢崎総業株式会社
代理人
個人
,
個人
,
個人
主分類
B60Q
1/24 20060101AFI20250926BHJP(車両一般)
要約
【課題】充電コネクタが照明ユニットにぶつかることを抑制できる照明構造を提供する。
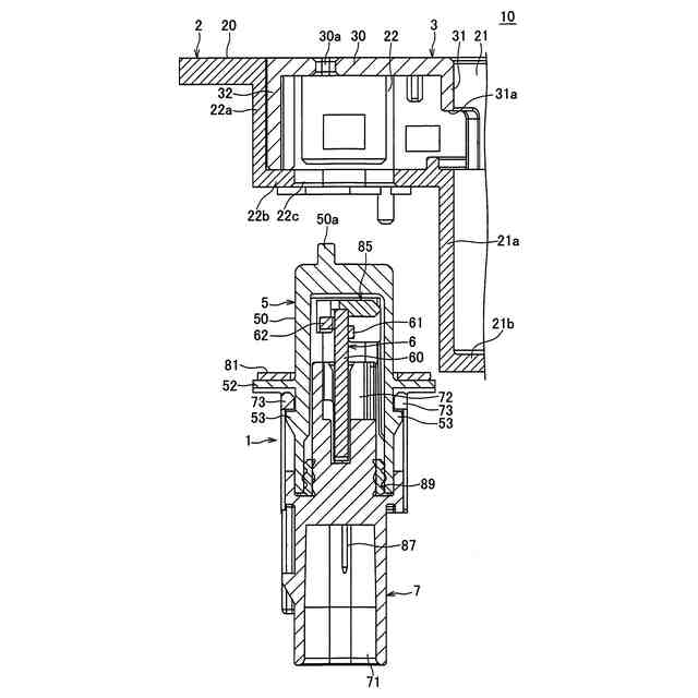
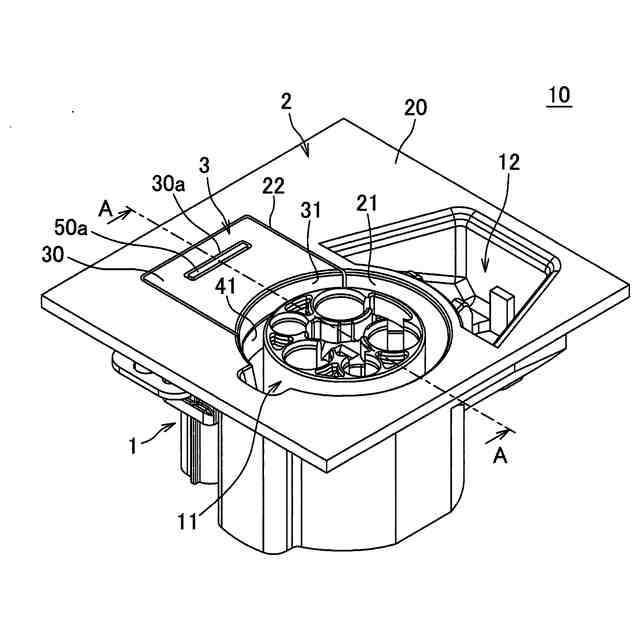
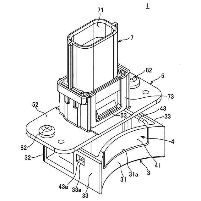
【解決手段】照明構造10は、充電インレットと、照明ユニット1と、インレットパネル2と、を備えている。インレットパネル2は、平板部20と、充電インレットを収容した第1凹部21と、照明ユニット1を収容した第2凹部22と、を有している。照明ユニット1は、照明用LED61とインジケータ用LED62とを収容した透光性のケース5と、ケース5に組み付けられた不透光性のカバー3と、を備えている。カバー3は、平板部20と面一に配置されて第2凹部22を塞いだ塞ぎ板部30と、第1凹部21と第2凹部22との境界部に配置された区画板部31と、を有している。塞ぎ板部30には、インジケータ用LED62の光を通す通し部30aが設けられている。区画板部31には、照明用LED61の光を通す通し部31aが設けられている。
【選択図】図5
特許請求の範囲
【請求項1】
自動車に搭載される充電インレットと、照明ユニットと、インレットパネルと、を備え、
前記インレットパネルは、平板部と、前記平板部から凹に形成されて前記充電インレットを収容した第1凹部と、前記平板部から凹に形成されて前記照明ユニットを収容した第2凹部と、を有し、
前記第1凹部と前記第2凹部とは、互いに隣接配置されて互いに連通した空間とされており、
前記照明ユニットは、照明用光源とインジケータ用光源とを収容した透光性のケースと、前記ケースに組み付けられた不透光性のカバーと、を備え、
前記カバーは、前記平板部と面一に配置されて前記第2凹部を塞いだ塞ぎ板部と、前記第1凹部と前記第2凹部との境界部に配置された区画板部と、を有し、
前記塞ぎ板部に、前記インジケータ用光源の光を通す通し部が設けられ、
前記区画板部に、前記照明用光源の光を通す通し部が設けられている
ことを特徴とする照明構造。
続きを表示(約 470 文字)
【請求項2】
前記照明ユニットは、前記カバーに組み付けられた透光性樹脂部品を備え、
前記透光性樹脂部品は、前記カバーに係止した係止部と、前記区画板部の通し部内に配置された透光部と、を有している
ことを特徴とする請求項1に記載の照明構造。
【請求項3】
前記ケースは、前記塞ぎ板部の通し部内に配置された透光部を有している
ことを特徴とする請求項1に記載の照明構造。
【請求項4】
前記照明ユニットは、前記照明用光源と前記インジケータ用光源とが搭載された基板と、前記基板に組み付けられ、前記照明用光源の光と前記インジケータ用光源の光とが混ざることを規制する遮光部材と、を備えている
ことを特徴とする請求項1に記載の照明構造。
【請求項5】
前記ケースは、前記照明用光源と前記インジケータ用光源とを収容したケース本体と、前記ケース本体の外面に連なり、前記インレットパネルにネジ固定されたフランジ部と、を有している
ことを特徴とする請求項1に記載の照明構造。
発明の詳細な説明
【技術分野】
【0001】
本発明は、自動車用照明に関するものである。
続きを表示(約 1,600 文字)
【背景技術】
【0002】
自動車は、種々の場所に照明(例えば、ルームランプ、マップランプ、カーテシランプ、充電口照明、等)が設置されている。例えば、本願出願人による特許文献1には、電気自動車やハイブリッド自動車に設けられる充電インレットの近傍に設置される照明装置が開示されている。この照明装置は、充電インレットを照らし、かつ、光によってバッテリへの充電状態を示すものであり、充電インレットよりも手前に突出して設けられている。
【先行技術文献】
【特許文献】
【0003】
特開2023-42051号公報
【発明の概要】
【発明が解決しようとする課題】
【0004】
上記特許文献1の照明装置は、充電インレットの近傍に設置され、充電インレットよりも手前に突出して設けられているがゆえに、充電を行う際に充電コネクタがぶつかってしまう恐れがあり、改善の余地があった。
【0005】
そこで、本発明は、充電コネクタが照明ユニットにぶつかることを抑制できる照明構造を提供することを目的とする。
【課題を解決するための手段】
【0006】
本発明は、自動車に搭載される充電インレットと、照明ユニットと、インレットパネルと、を備え、前記インレットパネルは、平板部と、前記平板部から凹に形成されて前記充電インレットを収容した第1凹部と、前記平板部から凹に形成されて前記照明ユニットを収容した第2凹部と、を有し、前記第1凹部と前記第2凹部とは、互いに隣接配置されて互いに連通した空間とされており、前記照明ユニットは、照明用光源とインジケータ用光源とを収容した透光性のケースと、前記ケースに組み付けられた不透光性のカバーと、を備え、前記カバーは、前記平板部と面一に配置されて前記第2凹部を塞いだ塞ぎ板部と、前記第1凹部と前記第2凹部との境界部に配置された区画板部と、を有し、前記塞ぎ板部に、前記インジケータ用光源の光を通す通し部が設けられ、前記区画板部に、前記照明用光源の光を通す通し部が設けられていることを特徴とする照明構造である。
【発明の効果】
【0007】
本発明によれば、充電コネクタが照明ユニットにぶつかることを抑制できる。
【図面の簡単な説明】
【0008】
本発明の一実施形態にかかる照明構造の斜視図である。
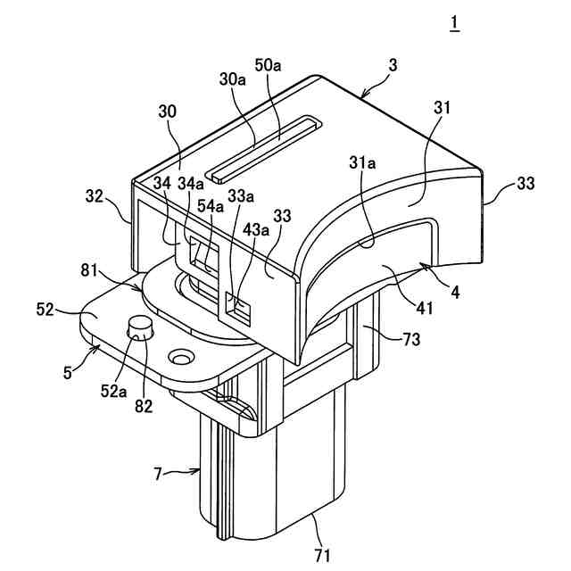
図1の照明ユニットの斜視図である。
図2の照明ユニットを上下逆向きにした斜視図である。
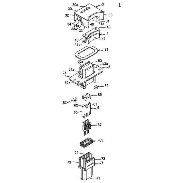
図2の照明ユニットの分解図である。
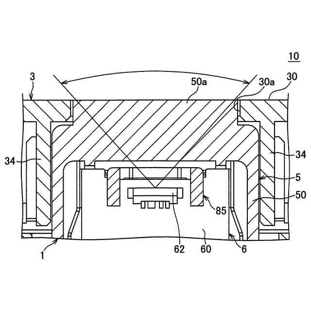
図1中のA-A線に沿った断面図である。
図5の照明ユニットをインレットパネルに取り付ける前の状態を示す図である。
図5中のB-B線に沿った断面図である。
図5中のC-C線に沿った断面図である。
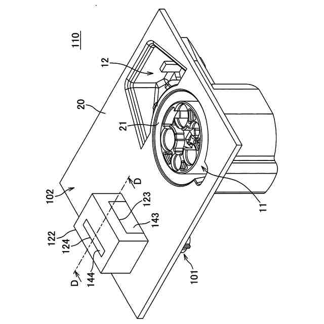
参考例の照明構造の斜視図である。
図9の照明ユニットの斜視図である。
図10の照明ユニットを上下逆向きにした斜視図である。
図10の照明ユニットの分解図である。
図9中のD-D線に沿った断面図である。
図13の照明ユニットをインレットパネルに取り付ける前の状態を示す図である。
図13中のE-E線に沿った断面図である。
図13中のF-F線に沿った断面図である。
【発明を実施するための形態】
【0009】
本発明の一実施形態にかかる「照明構造」について、図1~8を参照して説明する。
【0010】
図1,5~8に示す本例の照明構造10は、充電インレット11と、照明ユニット1と、インレットパネル2と、を備えている。
(【0011】以降は省略されています)
この特許をJ-PlatPat(特許庁公式サイト)で参照する
関連特許
矢崎総業株式会社
端子
1か月前
矢崎総業株式会社
電線
2か月前
矢崎総業株式会社
端子
1か月前
矢崎総業株式会社
箱状体
1か月前
矢崎総業株式会社
箱状体
1か月前
矢崎総業株式会社
雌端子
1か月前
矢崎総業株式会社
バスバ
1か月前
矢崎総業株式会社
導電体
2か月前
矢崎総業株式会社
導電体
2か月前
矢崎総業株式会社
照明灯
25日前
矢崎総業株式会社
コネクタ
1か月前
矢崎総業株式会社
コネクタ
1か月前
矢崎総業株式会社
コネクタ
25日前
矢崎総業株式会社
コネクタ
1か月前
矢崎総業株式会社
コネクタ
1か月前
矢崎総業株式会社
コネクタ
25日前
矢崎総業株式会社
コネクタ
1か月前
矢崎総業株式会社
コネクタ
1か月前
矢崎総業株式会社
コネクタ
25日前
矢崎総業株式会社
コネクタ
18日前
矢崎総業株式会社
コネクタ
2か月前
矢崎総業株式会社
配索構造
1か月前
矢崎総業株式会社
コネクタ
1か月前
矢崎総業株式会社
コネクタ
1か月前
矢崎総業株式会社
コネクタ
16日前
矢崎総業株式会社
照明装置
1か月前
矢崎総業株式会社
コネクタ
1か月前
矢崎総業株式会社
コネクタ
2か月前
矢崎総業株式会社
コネクタ
2か月前
矢崎総業株式会社
コネクタ
2か月前
矢崎総業株式会社
コネクタ
2か月前
矢崎総業株式会社
コネクタ
2か月前
矢崎総業株式会社
コネクタ
2か月前
矢崎総業株式会社
巻付装置
2か月前
矢崎総業株式会社
コネクタ
2か月前
矢崎総業株式会社
コネクタ
2か月前
続きを見る
他の特許を見る