TOP
|
特許
|
意匠
|
商標
特許ウォッチ
Twitter
他の特許を見る
公開番号
2025165003
公報種別
公開特許公報(A)
公開日
2025-11-04
出願番号
2024068830
出願日
2024-04-22
発明の名称
接続構造
出願人
矢崎総業株式会社
代理人
個人
,
個人
,
個人
主分類
H01R
4/34 20060101AFI20251027BHJP(基本的電気素子)
要約
【課題】端子と導通部材の設計を変更することなく、端子と導通部材の発熱を抑制することができる接続構造を提供する。
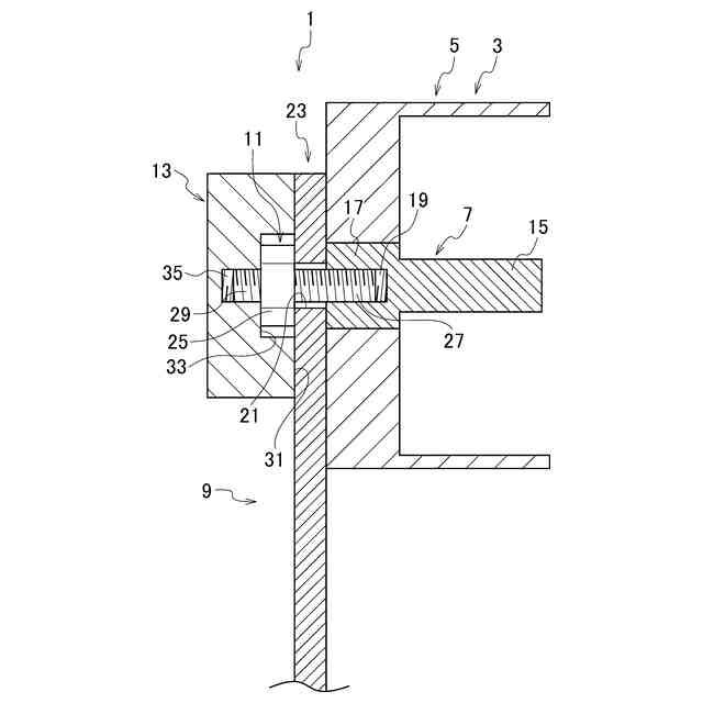
【解決手段】端子7と、端子7と接続部23を介して電気的に接続された導通部材9とを備えた接続構造1において、接続部23に、端子7及び導通部材9より熱容量が大きい蓄熱部材13を配置した。
【選択図】図1
特許請求の範囲
【請求項1】
端子と、
前記端子と接続部を介して電気的に接続された導通部材と、
を備え、
前記接続部には、前記端子及び前記導通部材より熱容量が大きい蓄熱部材が配置されている接続構造。
続きを表示(約 240 文字)
【請求項2】
前記蓄熱部材は、前記接続部における電流の流れ方向と直交する断面積を、前記端子及び前記導通部材の電流の流れ方向と直交する断面積より大きくさせる請求項1に記載の接続構造。
【請求項3】
前記導通部材は、バスバである請求項1又は2に記載の接続構造。
【請求項4】
前記接続部は、締結により前記端子と前記導通部材とを電気的に接続する締結部材を有し、
前記蓄熱部材は、前記締結部材に締結されている請求項1又は2に記載の接続構造。
発明の詳細な説明
【技術分野】
【0001】
本発明は、接続構造に関する。
続きを表示(約 1,800 文字)
【背景技術】
【0002】
従来、接続構造としては、端子と、端子と接続部を介して電気的に接続された導通部材とを備えたものが知られている(特許文献1参照)。この接続構造では、接続部が、ボルトとナットとを有する。この接続部では、端子と導通部材とが重ね合わされた状態で、端子と導通部材とを挟み込むように、ボルトとナットとが締結され、端子と導通部材とが電気的に接続される。
【先行技術文献】
【特許文献】
【0003】
特開2023-57197号公報
【発明の概要】
【発明が解決しようとする課題】
【0004】
ところで、上記特許文献1のような接続構造では、流れる電流によって、端子と導通部材とが発熱する。端子と導通部材との発熱を抑制するために、例えば、端子、或いは導通部材に熱容量の大きい部分を設け、熱容量の大きい部分で発生する熱を受け、発熱を抑制することが考えられる。しかしながら、端子に熱容量の大きな部分を設けてしまうと、端子に電気的に接続される相手端子との電気的な接続信頼性に影響を与える可能性がある。一方、導通部材の熱容量を大きくしてしまうと、導通部材のサイズが大型化し、導通部材の配置形状や配置スペースが大型化してしまい、周辺部材の配置レイアウトに影響を与える可能性がある。
【0005】
本発明は、このような従来技術が有する課題に鑑みてなされたものである。そして本発明の目的は、端子と導通部材の設計を変更することなく、端子と導通部材の発熱を抑制することができる接続構造を提供することにある。
【課題を解決するための手段】
【0006】
本実施形態に係る接続構造は、端子と、前記端子と接続部を介して電気的に接続された導通部材と、を備え、前記接続部には、前記端子及び前記導通部材より熱容量が大きい蓄熱部材が配置されている。
【発明の効果】
【0007】
本発明によれば、端子と導通部材の設計を変更することなく、端子と導通部材の発熱を抑制することができる接続構造を提供することができる。
【図面の簡単な説明】
【0008】
本実施形態に係る接続構造の断面図である。
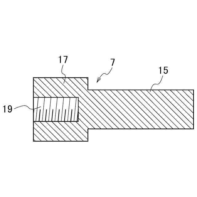
本実施形態に係る接続構造の端子の断面図である。
本実施形態に係る接続構造の締結部材の側面図である。
本実施形態に係る接続構造の蓄熱部材の断面図である。
本実施形態に係る接続構造の他例を示す断面図である。
本実施形態に係る接続構造の他例の端子の側面図である。
本実施形態に係る接続構造の他例の締結部材の側面図である。
本実施形態に係る接続構造の蓄熱部材の断面図である。
【発明を実施するための形態】
【0009】
以下、図面を用いて本実施形態に係る接続構造について詳細に説明する。なお、図面の寸法比率は説明の都合上誇張されており、実際の比率と異なる場合がある。
【0010】
図1に示すように、本実施形態に係る接続構造1は、例えば、電気自動車やハイブリッド自動車などの充電設備の充電コネクタ(不図示)が嵌合される車両用充電部に適用される。車両用充電部には、充電コネクタが嵌合されるコネクタ3が配置されている。コネクタ3は、合成樹脂などの絶縁性材料からなるハウジング5と、ハウジング5に収容された導電性材料からなる端子7とを有する。端子7は、導通部材9を介して車両に搭載された充電池やバッテリなどの電源(不図示)と電気的に接続されている。コネクタ3は、ハウジング5に充電コネクタが嵌合されることにより、端子7が充電コネクタの相手端子(不図示)と電気的に接続され、電源が充電される。車両に搭載される電源は、航続距離を向上させるために、近年、大容量であるものが増えている。大容量の電源は、充電時間が長く、充電時間を短縮するために、端子7及び導通部材9に大きな電流を流すことが考えられている。端子7及び導通部材9に大きな電流を流すと、端子7及び導通部材9の発熱量が多くなる。そこで、本実施形態に係る接続構造1は、端子7及び導通部材9の発熱を抑制できるようにしている。
(【0011】以降は省略されています)
この特許をJ-PlatPat(特許庁公式サイト)で参照する
関連特許
矢崎総業株式会社
端子
8日前
矢崎総業株式会社
箱状体
1日前
矢崎総業株式会社
照明灯
1か月前
矢崎総業株式会社
箱状体
28日前
矢崎総業株式会社
箱状体
28日前
矢崎総業株式会社
箱状体
1日前
矢崎総業株式会社
箱状体
1日前
矢崎総業株式会社
コネクタ
1か月前
矢崎総業株式会社
コネクタ
29日前
矢崎総業株式会社
コネクタ
29日前
矢崎総業株式会社
コネクタ
29日前
矢崎総業株式会社
コネクタ
今日
矢崎総業株式会社
コネクタ
28日前
矢崎総業株式会社
照明構造
1か月前
矢崎総業株式会社
コネクタ
27日前
矢崎総業株式会社
コネクタ
26日前
矢崎総業株式会社
コネクタ
22日前
矢崎総業株式会社
バスバー
19日前
矢崎総業株式会社
コネクタ
1か月前
矢崎総業株式会社
コネクタ
1か月前
矢崎総業株式会社
止水部材
1か月前
矢崎総業株式会社
コネクタ
1か月前
矢崎総業株式会社
照明装置
14日前
矢崎総業株式会社
コネクタ
1か月前
矢崎総業株式会社
コネクタ
1か月前
矢崎総業株式会社
コネクタ
1か月前
矢崎総業株式会社
コネクタ
1か月前
矢崎総業株式会社
コネクタ
1か月前
矢崎総業株式会社
コネクタ
1か月前
矢崎総業株式会社
コネクタ
1か月前
矢崎総業株式会社
コネクタ
1か月前
矢崎総業株式会社
コネクタ
1か月前
矢崎総業株式会社
コネクタ
2か月前
矢崎総業株式会社
コネクタ
2か月前
矢崎総業株式会社
コネクタ
2か月前
矢崎総業株式会社
報知装置
15日前
続きを見る
他の特許を見る