TOP
|
特許
|
意匠
|
商標
特許ウォッチ
Twitter
他の特許を見る
10個以上の画像は省略されています。
公開番号
2025147444
公報種別
公開特許公報(A)
公開日
2025-10-07
出願番号
2024047695
出願日
2024-03-25
発明の名称
コネクタ
出願人
矢崎総業株式会社
代理人
弁理士法人虎ノ門知的財産事務所
主分類
H01R
13/631 20060101AFI20250930BHJP(基本的電気素子)
要約
【課題】相手方コネクタに対し容易に接続可能とし電線の保護を行えるコネクタを提供する。
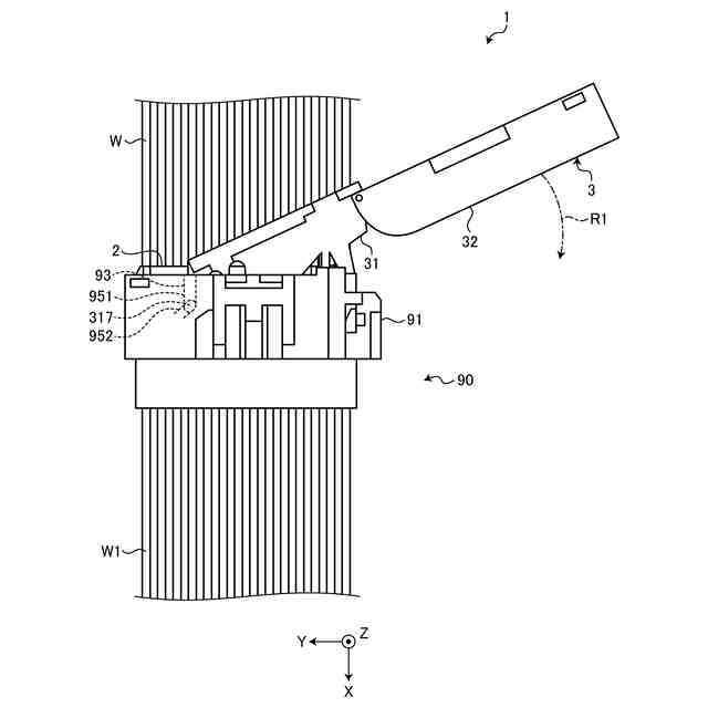
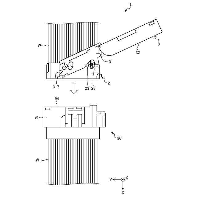
【解決手段】コネクタ1は、相手方コネクタ90の相手方ハウジング91に対し接続方向Xへ挿入されて嵌合されるハウジング2と、ハウジングに対し回動可能に取り付けられ、回動することによりハウジングを相手方ハウジングへ挿入させるレバー3と、を備え、レバーは、第一レバー部31及び第二レバー部32を有し、第一レバー部は、ハウジングに対し接続方向と交差する方向を中心に回動可能に取り付けられ、第二レバー部は、第一レバー部に対し回動可能に取り付けられ、第一レバー部に隣接する折り畳み位置から第一レバー部と直線状となる伸長位置まで回動可能とされ、ハウジングが相手方ハウジングに嵌合された状態で折り畳み位置に回動することによりハウジングから延びる電線Wを覆うように構成されている。
【選択図】図9
特許請求の範囲
【請求項1】
相手方コネクタの相手方ハウジングに対し接続方向へ挿入されて嵌合されるハウジングと、
前記ハウジングに対し回動可能に取り付けられ、回動することにより前記ハウジングを前記相手方ハウジングへ挿入させるレバーと、を備え、
前記レバーは、第一レバー部及び第二レバー部を有し、
前記第一レバー部は、前記ハウジングに対し前記接続方向と交差する方向を中心に回動可能に取り付けられ、
前記第二レバー部は、前記第一レバー部に対し回動可能に取り付けられ、前記第一レバー部に隣接する折り畳み位置から前記第一レバー部と直線状となる伸長位置まで回動可能とされ、前記ハウジングが前記相手方ハウジングに嵌合された状態で前記折り畳み位置に回動することにより前記ハウジングから延びる電線を覆う、
コネクタ。
続きを表示(約 150 文字)
【請求項2】
前記第二レバー部は、前記相手方ハウジングに形成される係止部に係合する被係止部を有し、
前記被係止部は、前記ハウジングが前記相手方ハウジングに対し適正に嵌合された状態で前記第二レバー部が前記折り畳み位置に回動した場合に前記係止部に係合する、
請求項1に記載のコネクタ。
発明の詳細な説明
【技術分野】
【0001】
本発明は、コネクタに関する。
続きを表示(約 1,900 文字)
【背景技術】
【0002】
従来、コネクタに関するものとして、例えば、特許文献1に記載されるように、端子を保持するハウジングと、ハウジングに対し回転可能に設けられるレバーとを備えたレバー式のコネクタが知られている。このコネクタは、相手方コネクタと接続する際に、レバーを相手方コネクタのハウジングに係合させ、レバーの操作により相手側コネクタに対する接合及び離脱を補助するものである。
【先行技術文献】
【特許文献】
【0003】
特開2018-073674号公報
【発明の概要】
【発明が解決しようとする課題】
【0004】
上述したコネクタにおいて、レバーを用いた接続力又は嵌合力をより向上させたい場合がある。例えば、端子の設置数が多くなると、相手方コネクタとの接続により強い操作力が必要となる。このため、相手方コネクタに対し容易に接続が可能となるコネクタを開発が望まれる。また、端子に接続されコネクタから延びる電線を適切に保護することが望まれる。
【0005】
そこで、本発明は、相手方コネクタに対し容易に接続可能とし電線の保護を行えるコネクタを提供することを目的とする。
【課題を解決するための手段】
【0006】
すなわち、本発明に係るコネクタは、相手方コネクタの相手方ハウジングに対し接続方向へ挿入されて嵌合されるハウジングと、前記ハウジングに対し回動可能に取り付けられ、回動することにより前記ハウジングを前記相手方ハウジングへ挿入させるレバーと、を備え、前記レバーは、第一レバー部及び第二レバー部を有し、前記第一レバー部は、前記ハウジングに対し前記接続方向と交差する方向を中心に回動可能に取り付けられ、前記第二レバー部は、前記第一レバー部に対し回動可能に取り付けられ、前記第一レバー部に隣接する折り畳み位置から前記第一レバー部と直線状となる伸長位置まで回動可能とされ、前記ハウジングが前記相手方ハウジングに嵌合された状態で前記折り畳み位置に回動することにより前記ハウジングから延びる電線を覆うように構成されている。
【発明の効果】
【0007】
本発明に係るコネクタによれば、相手方コネクタに対し容易に接続することができると共に、電線の保護を行うことができる。
【図面の簡単な説明】
【0008】
図1は、実施形態に係るコネクタの斜視図である。
図2は、実施形態に係るコネクタのハウジングの分解斜視図である。
図3は、実施形態に係るコネクタの第一レバー部の斜視図である。
図4は、実施形態に係るコネクタにおける第一レバー部の仮係止の説明図である。
図5は、実施形態に係るコネクタにおける第二レバー部の回動機構の説明図である。
図6は、実施形態に係るコネクタと接続される相手方コネクタの斜視図である。
図7は、実施形態に係るコネクタと接続される相手方コネクタの一部を切り欠いた状態の斜視図である。
図8は、実施形態に係るコネクタと相手方コネクタの接続の説明図である。
図9は、実施形態に係るコネクタと相手方コネクタの接続の説明図である。
図10は、実施形態に係るコネクタと相手方コネクタの接続の説明図である。
図11は、実施形態に係るコネクタと相手方コネクタの接続の説明図である。
【発明を実施するための形態】
【0009】
以下に、本発明に係る実施形態を図面に基づいて詳細に説明する。なお、この実施形態により本発明が限定されるものではない。また、下記実施形態における構成要素には、当業者が置換可能かつ容易なもの、あるいは実質的に同一のものが含まれる。
【0010】
[実施形態]
本実施形態は、コネクタに関する。以下の説明では、互いに交差する第一方向、第二方向、及び、第三方向のうち、第一方向を「接続方向X」といい、第二方向を「幅方向Y」といい、第三方向を「高さ方向Z」という。ここでは、接続方向Xと幅方向Yと高さ方向Zとは、相互に直交する。接続方向Xは、コネクタと相手方コネクタの接続方向又は嵌合方向に相当する。幅方向Yは、コネクタの幅方向に相当する。幅方向Yと高さ方向Zとは、接続方向Xと直交する直交方向に相当する。また、以下の説明で用いる各方向は、特に断りのない限り、各部が相互に組み付けられた状態での方向を表すものとする。なお、ここでいう直交は、ほぼ直交を含む。
(【0011】以降は省略されています)
この特許をJ-PlatPat(特許庁公式サイト)で参照する
関連特許
日本発條株式会社
積層体
12日前
個人
フレキシブル電気化学素子
1日前
ローム株式会社
半導体装置
10日前
ローム株式会社
半導体装置
10日前
個人
防雪防塵カバー
12日前
株式会社ユーシン
操作装置
1日前
ローム株式会社
半導体装置
8日前
ローム株式会社
半導体装置
3日前
ローム株式会社
半導体装置
10日前
株式会社ホロン
冷陰極電子源
8日前
株式会社GSユアサ
蓄電設備
1日前
個人
半導体パッケージ用ガラス基板
11日前
株式会社GSユアサ
蓄電設備
1日前
ニチコン株式会社
コンデンサ
24日前
株式会社GSユアサ
蓄電装置
12日前
株式会社ティラド
面接触型熱交換器
23日前
ニチコン株式会社
コンデンサ
24日前
オムロン株式会社
電磁継電器
2日前
太陽誘電株式会社
全固体電池
8日前
太陽誘電株式会社
コイル部品
1日前
株式会社GSユアサ
蓄電装置
8日前
日本特殊陶業株式会社
保持装置
12日前
日本特殊陶業株式会社
保持装置
10日前
ローム株式会社
電子装置
12日前
サクサ株式会社
電池の固定構造
1日前
日本特殊陶業株式会社
保持装置
8日前
日本特殊陶業株式会社
保持装置
8日前
TDK株式会社
電子部品
8日前
日東電工株式会社
積層体
2日前
トヨタ自動車株式会社
バッテリ
2日前
トヨタ自動車株式会社
蓄電装置
1日前
ノリタケ株式会社
熱伝導シート
1日前
マクセル株式会社
配列用マスク
23日前
トヨタ自動車株式会社
二次電池
12日前
住友電装株式会社
コネクタ
12日前
住友電装株式会社
コネクタ
12日前
続きを見る
他の特許を見る