TOP
|
特許
|
意匠
|
商標
特許ウォッチ
Twitter
他の特許を見る
10個以上の画像は省略されています。
公開番号
2025142788
公報種別
公開特許公報(A)
公開日
2025-10-01
出願番号
2024042349
出願日
2024-03-18
発明の名称
コネクタ
出願人
矢崎総業株式会社
代理人
弁理士法人栄光事務所
主分類
H01R
13/6593 20110101AFI20250924BHJP(基本的電気素子)
要約
【課題】アッパシェル及びロアシェル間の隙間を低減しつつ小型化を図ったコネクタを提供する
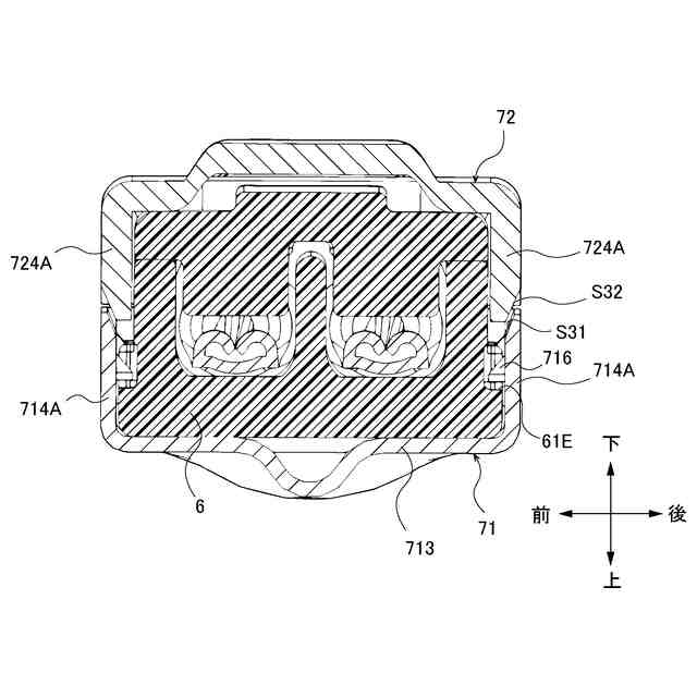
【解決手段】アッパシェル71が有する一対の第1立板部714A,714A先端の内面には、ロアシェル72に近づくに従って厚さが薄くなる第1傾斜面S31が設けられている。ロアシェル72が有する一対の第1立板部724A,724A先端の外面には、アッパシェル71に近づくに従って厚さが薄くなる第2傾斜面S32が設けられている。第1傾斜面S31及び第2傾斜面S32が相対するように、アッパシェル71が有する一対の第1立板部724A,724A先端と、ロアシェル72が有する一対の第1立板部724A,724A先端と、が厚さ方向に重なっている。
【選択図】図8
特許請求の範囲
【請求項1】
ケーブルの芯線に接続されるインナー端子と、
前記インナー端子を覆うインナーハウジングと、
前記インナーハウジングを覆うアウター端子と、を備えたコネクタであって、
前記アウター端子は、半分割された第1端子部及び第2端子部を有し、
前記第1端子部及び前記第2端子部は各々、底板と、前記底板の幅方向両側からから立設した一対の立板と、を有し、
前記第1端子部が有する一対の立板先端の内面には、前記第2端子部に近づくに従って厚さが薄くなる第1傾斜面が設けられ、
前記第2端子部が有する一対の立板先端の外面には、前記第1端子部に近づくに従って厚さが薄くなる第2傾斜面が設けられ、
前記第1傾斜面及び前記第2傾斜面が相対するように、前記第1端子部が有する一対の前記立板先端と、前記第2端子部が有する一対の前記立板先端と、が厚さ方向に重なっている、
コネクタ。
続きを表示(約 490 文字)
【請求項2】
請求項1に記載のコネクタにおいて、
前記第1端子部及び前記第2端子部は各々、前記ケーブルを加締めるケーブル加締め片を有し、
前記第1端子部及び前記第2端子部の一方の厚さを、他方の厚さよりも厚くする、
コネクタ。
【請求項3】
請求項1に記載のコネクタにおいて、
前記インナー端子は、前記ケーブルの芯線に接続される芯線加締め片と、相手端子と接続される端子接続部と、を有し、
前記インナーハウジングは、前記芯線加締め片を収容する第1収容部と、前記端子接続部を収容する第2収容部と、を有し、
前記第2収容部の幅が、前記第1収容部の幅よりも短く設けられ、
前記第1端子部の前記底板は、前記第2収容部を覆う部分の幅が、前記第1収容部を覆う部分の幅よりも短く設けられ、
一対の前記立板のうち前記第2収容部を覆う部分は、厚さが一定となる部分同士が、前記厚さ方向に重ねられ、
一対の前記立板のうち前記第1収容部を覆う部分に前記第1傾斜面及び前記第2傾斜面が設けられている、
コネクタ。
発明の詳細な説明
【技術分野】
【0001】
本発明は、コネクタに関する。
続きを表示(約 1,600 文字)
【背景技術】
【0002】
従来、特許文献1に記載されたコネクタが提案されている。コネクタは、芯線に接続される端子金具と、端子金具を収容する合成樹脂製の誘電体と、誘電体を覆う金属製の2分割された第1シェル及び第2シェル(=第1端子部及び第2端子部)と、を備えている。第1シェル及び第2シェルは、隙間をなくすために、第1シェルの外面を第2シェルにより覆っているため、第2シェルの板厚分だけコネクタが大きくなる、という課題があった。
【先行技術文献】
【特許文献】
【0003】
特開2019-149379号公報
【発明の概要】
【発明が解決しようとする課題】
【0004】
本発明は、上述した事情に鑑みてなされたものであり、その目的は、第1端子部及び第2端子部間の隙間を低減しつつ小型化を図ったコネクタを提供することにある。
【課題を解決するための手段】
【0005】
前述した目的を達成するために、本発明に係るコネクタは、下記を特徴としている。
ケーブルの芯線に接続されるインナー端子と、
前記インナー端子を覆うインナーハウジングと、
前記インナーハウジングを覆うアウター端子と、を備えたコネクタであって、
前記アウター端子は、半分割された第1端子部及び第2端子部を有し、
前記第1端子部及び前記第2端子部は各々、底板と、前記底板の幅方向両側からから立設した一対の立板と、を有し、
前記第1端子部が有する一対の立板先端の内面には、前記第2端子部に近づくに従って厚さが薄くなる第1傾斜面が設けられ、
前記第2端子部が有する一対の立板先端の外面には、前記第1端子部に近づくに従って厚さが薄くなる第2傾斜面が設けられ、
前記第1傾斜面及び前記第2傾斜面が相対するように、前記第1端子部が有する一対の前記立板先端と、前記第2端子部が有する一対の前記立板先端と、が厚さ方向に重なっている、
コネクタであること。
【発明の効果】
【0006】
本発明に係るコネクタによれば、第1端子部及び第2端子部間の隙間を低減しつつ小型化を図る、との効果を奏する。
【0007】
以上、本発明について簡潔に説明した。更に、以下に説明される発明を実施するための形態(以下、「実施形態」という。)を添付の図面を参照して通読することにより、本発明の詳細は更に明確化されるであろう。
【図面の簡単な説明】
【0008】
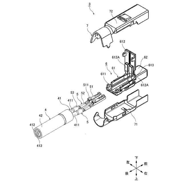
図1は、本発明のコネクタとしてのメスコネクタの一実施形態を示す分解斜視図である。
図2は、図1に示すメスモジュールの分解斜視図である。
図3は、図1に示すツイストペアケーブルにインナー端子及びインナーハウジングを取り付けた状態の斜視図である。
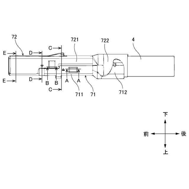
図4は、図1に示すツイストペアケーブルにインナー端子、インナーハウジング、アウター端子を取り付けた状態の側面図である。
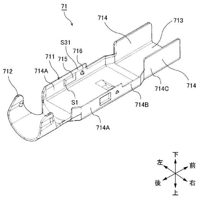
図5は、図2に示すアッパシェルの斜視図である。
図6は、図2に示すロアシェルの斜視図である。
図7は、図4のA-A線、B-B線部分断面図である。
図8は、図4のC-C線断面図である。
図9は、図4のD-D線断面図である。
図10は、図4のE-E線断面図である。
【発明を実施するための形態】
【0009】
本発明に関する具体的な実施形態について、各図を参照しながら以下に説明する。
【0010】
以下、説明の便宜上、図1~図10に示すように、「前」、「後」、「左」、「右」、「上」及び「下」を定義する。「前後方向」、「左右方向」及び「上下方向」は、互いに直交している。なお、左右方向が本発明の「幅方向」に相当する。
(【0011】以降は省略されています)
この特許をJ-PlatPat(特許庁公式サイト)で参照する
関連特許
矢崎総業株式会社
端子
1か月前
矢崎総業株式会社
端子
1か月前
矢崎総業株式会社
箱状体
1か月前
矢崎総業株式会社
バスバ
1か月前
矢崎総業株式会社
雌端子
1か月前
矢崎総業株式会社
箱状体
1か月前
矢崎総業株式会社
照明灯
22日前
矢崎総業株式会社
コネクタ
1か月前
矢崎総業株式会社
コネクタ
1か月前
矢崎総業株式会社
コネクタ
22日前
矢崎総業株式会社
コネクタ
27日前
矢崎総業株式会社
コネクタ
15日前
矢崎総業株式会社
コネクタ
15日前
矢崎総業株式会社
コネクタ
1か月前
矢崎総業株式会社
コネクタ
1か月前
矢崎総業株式会社
コネクタ
7日前
矢崎総業株式会社
コネクタ
13日前
矢崎総業株式会社
コネクタ
1か月前
矢崎総業株式会社
コネクタ
6日前
矢崎総業株式会社
照明装置
1か月前
矢崎総業株式会社
コネクタ
1か月前
矢崎総業株式会社
コネクタ
1日前
矢崎総業株式会社
コネクタ
1日前
矢崎総業株式会社
コネクタ
1か月前
矢崎総業株式会社
コネクタ
27日前
矢崎総業株式会社
コネクタ
22日前
矢崎総業株式会社
コネクタ
3日前
矢崎総業株式会社
コネクタ
1か月前
矢崎総業株式会社
配索構造
1か月前
矢崎総業株式会社
コネクタ
27日前
矢崎総業株式会社
コネクタ
22日前
矢崎総業株式会社
電気接続箱
1か月前
矢崎総業株式会社
電気接続箱
6日前
矢崎総業株式会社
電流センサ
24日前
矢崎総業株式会社
電気接続箱
23日前
矢崎総業株式会社
電気接続箱
1か月前
続きを見る
他の特許を見る