TOP
|
特許
|
意匠
|
商標
特許ウォッチ
Twitter
他の特許を見る
10個以上の画像は省略されています。
公開番号
2024174721
公報種別
公開特許公報(A)
公開日
2024-12-17
出願番号
2023092704
出願日
2023-06-05
発明の名称
弁箱用の消失模型
出願人
株式会社クボタ
代理人
個人
,
個人
主分類
B22C
7/02 20060101AFI20241210BHJP(鋳造;粉末冶金)
要約
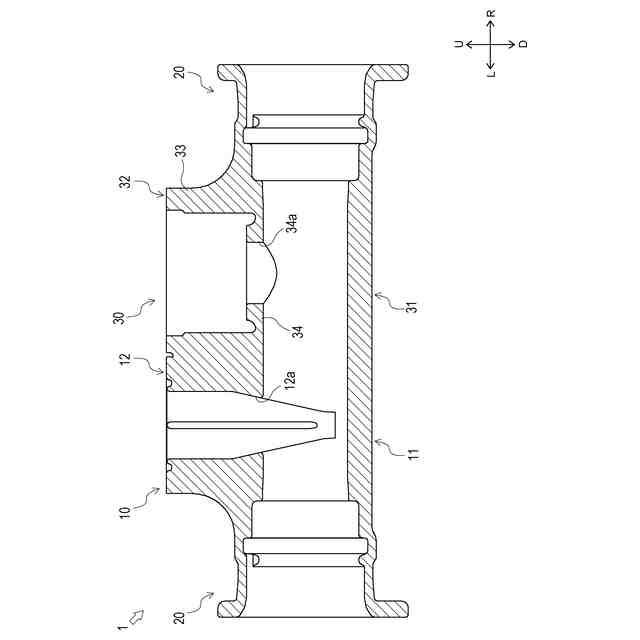
【課題】計測機器を収容可能な収容部を有する弁箱を好適に製造することができる弁箱用の消失模型を提供する。
【解決手段】鋳型4内に配置され、溶湯と置換されることで弁箱100を製造可能な弁箱用の消失模型1であって、弁体2を収容可能な弁本体部110に対応する弁本体形成部10と、継手120に対応する継手形成部20と、前記弁本体形成部10と前記継手形成部20との間に配置され、センサ3を収容可能な収容部130に対応する収容部形成部30と、を具備する。
【選択図】図1
特許請求の範囲
【請求項1】
鋳型内に配置され、溶湯と置換されることで弁箱を製造可能な弁箱用の消失模型であって、
弁体を収容可能な弁本体部に対応する弁本体形成部と、
継手に対応する継手形成部と、
前記弁本体形成部と前記継手形成部との間に配置され、計測機器を収容可能な収容部に対応する収容部形成部と、
を具備する弁箱用の消失模型。
続きを表示(約 340 文字)
【請求項2】
前記収容部形成部は、
流体が流通する流路部に対応する流路部形成部と、
前記流路部と区画される区画部に対応する区画部形成部と、
前記流路部と前記区画部とを区画する壁部に対応する壁部形成部と、
を具備し、
前記壁部形成部は、
前記流路部形成部と前記区画部形成部とを連通する孔部を具備している、
請求項1に記載の弁箱用の消失模型。
【請求項3】
前記弁本体形成部、前記継手形成部、及び、前記収容部形成部は、互いに接合されており、
前記継手形成部は、
前記弁本体形成部及び前記収容部形成部のいずれにも接合可能な接合面を有している、
請求項1又は請求項2に記載の弁箱用の消失模型。
発明の詳細な説明
【技術分野】
【0001】
本発明は、弁箱用の消失模型の技術に関する。
続きを表示(約 1,300 文字)
【背景技術】
【0002】
従来、水道管等の管路(流路)内の情報を取得する方法として、水質監視装置や流量計等の専用機器を流路の中途部に設置して恒久的に情報を取得する方法や、既存の消火栓等を介して各種センサを一時的に流路内に導入して情報を取得する方法がある。
【0003】
しかしながら、前者の方法では、設置費用が比較的高く、また専用の設置スペースが必要になる場合もあるため、管路網の情報を広範囲に取得することは困難である。また後者の方法では、限られた期間と場所での情報の取得は可能であるものの、管路網の情報を広範囲かつ恒久的に取得することは困難である。
【0004】
ここで、水道管等の管路には、流体の流路を開閉するバルブが適宜設けられる。一般的なバルブとしては、特許文献1に記載のようなバルブが知られている。このようなバルブは管路網において多数設置されているため、このバルブを用いて流路内の情報を取得することができれば、管路網の情報を広範囲かつ恒久的に取得することができる。このため、流路内の情報を取得する計測機器を収容可能なバルブが望まれる。
【0005】
このようなバルブを構成する弁箱の製造方法としては、消失模型を用いた鋳造方法が一般的に知られている。このため、計測機器を収容可能な収容部を有する弁箱を好適に製造することができる消失模型が望まれる。
【先行技術文献】
【特許文献】
【0006】
特許第6066722号公報
【発明の概要】
【発明が解決しようとする課題】
【0007】
本開示の一態様は、以上の如き状況に鑑みてなされたものであり、その解決しようとする課題は、計測機器を収容可能な収容部を有する弁箱を好適に製造することができる弁箱用の消失模型を提供することである。
【課題を解決するための手段】
【0008】
本発明の解決しようとする課題は以上の如くであり、次にこの課題を解決するための手段を説明する。
【0009】
本開示の一態様に係る弁箱用の消失模型は、鋳型内に配置され、溶湯と置換されることで弁箱を製造可能な弁箱用の消失模型であって、弁体を収容可能な弁本体部に対応する弁本体形成部と、継手に対応する継手形成部と、前記弁本体形成部と前記継手形成部との間に配置され、計測機器を収容可能な収容部に対応する収容部形成部と、
を具備するものである。
本開示の一態様によれば、計測機器を収容可能な収容部を有する弁箱を好適に製造することができる。
【0010】
本開示の一態様に係る前記収容部形成部は、流体が流通する流路部に対応する流路部形成部と、前記流路部と区画される区画部に対応する区画部形成部と、前記流路部と前記区画部とを区画する壁部に対応する壁部形成部と、を具備し、前記壁部形成部は、前記流路部形成部と前記区画部形成部とを連通する孔部を具備しているものである。
本開示の一態様によれば、計測機器を収容可能な収容部を有する弁箱を好適に製造することができる。
(【0011】以降は省略されています)
この特許をJ-PlatPat(特許庁公式サイト)で参照する
関連特許
株式会社クボタ
作業車
今日
株式会社クボタ
作業機
12日前
株式会社クボタ
作業機
2か月前
株式会社クボタ
作業機
1か月前
株式会社クボタ
作業車
1か月前
株式会社クボタ
作業車
29日前
株式会社クボタ
田植機
26日前
株式会社クボタ
作業車
23日前
株式会社クボタ
田植機
23日前
株式会社クボタ
田植機
23日前
株式会社クボタ
作業車
23日前
株式会社クボタ
作業車
今日
株式会社クボタ
作業車
22日前
株式会社クボタ
作業機
22日前
株式会社クボタ
作業車
2日前
株式会社クボタ
作業車両
2日前
株式会社クボタ
トラクタ
1か月前
株式会社クボタケミックス
伸縮継手
1か月前
株式会社クボタ
作業車両
2日前
株式会社クボタ
作業車両
2日前
株式会社クボタ
作業車両
2日前
株式会社クボタ
作業車両
2日前
株式会社クボタ
作業車両
2日前
株式会社クボタ
作業車両
2日前
株式会社クボタ
作業車両
2日前
株式会社クボタ
作業車両
2日前
株式会社クボタ
作業車両
2か月前
株式会社クボタ
トラクタ
1か月前
株式会社クボタ
作業車両
2か月前
株式会社クボタ
水田作業機
2か月前
株式会社クボタ
圃場作業車
21日前
株式会社クボタ
圃場作業機
1か月前
株式会社クボタ
圃場作業車
23日前
株式会社クボタ
汚水処理装置
2か月前
株式会社クボタ
サトウキビ収穫機
22日前
株式会社クボタ
サトウキビ収穫機
22日前
続きを見る
他の特許を見る