TOP
|
特許
|
意匠
|
商標
特許ウォッチ
Twitter
他の特許を見る
10個以上の画像は省略されています。
公開番号
2025123825
公報種別
公開特許公報(A)
公開日
2025-08-25
出願番号
2024019530
出願日
2024-02-13
発明の名称
パウチ・ボトル兼用グリッパ
出願人
澁谷工業株式会社
代理人
個人
,
個人
主分類
B65B
43/16 20060101AFI20250818BHJP(運搬;包装;貯蔵;薄板状または線条材料の取扱い)
要約
【課題】パウチとボトルを1つの容器処理システムで処理することを可能とするグリッパを提供する。
【解決手段】パウチ・ボトル兼用グリッパ15は、1対のアーム部材48A、48Bと、アーム部材48A、48Bを移動させる搬送コンベヤと、アーム部材48A、48Bの移動方向の間隔を調整する間隔調整手段とを備え、アーム部材48A、48Bは、パウチPの両端を把持する1対のパウチグリッパ15Aと、ボトルBを把持するボトルグリッパ15Bを構成する1対のグリッパ片50A、50Bと、1対のパウチグリッパ15Aを開閉するリンク機構58とを備える。パウチグリッパ15Aとボトルグリッパ15Bは、上記移動方向と交差する方向にずれて配置され、間隔調整手段は、1対のパウチグリッパ15Aの間隔をパウチPの幅に合わせて調整可能であるとともに、1対のグリッパ片50A、50Bの間隔をボトルBの幅に合わせて調整可能である。
【選択図】図4
特許請求の範囲
【請求項1】
1対のアーム部材と、
前記1対のアーム部材を無端状の循環経路に沿って移動させる移動手段と、
前記1対のアーム部材の移動方向の間隔を調整する間隔調整手段とを備え、
前記1対のアーム部材は、
パウチの両端を把持する1対のパウチグリッパと、
ボトルを把持するボトルグリッパを構成する1対のグリッパ片と、
前記1対のパウチグリッパを開閉する開閉手段とを備え、
前記1対のパウチグリッパと前記ボトルグリッパは、前記1対のアーム部材において前記移動方向と交差する方向にずれて配置され、
前記間隔調整手段は、前記1対のパウチグリッパの間隔をパウチの幅に合わせて調整可能であるとともに、前記1対のグリッパ片の間隔をボトルの幅に合わせて調整可能である
ことを特徴とするパウチ・ボトル兼用グリッパ。
発明の詳細な説明
【技術分野】
【0001】
本発明は、容器を保持・搬送するためのグリッパに関する。
続きを表示(約 2,300 文字)
【背景技術】
【0002】
包装体(パウチ)を移送しながら内容物を充填し、シールする装置が知られている(特許文献1)。同装置では、包装体の開口部両端が回転テーブルの外周に沿って設けられたグリッパーユニットで把持される。グリッパーユニットに把持される包装体は回転テーブル外周に沿って移送され、その間に開口部を通して内容物が充填され、その後開口部がシールされる。一方、ボトルなどの容器に内容物を充填しキャッピングを行う装置では、グリッパによりボトルの胴部を両側から把持して搬送し、その間にボトルへの充填、キャッピングを行う装置が知られている(特許文献2)。
【先行技術文献】
【特許文献】
【0003】
特許第6971935号公報
特開第2022-187776号公報
【発明の概要】
【発明が解決しようとする課題】
【0004】
しかし、洗剤等のトイレタリー製品では同じ製品をボトルやパウチに詰めて販売することが多くなっている。特許文献1、2のような従来の装置ではパウチ用とボトル用それぞれ専用のグリッパを設けた別個の処理システムが必要となる。パウチおよびボトルで1つの処理システムを兼用しようとする場合、パウチ用グリッパとボトル用グリッパを交換することが考えられるが、交換作業に時間がかかるとともに、交換グリッパをストックするスペースが必要となる。
【0005】
本発明は、パウチとボトルを1つの容器処理システムで処理することを可能とするグリッパを提供することを課題としている。
【課題を解決するための手段】
【0006】
本発明の第1の発明であるパウチ・ボトル兼用グリッパは、1対のアーム部材と、前記1対のアーム部材を無端状の循環経路に沿って移動させる移動手段と、前記1対のアーム部材の移動方向の間隔を調整する間隔調整手段とを備え、前記1対のアーム部材は、パウチの両端を把持する1対のパウチグリッパと、ボトルを把持するボトルグリッパを構成する1対のグリッパ片と、前記1対のパウチグリッパを開閉する開閉手段とを備え、前記一対のパウチグリッパと前記ボトルグリッパは、前記1対のアーム部材において前記移動方向と交差する方向にずれて配置され、前記間隔調整手段は、前記1対のパウチグリッパの間隔をパウチの幅に合わせて調整可能であるとともに、前記1対のグリッパ片の間隔をボトルの幅に合わせて調整可能であることを特徴としている。
【発明の効果】
【0007】
本発明によれば、パウチとボトルを1つの容器処理システムで処理することを可能とするグリッパを提供することができる。
【図面の簡単な説明】
【0008】
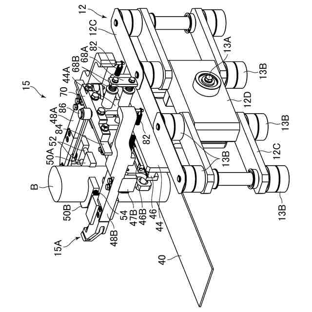
本発明の一実施形態である容器処理システムの構成を示すパウチ処理モードにおける平面図である。
本発明の一実施形態である容器処理システムの構成を示すボトル処理モードにおける平面図である。
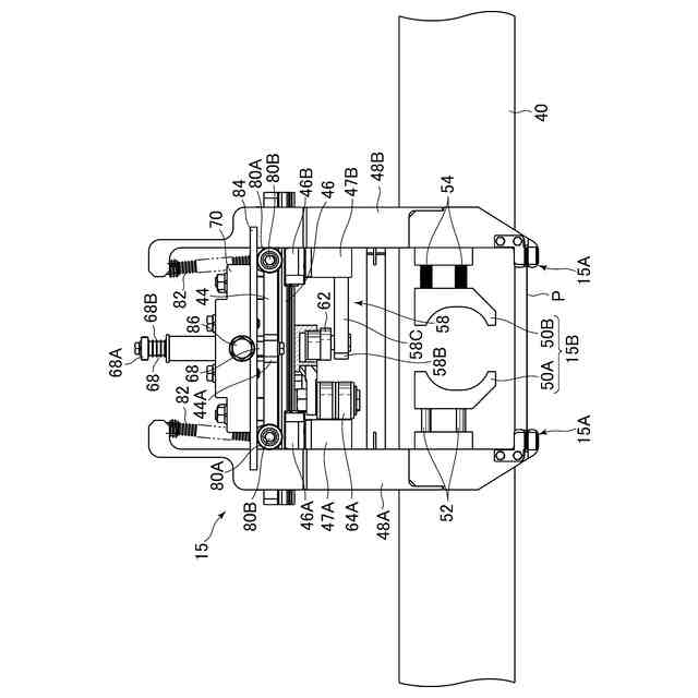
パウチを把持するパウチ・ボトル兼用グリッパの上面図である。
パウチを把持するパウチ・ボトル兼用グリッパの搬送コンベヤ外側からの上方斜視図である。
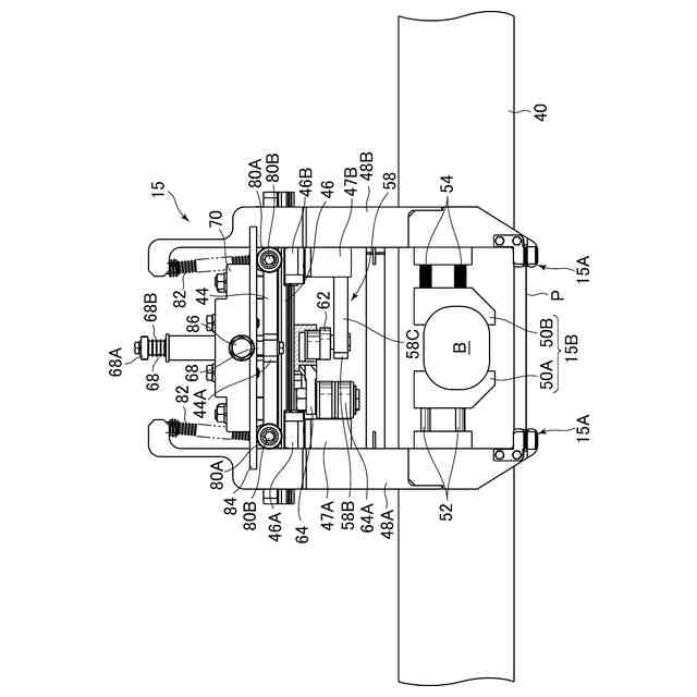
ボトルを把持するパウチ・ボトル兼用グリッパの上面図である。
ボトルを把持するパウチ・ボトル兼用グリッパの搬送コンベヤ外側からの上方斜視図である。
ボトルを把持するパウチ・ボトル兼用グリッパの搬送コンベヤ内側からの上方斜視図である。
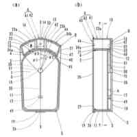
一対のアーム部材が狭められた状態のパウチ・ボトル兼用グリッパの正面図である。
一対のアーム部材が広げられた状態のパウチ・ボトル兼用グリッパの正面図である。
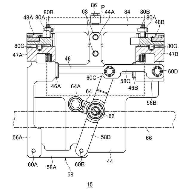
パウチグリッパの開閉動作を説明するパウチ・ボトル兼用グリッパの下面図である。
パウチ供給区間における搬送コンベヤの搬送方向に直交する方向に沿った容器処理システムの部分断面図である。
ボトル供給区間における搬送コンベヤの搬送方向に直交する方向に沿った容器処理システムの部分断面図である。
パウチ処理モードにおいて、充填機からパウチへ内容物が充填される様子を示す縦断面図である。
ボトル処理モードにおいて、充填機からボトルへ内容物が充填される様子を示す縦断面図である。
【発明を実施するための形態】
【0009】
以下、本発明の実施の形態を、図面を参照して説明する。図1、図2は、本発明の一実施形態であるパウチ・ボトル兼用グリッパを採用した容器処理システムの構成を示す平面図である。図1は、パウチ容器を処理する場合(パウチ処理モード)における平面図であり、図2は、ボトル容器を処理する場合(ボトル処理モード)における平面図である。
【0010】
図1、図2に示されるように、本実施形態の容器処理システム10は、例えば垂直軸周りに回転する2つのスプロケット12A、12Bに無端チェーン12Cが掛け回される搬送コンベヤ(移動手段)12を備える。無端チェーン12Cの外周部には、経路に沿って所定間隔で本実施形態のパウチ・ボトル兼用グリッパ(保持手段)15が多数設けられる。搬送コンベヤ12では、処理対象となるパウチPまたはボトルBがパウチ・ボトル兼用グリッパ15により保持され、無端状の循環経路に沿って間欠搬送される。パウチPまたはボトルBは後述するように所定数(4個)を単位に間欠搬送され、搬送中に充填、シーリング、キャッピングなどが適宜行われる。
(【0011】以降は省略されています)
この特許をJ-PlatPat(特許庁公式サイト)で参照する
関連特許
個人
バンド
1か月前
個人
廃棄物収容容器
2か月前
個人
包装容器
26日前
株式会社バンダイ
物品
7日前
個人
積み重ね用補助具
2か月前
三甲株式会社
容器
1か月前
個人
介護用コップ
1か月前
株式会社デュプロ
包装装置
2か月前
個人
簡単レジ袋オープナー
2か月前
個人
ブリスタ包装体
1か月前
個人
容器
1か月前
個人
異常検知式部品供給装置
1か月前
株式会社トーモク
包装箱
1か月前
三甲株式会社
容器
1か月前
三甲株式会社
容器
1か月前
株式会社高木包装
搬送箱
16日前
株式会社カネカ
積層装置
16日前
日清食品株式会社
ピロー包装機
1か月前
株式会社トーモク
包装箱
12日前
くら寿司株式会社
整列装置
2か月前
新輝合成株式会社
くず入れ
6日前
村田機械株式会社
糸巻取機
1か月前
靜甲株式会社
容器搬送装置
1か月前
伊東電機株式会社
搬送装置
5日前
靜甲株式会社
容器整列装置
2か月前
靜甲株式会社
容器整列装置
1か月前
伊東電機株式会社
搬送装置
27日前
個人
袋体の自立保持シート
19日前
花王株式会社
組立体
26日前
株式会社SANKA
収納容器
1か月前
株式会社吉野工業所
排出容器
1か月前
株式会社吉野工業所
吐出容器
1か月前
株式会社吉野工業所
吐出容器
2か月前
株式会社三協システム
製函機
1か月前
三甲株式会社
パレット
2か月前
三甲株式会社
パレット
2か月前
続きを見る
他の特許を見る