TOP
|
特許
|
意匠
|
商標
特許ウォッチ
Twitter
他の特許を見る
10個以上の画像は省略されています。
公開番号
2025144873
公報種別
公開特許公報(A)
公開日
2025-10-03
出願番号
2024044771
出願日
2024-03-21
発明の名称
熱管理システム
出願人
トヨタ自動車株式会社
代理人
弁理士法人深見特許事務所
主分類
B60L
58/26 20190101AFI20250926BHJP(車両一般)
要約
【課題】リザーブタンクを用いて第1流路および第2流路に気泡が混入(残留)するのを抑制することが可能な熱管理システムを提供する。
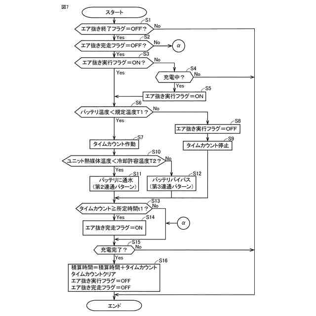
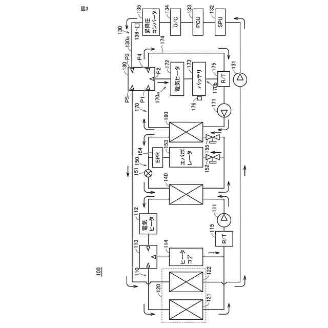
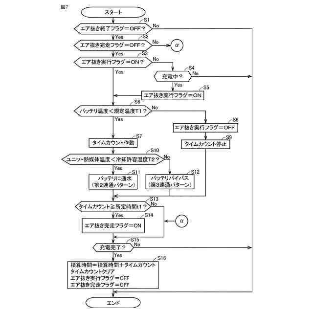
【解決手段】熱管理システム1は、熱媒体が流通する流路130a(第1流路)と、熱媒体が流通する流路170a(第2流路)と、流路170aに設けられたリザーブタンク175と、熱媒体を循環させるウォータポンプ171(131)と、五方弁180(切替装置)とを備える。熱管理システム1は、流路170aと流路130aとが切り離された状態で電動車両10(電気機器)の充電が開始された場合に、上記充電の実行時に流路170aと流路130aとを五方弁180により接続するとともにウォータポンプ171(131)を駆動することにより、流路170aおよび流路130aに対するエア抜き処理A(第1エア抜き処理)を実行する。
【選択図】図7
特許請求の範囲
【請求項1】
充電可能な電気機器に設けられた熱管理システムであって、
熱媒体が流通する第1流路と、
熱媒体が流通するとともにリザーブタンクが設けられた第2流路と、
前記第1流路と前記第2流路との接続状態を切り替え可能な切替装置と、
前記第1流路と前記第2流路とが接続された状態で、前記第1流路および前記第2流路の各々において熱媒体を循環させるポンプと、を備え、
前記第1流路と前記第2流路とが切り離された状態で前記電気機器の充電が開始された場合に、前記充電の実行時に前記第1流路と前記第2流路とを前記切替装置により接続するとともに前記ポンプを駆動することにより、前記第1流路および前記第2流路に対する第1エア抜き処理を実行する、熱管理システム。
続きを表示(約 1,100 文字)
【請求項2】
前記第1エア抜き処理が第1時間以上継続された場合に、前記第1エア抜き処理を終了する、請求項1に記載の熱管理システム。
【請求項3】
前記第1流路および前記第2流路の一方を流通する熱媒体と熱交換される第1蓄電装置と、
前記第1流路および前記第2流路の他方を流通する熱媒体と熱交換される、駆動力を発生可能な第1駆動装置と、をさらに備える、請求項1または2に記載の熱管理システム。
【請求項4】
前記第1エア抜き処理の実行時に、前記第1蓄電装置の温度が第1温度以上の場合に、前記第1エア抜き処理を停止する、請求項3に記載の熱管理システム。
【請求項5】
少なくとも前記第1流路のうち前記第1蓄電装置と熱媒体との熱交換が行われる部分をバイパスするバイパス経路をさらに備え、
前記第1エア抜き処理の実行時に、前記第2流路を流通する熱媒体の温度が第2温度以上の場合に、前記部分に熱媒体を流通させずに前記バイパス経路に熱媒体を流通させる、請求項3に記載の熱管理システム。
【請求項6】
前記第1流路と前記第2流路とが接続された状態で前記ポンプが駆動された積算時間が第2時間を超えた場合に、前記第1エア抜き処理は実行されない、請求項1または2に記載の熱管理システム。
【請求項7】
前記積算時間は、前記第1エア抜き処理が実行された第1積算時間と、前記電気機器において前記充電以外の制御が実行されている間に前記第1流路と前記第2流路とが接続された状態で前記ポンプが駆動された第2積算時間との合計値である、請求項6に記載の熱管理システム。
【請求項8】
前記第1エア抜き処理が実行されない状態で前記電気機器を流通する熱媒体が交換された場合に、前記第1エア抜き処理の実行が可能な状態にされる、請求項1または2に記載の熱管理システム。
【請求項9】
前記第1エア抜き処理が開始されてから前記第1時間が経過する前に前記充電が終了した場合に、前記充電の終了後に前記第1流路と前記第2流路とを接続するとともに前記ポンプを駆動することにより、前記第1流路および前記第2流路に対する第2エア抜き処理を実行する、請求項2に記載の熱管理システム。
【請求項10】
前記充電の開始時における前記第1蓄電装置の温度が第3温度以上の場合に、前記充電の終了後に前記第1流路と前記第2流路とを接続するとともに前記ポンプを駆動することにより、前記第1流路および前記第2流路に対する第3エア抜き処理を実行する、請求項3に記載の熱管理システム。
(【請求項11】以降は省略されています)
発明の詳細な説明
【技術分野】
【0001】
本開示は、熱管理システムに関する。
続きを表示(約 1,700 文字)
【背景技術】
【0002】
特開2023-063735号公報(特許文献1)には、PCUが接続される経路と、バッテリが接続される経路と、リザーブタンクと、冷却液の流通経路を切り替える五方弁とが設けられる冷却液回路を備える温度制御システムが開示されている。
【先行技術文献】
【特許文献】
【0003】
特開2023-063735号公報
【発明の概要】
【発明が解決しようとする課題】
【0004】
ここで、上記特許文献1には明記されていないが、五方弁の状態を制御することにより、PCUが接続される経路(第1流路)またはバッテリが接続される経路(第2流路)と、リザーブタンクとが接続されない回路が一時的に形成される場合がある。この場合、リバーブタンクと接続されていない経路において気泡が混入(残留)する恐れがある。
【0005】
本開示は、上記課題を解決するためになされたものであり、その目的は、リザーブタンクを用いて第1流路および第2流路に気泡が混入(残留)するのを抑制することが可能な熱管理システムを提供することである。
【課題を解決するための手段】
【0006】
本開示の一の局面に係る熱管理システムは、充電可能な電気機器に設けられた熱管理システムであって、熱媒体が流通する第1流路と、熱媒体が流通するとともにリザーブタンクが設けられた第2流路と、第1流路と第2流路との接続状態を切り替え可能な切替装置と、第1流路と第2流路とが接続された状態で、第1流路および第2流路の各々において熱媒体を循環させるポンプと、を備える。熱管理システムは、第1流路と第2流路とが切り離された状態で電気機器の充電が開始された場合に、充電の実行時に第1流路と第2流路とを切替装置により接続するとともにポンプを駆動することにより、第1流路および第2流路に対する第1エア抜き処理を実行する。
【0007】
本開示の一の局面に係る熱管理システムでは、上記のように、第1流路と第2流路とが切り離された状態で電気機器の充電が開始された場合に第1流路および第2流路に対する第1エア抜き処理が実行される。これにより、電気機器の充電時に第1流路および第2流路の各々においてエア抜きが行われる。その結果、リザーブタンクを用いて、第1流路および第2流路の各々に気泡が混入(残留)するのを抑制することができる。
【0008】
また、充電時に第1エア抜き処理が実行されることによって、充電終了後における気泡の混入量(残留量)を第1エア抜き処理の実行前における気泡の混入量(残留量)よりも小さくすることができる。その結果、充電終了後に電気機器においてエア抜きが必要となることに起因して電気機器の使用が制限されるのを抑制することができる。
【0009】
上記一の局面に係る熱管理システムにおいて、好ましくは、第1エア抜き処理が第1時間以上継続された場合に、第1エア抜き処理を終了する。このように構成すれば、第1エア抜き処理が第1時間以上継続されるのを防止することができる。その結果、1回の第1エア抜き処理の実行に要する時間を比較的短くすることができる。なお、エア抜き処理が第1時間以上継続されるとは、1回の第1エア抜き処理の間にエア抜きが途中で中断された後に再開され、1回の第1エア抜き処理の実行時間(積算時間)が第1時間以上になる場合をも含む。
【0010】
上記一の局面に係る熱管理システムは、好ましくは、第1流路および第2流路の一方を流通する熱媒体と熱交換される第1蓄電装置と、第1流路および第2流路の他方を流通する熱媒体と熱交換される、駆動力を発生可能な第1駆動装置と、を備える。このように構成すれば、充電時に第1流路および第2流路の各々に気泡が混入(残留)するのを抑制することにより、充電時に第1蓄電装置および第1駆動装置の各々を熱媒体により効率的に冷却することができる。
(【0011】以降は省略されています)
この特許をJ-PlatPat(特許庁公式サイト)で参照する
関連特許
トヨタ自動車株式会社
車両
今日
トヨタ自動車株式会社
車両
今日
トヨタ自動車株式会社
電動車
今日
トヨタ自動車株式会社
電解液
今日
トヨタ自動車株式会社
回転子
今日
トヨタ自動車株式会社
電動車
今日
トヨタ自動車株式会社
電動車
今日
トヨタ自動車株式会社
切断装置
今日
トヨタ自動車株式会社
電源装置
今日
トヨタ自動車株式会社
蓄電装置
今日
トヨタ自動車株式会社
育苗装置
1日前
トヨタ自動車株式会社
駆動装置
今日
トヨタ自動車株式会社
蓄電セル
今日
トヨタ自動車株式会社
制御装置
今日
トヨタ自動車株式会社
電動車両
今日
トヨタ自動車株式会社
蓄電装置
1日前
トヨタ自動車株式会社
蓄電装置
1日前
トヨタ自動車株式会社
電気自動車
今日
トヨタ自動車株式会社
電極積層体
1日前
トヨタ自動車株式会社
積層構造体
今日
トヨタ自動車株式会社
電池パック
今日
トヨタ自動車株式会社
シフト機構
今日
トヨタ自動車株式会社
情報処理装置
今日
トヨタ自動車株式会社
水素貯蔵装置
1日前
トヨタ自動車株式会社
駐車支援方法
今日
トヨタ自動車株式会社
コネクタ構造
今日
トヨタ自動車株式会社
車両診断装置
今日
トヨタ自動車株式会社
充電システム
今日
トヨタ自動車株式会社
車両制御装置
1日前
トヨタ自動車株式会社
空間評価装置
今日
トヨタ自動車株式会社
車両制御装置
今日
トヨタ自動車株式会社
熱管理システム
今日
トヨタ自動車株式会社
熱管理システム
今日
トヨタ自動車株式会社
重量物収容装置
今日
トヨタ自動車株式会社
車両の制御装置
1日前
トヨタ自動車株式会社
車載用制御装置
1日前
続きを見る
他の特許を見る