TOP
|
特許
|
意匠
|
商標
特許ウォッチ
Twitter
他の特許を見る
10個以上の画像は省略されています。
公開番号
2025062318
公報種別
公開特許公報(A)
公開日
2025-04-14
出願番号
2023171293
出願日
2023-10-02
発明の名称
座屈拘束ブレース
出願人
学校法人神奈川大学
,
大和ハウス工業株式会社
代理人
個人
主分類
E04B
1/58 20060101AFI20250407BHJP(建築物)
要約
【課題】建物に装着された座屈拘束ブレースが荷重を受けた際に収容凹部の近傍箇所の硬化部材に亀裂が生じることを抑制する。
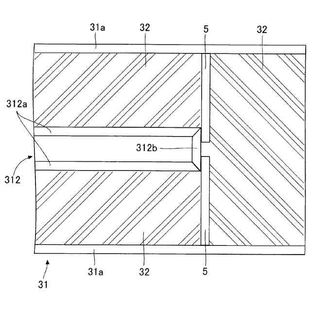
【解決手段】座屈拘束ブレース1は、板状体21の長辺方向の両端に当該板状体21に交差配置で板片部22bが固定された芯材2と、板状体21の弱軸方向に直交する各面に対向して配置される拘束材3と、を備える。拘束材3は、対向する対向面部、対向面部31a間で芯材2の位置する側に形成された開口、および板片部22bの内端側を収容するように当該板片部22bに対面する一対の立壁部312aによる収容凹部312を有する箱状部材31と、この箱状部材31内に充填されて硬化した硬化部材32と、収容凹部312の奥端側の箇所と対向面部31aの内側面との間に位置し、対向面部31aと立壁部312aと端壁部311とによって硬化部材32を囲む囲い板5と、を備える。
【選択図】図3
特許請求の範囲
【請求項1】
板状体の長辺方向の両端に当該板状体に交差配置で上記長辺方向に延びる板片部が固定された芯材と、上記板状体の弱軸方向に直交する各面に対向して配置される拘束材と、を備える座屈拘束ブレースであって、
上記拘束材は、
対向する対向面部、上記対向面部を繋ぐ繋ぎ面部および上記対向面部間で上記芯材の位置する側に開口を有する溝形体と、上記板片部の内端側を収容するように当該板片部に対面する一対の立壁部および上記一対の立壁部に繋がる奥壁部からなる収容凹部と、上記溝形体の両端側で上記収容凹部の外端開口の横側に位置する端壁部と、を有する箱状部材と、
上記箱状部材内に充填されて硬化した硬化部材と、
上記収容凹部の奥端側の箇所と上記対向面部の内側面との間に位置し、上記対向面部と上記立壁部と上記端壁部とによって上記収容凹部に隣接する上記硬化部材を囲む囲い板と、
を備えることを特徴とする座屈拘束ブレース。
続きを表示(約 830 文字)
【請求項2】
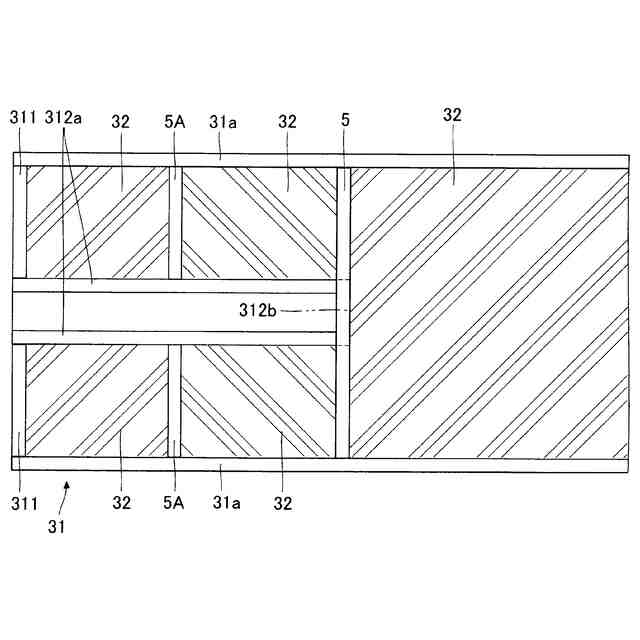
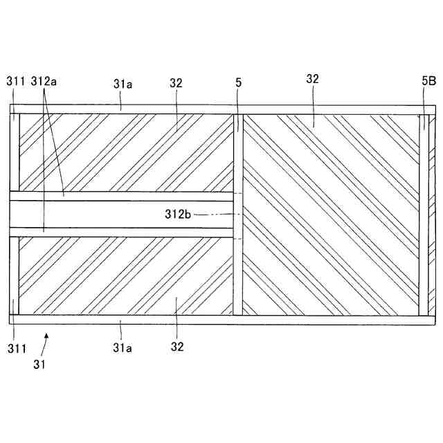
請求項1に記載の座屈拘束ブレースにおいて、上記囲い板は、上記奥壁部に固定されることを特徴とする座屈拘束ブレース。
【請求項3】
請求項1に記載の座屈拘束ブレースにおいて、上記囲い板は、上記立壁部に固定されることを特徴とする座屈拘束ブレース。
【請求項4】
請求項1に記載の座屈拘束ブレースにおいて、上記囲い板は、上記奥壁部を兼ねることを特徴とする座屈拘束ブレース。
【請求項5】
請求項1に記載の座屈拘束ブレースにおいて、上記の囲まれる硬化部材を分割して囲む分割囲い板を備えることを特徴とする座屈拘束ブレース。
【請求項6】
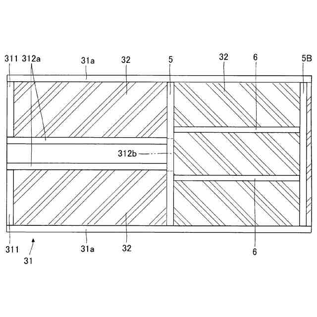
請求項1に記載の座屈拘束ブレースにおいて、上記箱状部材内で上記囲い板に所定距離をおいて対向するとともに上記対向面部間に渡って位置し、上記囲い板よりも上記箱状部材の中心側寄りの上記硬化部材を囲む対向囲い板を備えることを特徴とする座屈拘束ブレース。
【請求項7】
請求項6に記載の座屈拘束ブレースにおいて、上記囲い板と上記対向囲い板とを接続する接続板を備えることを特徴とする座屈拘束ブレース。
【請求項8】
請求項1~請求項4のいずれか1項に記載の座屈拘束ブレースにおいて、上記囲い板と上記繋ぎ面部との間に未硬化状態の上記硬化部材が流動通過できる隙間が形成されていることを特徴とする座屈拘束ブレース。
【請求項9】
請求項5に記載の座屈拘束ブレースにおいて、上記分割囲い板と上記繋ぎ面部との間に未硬化状態の上記硬化部材が流動通過できる隙間が形成されていることを特徴とする座屈拘束ブレース。
【請求項10】
請求項6または請求項7に記載の座屈拘束ブレースにおいて、上記対向囲い板と上記繋ぎ面部との間に未硬化状態の上記硬化部材が流動通過できる隙間が形成されていることを特徴とする座屈拘束ブレース。
発明の詳細な説明
【技術分野】
【0001】
この発明は、板状体の長手方向の両端側に板片部を有する芯材と、この芯材の各面に対向して配置された一対の拘束材と、を有する座屈拘束ブレースに関する。
続きを表示(約 1,500 文字)
【背景技術】
【0002】
特許文献1には、板状体の長辺方向の両端に当該板状体に交差配置で板片部が固定された芯材と、上記板状体の弱軸方向に直交する各面に対向して配置される拘束材と、を備える座屈拘束ブレースが開示されている。上記拘束材は、対向する対向面部、上記対向面部間で上記芯材の位置する側に形成された開口、および上記板片部の内端側を収容する収容凹部を有する箱状部材と、上記箱状部材内に充填されて硬化したコンクリート(硬化部材)と、を備える。
【先行技術文献】
【特許文献】
【0003】
特開2009-249833号公報
【発明の概要】
【発明が解決しようとする課題】
【0004】
しかしながら、このようなコンクリート(硬化部材)を備える座屈拘束ブレースでは、建物に装着された座屈拘束ブレースが荷重を受けた際の上記収容凹部の近傍箇所における上記硬化部材の耐力向上が求められる。
【0005】
この発明は、建物に装着された座屈拘束ブレースが荷重を受けた際の収容凹部の近傍箇所における硬化部材に亀裂が生じ難くすることを課題とする。
【課題を解決するための手段】
【0006】
この発明の座屈拘束ブレースは、上記の課題を解決するために、板状体の長辺方向の両端に当該板状体に交差配置で上記長辺方向に延びる板片部が固定された芯材と、上記板状体の弱軸方向に直交する各面に対向して配置される拘束材と、を備える座屈拘束ブレースであって、
上記拘束材は、
対向する対向面部、上記対向面部を繋ぐ繋ぎ面部および上記対向面部間で上記芯材の位置する側に開口を有する溝形体と、上記板片部の内端側を収容するように当該板片部に対面する一対の立壁部および上記一対の立壁部に繋がる奥壁部からなる収容凹部と、上記溝形体の両端側で上記収容凹部の外端開口の横側に位置する端壁部と、を有する箱状部材と、
上記箱状部材内に充填されて硬化した硬化部材と、
上記収容凹部の奥端側の箇所と上記対向面部の内側面との間に位置し、上記対向面部と上記立壁部と上記端壁部とによって上記収容凹部に隣接する上記硬化部材を囲む囲い板と、
を備えることを特徴とする。
【0007】
上記の構成であれば、上記収容凹部に隣接する上記硬化部材が、上記対向面部と上記立壁部と上記端壁部と上記囲い板とによって4面を拘束されることで、局部耐力が向上し、建物に装着された座屈拘束ブレースが荷重を受けた際の上記収容凹部に隣接する上記硬化部材の亀裂を生じ難くすることができる。
【0008】
上記囲い板は、上記奥壁部に固定されていてもよい。或いは、上記囲い板は、上記立壁部に固定されていてもよい。或いは、上記囲い板は、上記奥壁部を兼ねてもよい。
【0009】
上記の囲まれる硬化部材を分割して囲む分割囲い板を備えてもよい。これによれば、上記硬化部材が、より小さな範囲で囲まれることで拘束効果が高まるので、硬化部材に亀裂等がさらに生じ難くなる。
【0010】
上記箱状部材内で上記囲い板に所定距離をおいて対向するとともに上記対向面部間に渡って位置し、上記囲い板よりも上記箱状部材の中心側寄りの上記硬化部材を囲む対向囲い板を備えてもよい。これによれば、上記囲い板と上記対向囲い板との間で硬化部材が拘束されるので、建物に装着された座屈拘束ブレースにおける上記板状体(芯材)の波状の変形を上記拘束箇所の硬化部材が受けた際の当該硬化部材の破壊を軽減することができる。
(【0011】以降は省略されています)
この特許をJ-PlatPat(特許庁公式サイト)で参照する
関連特許
学校法人神奈川大学
展開式浮体装置
3か月前
学校法人神奈川大学
座屈拘束ブレース
6か月前
学校法人神奈川大学
制御装置及び推定装置
1か月前
学校法人神奈川大学
エネルギー変換器及び加工装置
1か月前
学校法人神奈川大学
接着加工部材の製造方法及び治具
1か月前
学校法人神奈川大学
金属表面処理組成物及び製造方法
5か月前
学校法人神奈川大学
連結分離装置及びその組み立て方法
3か月前
学校法人神奈川大学
化合物及びそれを含んでなる発光材料
1か月前
学校法人神奈川大学
芳香族ポリエステルおよびその製造方法
1か月前
株式会社イノアック技術研究所
高分子
5か月前
学校法人神奈川大学
ポリマー材料、成型体又は重合性半製品の製造方法
19日前
学校法人神奈川大学
高分子化合物を分解する方法、及びそのための組成物
19日前
学校法人神奈川大学
化合物、それを含んでなる光触媒、及び水素の製造方法
6か月前
ダイキン工業株式会社
フッ素含有ポリマーの分解方法
7か月前
学校法人神奈川大学
シクロペンタ-縮環多環芳香族炭化水素化合物の製造方法
1か月前
学校法人神奈川大学
飽和回避制御装置、姿勢制御装置、自走式移動装置及び飽和回避制御方法
2か月前
日本化学工業株式会社
ホスフィンパラジウム錯体、重合触媒及び芳香族ポリマーの製造方法
4か月前
ダイキン工業株式会社
フッ素含有ポリマーの分解方法
2か月前
学校法人神奈川大学
バナジウムの回収方法、及びバナジウムとその他の金属とを含む溶液からバナジウムを選択的に回収する方法
2か月前
学校法人神奈川大学
化合物、エポキシ基含有化合物に対する反応剤、硬化性組成物及び化学反応方法
5か月前
学校法人神奈川大学
クラックパターン膜及びそれからなる透明導電膜形成用マスク、クラックパターン膜の製造方法、透明導電膜の製造方法、導電膜の基材に対する密着性を向上させる方法、並びに導電膜
1か月前
個人
接合構造
12日前
個人
屋台
29日前
個人
タッチミー
11日前
個人
野良猫ハウス
1か月前
個人
フェンス
2か月前
個人
転落防止用手摺
1か月前
ニチハ株式会社
建築板
1か月前
個人
居住車両用駐車場
1か月前
個人
ベンリナアングル
11日前
個人
筋交自動設定装置
19日前
個人
地下型マンション
3か月前
積水樹脂株式会社
柵体
1か月前
個人
熱抵抗多層断熱建材
1か月前
個人
柵
2か月前
個人
補強部材
1か月前
続きを見る
他の特許を見る