TOP
|
特許
|
意匠
|
商標
特許ウォッチ
Twitter
他の特許を見る
10個以上の画像は省略されています。
公開番号
2025069973
公報種別
公開特許公報(A)
公開日
2025-05-02
出願番号
2023179947
出願日
2023-10-19
発明の名称
洗濯乾燥機
出願人
青島海爾洗衣机有限公司
,
QINGDAO HAIER WASHING MACHINE CO.,LTD.
,
アクア株式会社
代理人
個人
,
個人
主分類
D06F
58/34 20200101AFI20250424BHJP(繊維または類似のものの処理;洗濯;他に分類されない可とう性材料)
要約
【課題】乾燥時の外部への放熱を良好に抑制でき得る洗濯乾燥機を提供する。
【解決手段】洗濯乾燥機1は、筐体10内に配置された外槽20と、外槽20内に回転可能に配置され、洗濯物が収容されるドラム23と、送風ファン120と、当該送風ファン120が発生した風が流れるハウジング113と、当該ハウジング113内に配置された加熱器132と、を有し、加熱器132により加熱された風をドラム23内に供給する乾燥装置100と、筐体10内において外槽20および乾燥装置100よりも上方に配置された貯水可能な天面タンク200と、天面タンク200内に水を供給する給水部50と、乾燥装置100および給水部50の動作を制御する制御部と、を備える。制御部は、乾燥装置100による乾燥時に天面タンク200内が貯水状態となるよう、給水部50により天面タンク200内に給水を行う。
【選択図】図1
特許請求の範囲
【請求項1】
筐体内に配置された外槽と、
前記外槽内に回転可能に配置され、洗濯物が収容される内槽と、
送風ファンと、当該送風ファンが発生した風が流れる風路と、当該風路内に配置された加熱器と、を有し、前記加熱器により加熱された風を前記ドラム内に供給する乾燥装置と、
前記筐体内において前記外槽および前記乾燥装置よりも上方に配置された貯水可能な第1タンクと、
前記第1タンク内に水を供給する給水部と、
前記乾燥装置および前記給水部の動作を制御する制御部と、を備え、
前記制御部は、前記乾燥装置による乾燥時に前記第1タンク内が貯水状態となるよう、前記給水部により前記第1タンク内に給水を行う、
ことを特徴とする洗濯乾燥機。
続きを表示(約 1,000 文字)
【請求項2】
請求項1に記載の洗濯乾燥機において、
前記風路に接触するように前記筐体内に配置された貯水可能な第2タンクを、さらに備え、
前記給水部は、前記第2タンク内にも給水可能であり、
前記制御部は、前記乾燥時に前記第2タンク内が貯水状態となるよう、前記給水部により前記第2タンク内に給水を行う、
ことを特徴とする洗濯乾燥機。
【請求項3】
請求項2に記載の洗濯乾燥機において、
前記第1タンク内から排出された水が前記第2タンク内へと流れる第1給水路を、さらに備える、
ことを特徴とする洗濯乾燥機。
【請求項4】
請求項1に記載の洗濯乾燥機において、
前記筐体に設けられ、洗濯物が投入される投入口と、
前記投入口を覆う開閉可能なドアと、をさらに備え、
前記ドアは、貯水可能な第3タンクを含み、
前記給水部は、前記第3タンク内にも給水可能であり、
前記制御部は、前記乾燥時に前記第3タンク内が貯水状態となるよう、前記給水部により前記第3タンク内に給水を行う、
ことを特徴とする洗濯乾燥機。
【請求項5】
請求項4に記載の洗濯乾燥機において、
前記第1タンク内から排出された水が前記第3タンク内へと流れる第2給水路を、さらに備える、
ことを特徴とする洗濯乾燥機。
【請求項6】
請求項1ないし5の何れか一項に記載の洗濯乾燥機において、
前記筐体内の底部に配置され、前記第1タンク内から排出された水が貯められる第4タンクと、
前記第4タンク内の水を前記外槽内に供給する供給部と、をさらに備える、
ことを特徴とする洗濯乾燥機。
【請求項7】
筐体内に配置された外槽と、
前記外槽内に回転可能に配置され、洗濯物が収容される内槽と、
送風ファンと、当該送風ファンが発生した風が流れる風路と、当該風路内に配置された加熱器と、を有し、前記加熱器により加熱された風を前記ドラム内に供給する乾燥装置と、
前記風路に接触するように前記筐体内に配置された貯水可能なタンクと、
前記タンク内に水を供給する給水部と、
前記乾燥装置および前記給水部の動作を制御する制御部と、を備え、
前記制御部は、前記乾燥装置による乾燥時に前記タンク内が貯水状態となるよう、前記給水部により前記タンク内に給水を行う、
ことを特徴とする洗濯乾燥機。
発明の詳細な説明
【技術分野】
【0001】
本発明は、洗濯乾燥機に関する。
続きを表示(約 1,500 文字)
【背景技術】
【0002】
筐体内に備えられた外槽と、外槽内に回転可能に設けられたドラムと、ドラム内の洗濯物に送風を導く送風ダクト、ファンおよびヒータを含む乾燥装置と、を備えた洗濯乾燥機であって、筐体の底部に貯水タンクが配置された洗濯乾燥機が特許文献1に記載されている。
【0003】
上記の洗濯乾燥機では、本洗い工程において、外槽内の洗剤を含む水が貯水タンク内に貯められる。外槽内および貯水タンク内の洗剤を含む水が循環ポンプにより汲み上げられ、外槽に設けられた吐出口からドラムの内部に吐出される。貯水タンク内に貯水することにより、外槽内の水位を上昇させることなく使用水量を確保でき、循環流量を安定維持することが可能となる。
【先行技術文献】
【特許文献】
【0004】
特開2015-62509号公報
【発明の概要】
【発明が解決しようとする課題】
【0005】
従来、洗濯乾燥機では、筐体に断熱部材等を有しておらず、乾燥運転時に、ヒータ等の熱源から発せられた熱が、筐体の外部、即ち、洗濯乾燥機が設置された設置空間へ放出されやすい。乾燥される洗濯物の量が多ければ、乾燥運転の時間が長くなるため、設置空間が暑くなりやすい。特に、梅雨時期など設置空間内に湿気が多いときには、放熱により外気温が上がると相対湿度が上がるため、不快な環境となり、また、カビ等が発生しやすい環境となり得る。
【0006】
上記特許文献1の洗濯乾燥機では、乾燥運転時に貯水タンク内に貯水されない。また、乾燥運転時に貯水タンク内に貯水されたとしても、ヒータ等の熱源は貯水タンクの上にあり、熱源からの熱は上昇して筐体の上部にこもりやすいので、貯水タンク内の水の吸熱により筐体の外部への放熱を抑制する効果は、ほぼ期待できない。
【0007】
本発明は、かかる課題に鑑みてなされたものであり、乾燥時の外部への放熱を良好に抑制でき得る洗濯乾燥機を提供することを目的とする。
【課題を解決するための手段】
【0008】
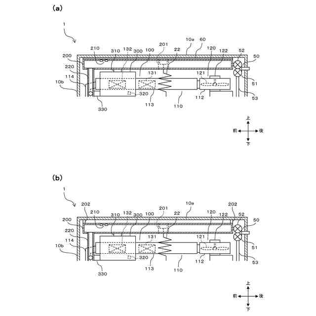
本発明の第1の態様に係る洗濯乾燥機は、筐体内に配置された外槽と、前記外槽内に回転可能に配置され、洗濯物が収容される内槽と、送風ファンと、当該送風ファンが発生した風が流れる風路と、当該風路内に配置された加熱器と、を有し、前記加熱器により加熱された風を前記ドラム内に供給する乾燥装置と、前記筐体内において前記外槽および前記乾燥装置よりも上方に配置された貯水可能な第1タンクと、前記第1タンク内に水を供給する給水部と、前記乾燥装置および前記給水部の動作を制御する制御部と、を備える。ここで、前記制御部は、前記乾燥装置による乾燥時に前記第1タンク内が貯水状態となるよう、前記給水部により前記第1タンク内に給水を行う。
【0009】
本態様に係る洗濯乾燥機によれば、外槽や乾燥装置から放出されて筐体内の天面部の近傍にこもった熱が第1タンク内の水に吸収されるので、筐体の外部への放熱を抑制できる。よって、洗濯乾燥機の設置空間内の気温の上昇を抑制できる。
【0010】
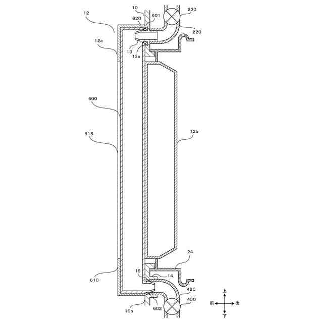
本態様に係る洗濯乾燥機において、前記風路に接触するように前記筐体内に配置された貯水可能な第2タンクを、さらに備えるような構成が採られ得る。この場合、前記給水部は、前記第2タンク内にも給水可能とされ得る。そして、前記制御部は、前記乾燥時に前記第2タンク内が貯水状態となるよう、前記給水部により前記第2タンク内に給水を行うような構成とされ得る。
(【0011】以降は省略されています)
特許ウォッチbot のツイートを見る
この特許をJ-PlatPat(特許庁公式サイト)で参照する
関連特許
青島海爾洗衣机有限公司
洗濯機
7日前
青島海爾洗衣机有限公司
洗濯機
10日前
青島海爾洗衣机有限公司
洗濯機
17日前
青島海爾洗衣机有限公司
洗濯機
28日前
青島海爾洗衣机有限公司
洗濯機
1か月前
青島海爾洗衣机有限公司
洗濯機
8か月前
青島海爾洗衣机有限公司
洗濯機
3か月前
青島海爾洗衣机有限公司
洗濯機
8か月前
青島海爾洗衣机有限公司
洗濯乾燥機
5か月前
青島海爾洗衣机有限公司
縦型洗濯機
5か月前
青島海爾洗衣机有限公司
縦型洗濯機
5か月前
青島海爾洗衣机有限公司
ランドリ機器
8か月前
青島海爾洗衣机有限公司
ランドリ機器
8か月前
青島海爾洗衣机有限公司
ドラム式洗濯機
4か月前
青島海爾洗衣机有限公司
ドラム式洗濯機
4か月前
青島海爾洗衣机有限公司
ドラム式洗濯機
4か月前
青島海爾洗衣机有限公司
超音波洗浄装置
1か月前
青島海爾洗衣机有限公司
ランドリシステム
8か月前
青島海爾洗衣机有限公司
乾燥機および除菌装置
1か月前
青島海爾洗衣机有限公司
排水フィルタ及び洗濯機
3日前
青島海爾洗衣机有限公司
排水フィルタ及び洗濯機
3日前
青島海爾洗衣机有限公司
超音波洗浄装置および洗浄方法
5か月前
青島海爾洗衣机有限公司
ドアロック強制解除機構および洗濯機
6か月前
青島海爾洗衣机有限公司
ランドリ機器およびコインランドリ店舗
7か月前
青島海爾洗衣机有限公司
微細気泡発生装置及びそれを備えた洗濯機
4か月前
青島海爾洗衣机有限公司
ランドリー機器
7か月前
青島海爾洗衣机有限公司
ドラム式洗濯機
8か月前
青島海爾洗衣机有限公司
コインランドリー利用支援システム
7か月前
個人
洗濯装置
1か月前
個人
ハンガー保持具
3か月前
株式会社青柳
染め加工方法
25日前
東レ株式会社
繊維断面の検査方法
4日前
ライオン株式会社
液体柔軟剤組成物
3か月前
日本バイリーン株式会社
内装用表面材
3か月前
シャープ株式会社
洗濯機
3か月前
東レ株式会社
樹脂含浸繊維束の製造方法
2か月前
続きを見る
他の特許を見る