TOP
|
特許
|
意匠
|
商標
特許ウォッチ
Twitter
他の特許を見る
公開番号
2025076146
公報種別
公開特許公報(A)
公開日
2025-05-15
出願番号
2023187919
出願日
2023-11-01
発明の名称
飛行体
出願人
河村電器産業株式会社
代理人
個人
,
個人
,
個人
主分類
B64U
50/35 20230101AFI20250508BHJP(航空機;飛行;宇宙工学)
要約
【課題】推力発生部の気流が阻害されることを抑制しつつ、受光部の面積を広げることができる飛行体を提供する。
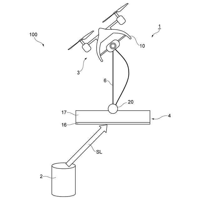
【解決手段】飛行体1は、地上からの給電光SLを受光することによって電力を発生する受光部4を備える。従って、飛行体1は、地上からの給電光を受光部4で受光することによって、充電を行うことができる。ここで、飛行体1は、機体3から下方へ距離をおいた位置にて、受光部4を吊り下げる吊下部6を備えている。このように受光部4が機体3から下方へ距離をおいた位置に配置されている場合、受光部4が機体3の推力発生部11の気流AFを乱すことを抑制することができる(図1参照)。このように、受光部4によって気流AFが阻害されることを抑制できるため、受光部4の面積を広くして給電光SLを受けやすくすることができる。
【選択図】図1
特許請求の範囲
【請求項1】
飛行するための推力を発生させる推力発生部を有する機体と、
地上からの給電光を受光することによって電力を発生する受光部と、を備える飛行体であって、
前記機体から下方へ距離をおいた位置にて、前記受光部を吊り下げる吊下部を備える、飛行体。
続きを表示(約 260 文字)
【請求項2】
前記機体の姿勢の変動に関わらず、吊下状態における前記受光部の姿勢を維持する姿勢維持機構を有する、請求項1に記載された飛行体。
【請求項3】
前記姿勢維持機構は、
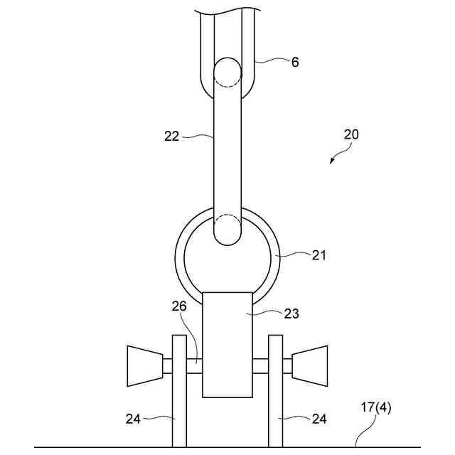
前記受光部に設けられる環状の連結部と、
吊下部の下端に設けられ、前記連結部に対して相対移動可能に連結される被連結部と、
を有する請求項2に記載された飛行体。
【請求項4】
前記受光部は、前記推力発生部からの気流を下方へ案内する流線形状を有する、請求項1~3の何れか一項に記載された飛行体。
発明の詳細な説明
【技術分野】
【0001】
本発明は、飛行体に関する。
続きを表示(約 1,300 文字)
【背景技術】
【0002】
従来、地上からの給電光を受光素子で受光することによって充電を行う飛行体が知られている(例えば特許文献1)。この飛行体は、機体の下面側に受光素子を備えた受光部を有している。これにより、飛行体は、地上からの給電光を機体の下面側で受けることができる。
【先行技術文献】
【特許文献】
【0003】
特開2020-19419号公報
【発明の概要】
【発明が解決しようとする課題】
【0004】
ここで、飛行体の機体では、プロペラなどで気流を発生させることで推力を発生させている。機体の下面側に設けられた受光部が所定の面積を超える場合、プロペラなどによる気流が乱されてしまう。従って、受光部の面積を広げることができないという問題が生じる。
【0005】
本発明は、推力発生部の気流が阻害されることを抑制しつつ、受光部の面積を広げることができる飛行体を提供することを目的とする。
【課題を解決するための手段】
【0006】
本発明に係る飛行体は、飛行するための推力を発生させる推力発生部を有する機体と、地上からの給電光を受光することによって電力を発生する受光部と、を備える飛行体であって、機体から下方へ距離をおいた位置にて、受光部を吊り下げる吊下部を備える。
【0007】
本発明に係る飛行体は、地上からの給電光を受光することによって電力を発生する受光部を備える。従って、飛行体は、地上からの給電光を受光部で受光することによって、充電を行うことができる。ここで、飛行体は、機体から下方へ距離をおいた位置にて、受光部を吊り下げる吊下部を備えている。このように受光部が機体から下方へ距離をおいた位置に配置されている場合、受光部が機体の推力発生部の気流を乱すことを抑制することができる。このように、受光部によって気流が阻害されることを抑制できるため、受光部の面積を広くして給電光を受けやすくすることができる。以上より、推力発生部の気流が阻害されることを抑制しつつ、受光部の面積を広げることができる。
【0008】
飛行体は、機体の姿勢の変動に関わらず、吊下状態における受光部の姿勢を維持する姿勢維持機構を有してよい。この場合、機体の姿勢が水平方向から傾くような場合であっても、姿勢維持機構が受光部の姿勢を維持することで、受光部で給電光を安定的に受光することができる。
【0009】
姿勢維持機構は、受光部に設けられる環状の連結部と、吊下部の下端に設けられ、連結部に対して相対移動可能に連結される被連結部と、を有してよい。この場合、連結部と被連結部とが高い自由度で相対移動可能な状態で連結される。そのため、機体の姿勢変動に伴って吊下部及び被連結部が動いた場合も、受光部側の連結部が動くことを抑制し、受光部の姿勢を維持することができる。
【0010】
受光部は、推力発生部からの気流を下方へ案内する流線形状を有してよい。この場合、受光部の流線形状で推力発生部からの気流を下方へ案内することで、気流が阻害されることを抑制することができる。
【発明の効果】
(【0011】以降は省略されています)
この特許をJ-PlatPat(特許庁公式サイト)で参照する
関連特許
河村電器産業株式会社
計測装置
1か月前
河村電器産業株式会社
電気機器収納用筐体
2日前
河村電器産業株式会社
可搬式バッテリシステム
1か月前
河村電器産業株式会社
負荷名称ラベル作成システム
1日前
河村電器産業株式会社
充電システムおよび制御方法
24日前
河村電器産業株式会社
受電監視装置及び受電監視方法
25日前
河村電器産業株式会社
充電制御装置およびプログラム
1か月前
河村電器産業株式会社
情報処理システムおよび情報処理方法
15日前
河村電器産業株式会社
情報処理システム、情報処理方法およびプログラム
16日前
河村電器産業株式会社
受電監視装置、受電監視システム及び受電監視方法
17日前
河村電器産業株式会社
車両充電システム
29日前
河村電器産業株式会社
キュービクル管理システム、キュービクル管理方法、及びプログラム
1か月前
個人
ドローン
6か月前
個人
人工台風
2か月前
個人
着火ドローン
4か月前
個人
救難消防飛行艇
4か月前
個人
ドローンシステム
8か月前
東レ株式会社
中空回転翼
3か月前
個人
動力原付きグライダー
10日前
個人
導風板付き垂直離着陸機
1か月前
個人
連続回転可能な飛行機翼
4か月前
個人
陸海空用の乗り物
5か月前
東レ株式会社
プロペラブレード
3か月前
東レ株式会社
プロペラブレード
3か月前
東レ株式会社
プロペラブレード
3か月前
個人
空飛ぶクルマ
3か月前
個人
垂直離着陸機用エンジン改
8か月前
個人
ドローンを自動離着陸する方法
8か月前
個人
空中移動システム
9か月前
個人
ドローン消音装置
11か月前
個人
エアライナー全自動パラシュート
6か月前
トヨタ自動車株式会社
ドローン
6か月前
合同会社アドエア
パラシュート射出装置
6か月前
株式会社ACSL
システム
7か月前
株式会社小糸製作所
飛行体ポート
4か月前
個人
ヘリコプター駆動装置
3か月前
続きを見る
他の特許を見る