TOP
|
特許
|
意匠
|
商標
特許ウォッチ
Twitter
他の特許を見る
10個以上の画像は省略されています。
公開番号
2025134298
公報種別
公開特許公報(A)
公開日
2025-09-17
出願番号
2024032123
出願日
2024-03-04
発明の名称
受電監視装置、受電監視システム及び受電監視方法
出願人
河村電器産業株式会社
代理人
個人
,
個人
,
個人
,
個人
主分類
H04Q
9/00 20060101AFI20250909BHJP(電気通信技術)
要約
【課題】監視対象装置と受電監視装置とを接続する所定の通信経路の状態が悪化したとしても、継続して監視対象装置を監視することができる受電監視装置、受電監視システム及び受電監視方法を提供する。
【解決手段】受電監視装置は、監視対象装置に関する第1のデータを、第1の通信経路を用いて、監視対象装置から受信する第1の通信部と、監視対象装置に関する第2のデータを、第1の通信経路とは異なる第2の通信経路を用いて、監視対象装置から受信する第2の通信部と、第1の通信経路の通信状態が、第1の判定部が第1の条件を満たすと判定するまでは、第1の通信経路を用いて、第1のデータを、第1の通信部に受信させ、第1の判定部が第1の条件を満たしたと判定した場合には、第2の通信経路を用いて、第2のデータを、第2の通信部に受信させる制御部と、第1のデータまたは第2のデータを、管理装置に送信するデータ送信部と、を備える。
【選択図】図1
特許請求の範囲
【請求項1】
監視対象装置および管理装置と通信する受電監視装置であって、
前記監視対象装置に関する第1のデータを、第1の通信経路を用いて、前記監視対象装置から受信する第1の通信部と、
前記監視対象装置に関する第2のデータを、前記第1の通信経路とは異なる第2の通信経路を用いて、前記監視対象装置から受信する第2の通信部と、
前記第1の通信経路の通信状態が、第1の条件を満たすか否かについて判定する第1の判定部と、
前記第1の判定部が前記第1の条件を満たすと判定するまでは、前記第1の通信経路を用いて、前記第1のデータを、前記第1の通信部に受信させ、前記第1の判定部が前記第1の条件を満たしたと判定した場合には、前記第2の通信経路を用いて、前記第2のデータを、前記第2の通信部に受信させる制御部と、
前記第1のデータまたは前記第2のデータを、前記管理装置に送信するデータ送信部と、
を備える受電監視装置。
続きを表示(約 2,000 文字)
【請求項2】
前記第1の判定部は、前記第1の通信経路を用いた通信において、第1の期間内に第1の回数以上の接続要求が、前記受電監視装置と前記監視対象装置との間で発生した場合に、前記第1の条件を満たすと判定する
請求項1に記載の受電監視装置。
【請求項3】
前記制御部は、前記第2の通信部が受信する前記第2のデータのデータ量を、前記第1の通信部が受信する前記第1のデータのデータ量よりも少なくする
請求項1又は2に記載の受電監視装置。
【請求項4】
前記監視対象装置に関する第3のデータを、前記第1の通信経路または前記第2の通信経路とは異なる第3の通信経路を用いて、前記監視対象装置から受信する第3の通信部と、
前記第2の通信経路の通信状態が、第2の条件を満たすか否かについて判定する第2の判定部と、
前記第2の判定部が前記第2の条件を満たしたと判定した場合に、前記受電監視装置と前記監視対象装置とが前記第3の通信経路で接続されているか否かを検出する検出部と、
とを備え、
前記データ送信部は、前記受電監視装置と前記監視対象装置とが前記第3の通信経路で接続されていることが検出されていない場合には、前記受電監視装置と前記監視対象装置とを前記第3の通信経路で接続することを要求する要求信号を、前記管理装置に送信し、
前記制御部は、前記受電監視装置と前記監視対象装置とが前記第3の通信経路で接続されていることを検出した場合には、前記第3の通信経路を用いて、前記第3のデータを、前記第3の通信部に受信させる
請求項1に記載の受電監視装置。
【請求項5】
前記第2の判定部は、前記第2の通信経路を用いた通信において、第2の期間内に第2の回数以上の接続要求が、前記受電監視装置と前記監視対象装置との間で発生した場合に、前記第2の条件を満たすと判定する
請求項4に記載の受電監視装置。
【請求項6】
前記第1の通信経路は、無線通信を用いた通信経路であり、
前記第2の通信経路は、電力線通信を用いた通信経路であり、
前記第3の通信経路は、有線通信を用いた通信経路である
請求項4又は5に記載の受電監視装置。
【請求項7】
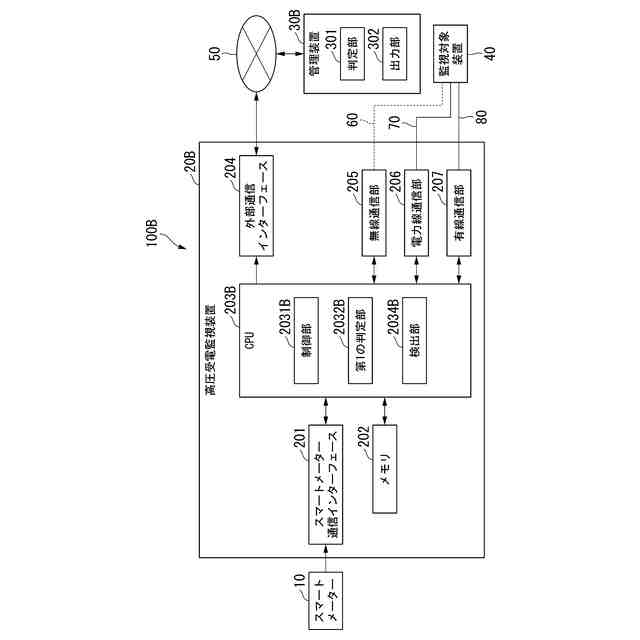
監視対象装置、管理装置、受電監視装置を備える受電監視システムであって、
前記管理装置は、
前記監視対象装置に関する第1のデータを、前記受電監視装置から所定期間、受信していないか判定する判定部と、
前記第1のデータを、前記受電監視装置から前記所定期間、受信していないと判定された場合に、前記受電監視装置と前記監視対象装置とを有線通信で接続することを要求する出力部と、
を備え、
前記受電監視装置は、
前記第1のデータを、第1の通信経路を用いて、前記監視対象装置から受信する第1の通信部と、
前記監視対象装置に関する第2のデータを、前記有線通信を用いて、前記監視対象装置から受信する第2の通信部と、
前記受電監視装置と前記監視対象装置とが前記有線通信で接続されているか否かを検出する検出部と、
前記受電監視装置と前記監視対象装置とが前記有線通信で接続されていると判定されるまでは、前記第1の通信経路を用いて、前記第1のデータを、前記第1の通信部に受信させ、前記受電監視装置と前記監視対象装置とが前記有線通信で接続されていると判定された場合には、前記有線通信を用いて、前記第2のデータを、前記第2の通信部に受信させる制御部と、
前記第1のデータまたは前記第2のデータを、前記管理装置に送信するデータ送信部と、
を備える受電監視システム。
【請求項8】
監視対象装置および管理装置と通信する受電監視装置が用いる受電監視方法であって、
前記監視対象装置に関する第1のデータを、第1の通信経路を用いて、前記監視対象装置から受信する第1の通信工程と、
前記監視対象装置に関する第2のデータを、前記第1の通信経路とは異なる第2の通信経路を用いて、前記監視対象装置から受信する第2の通信工程と、
前記第1の通信経路の通信状態が、第1の条件を満たすか否かについて判定する第1の判定工程と、
前記第1の条件を満たすと判定するまでは、前記第1の通信経路を用いて、前記第1のデータを受信し、前記第1の条件を満たしたと判定した場合には、前記第2の通信経路を用いて、前記第2のデータを受信する制御工程と、
前記第1のデータまたは前記第2のデータを、前記管理装置に送信するデータ送信工程と、
を有する受電監視方法。
発明の詳細な説明
【技術分野】
【0001】
本発明は、受電監視装置、受電監視システム及び受電監視方法に関する。
続きを表示(約 2,000 文字)
【背景技術】
【0002】
従来、高圧受電監視装置と、その高圧受電監視装置が監視する監視対象装置である負荷、蓄電池、発電設備が、通信可能なように接続し、監視対象装置で測定されるデータを、監視対象装置から、高圧受電監視装置を介して、管理者が使用する管理装置に送信して、監視対象装置の状態を、管理者が把握する監視システムが知られている(特許文献1参照)。
【0003】
また、従来、電力の需要家の施設内に設けられる監視対象装置である負荷、蓄電池、発電設備を、ローカルエリアネットワークで接続し、監視対象装置で測定されるデータを、管理者が使用する管理装置に送信して、監視対象装置の状態を、管理者が把握する監視システムが知られている(特許文献2参照)。
【先行技術文献】
【特許文献】
【0004】
特開2019-009864号公報
特開2019-165580号公報
【発明の概要】
【発明が解決しようとする課題】
【0005】
特許文献1や特許文献2で開示されている監視システムでは、監視対象装置と、その監視対象装置を監視する監視装置とを、ローカルエリアネットワークで接続しており、そのローカルエリアネットワークとして、有線接続などの配線の敷設が必要ない無線通信が用いられる。しかし、監視対象装置を監視するために、無線通信を用いる場合、無線環境の悪化や電波の干渉により、無線通信を継続することができなくなり、監視対象装置の状態の監視を継続できなくなる場合があった。
【0006】
本発明は、このような状況に鑑みてなされたものであり、監視対象装置と受電監視装置とを接続する所定の通信経路の状態が悪化したとしても、継続して監視対象装置を監視することができる受電監視装置、受電監視システム及び受電監視方法を提供することを目的とする。
【課題を解決するための手段】
【0007】
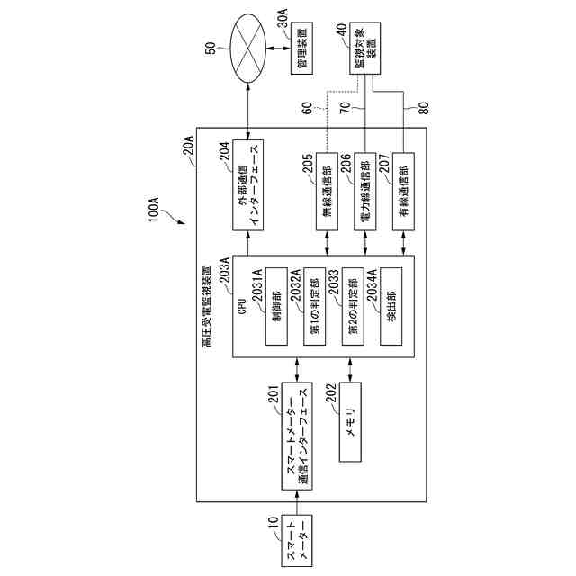
(1)本発明の一態様は、監視対象装置および管理装置と通信する受電監視装置であって、前記監視対象装置に関する第1のデータを、第1の通信経路を用いて、前記監視対象装置から受信する第1の通信部と、前記監視対象装置に関する第2のデータを、前記第1の通信経路とは異なる第2の通信経路を用いて、前記監視対象装置から受信する第2の通信部と、前記第1の通信経路の通信状態が、第1の条件を満たすか否かについて判定する第1の判定部と、前記第1の判定部が前記第1の条件を満たすと判定するまでは、前記第1の通信経路を用いて、前記第1のデータを、前記第1の通信部に受信させ、前記第1の判定部が前記第1の条件を満たしたと判定した場合には、前記第2の通信経路を用いて、前記第2のデータを、前記第2の通信部に受信させる制御部と、前記第1のデータまたは前記第2のデータを、前記管理装置に送信するデータ送信部と、を備える受電監視装置である。
【0008】
(2)本発明の一態様は、上記(1)に記載の受電監視装置であって、前記第1の判定部は、前記第1の通信経路を用いた通信において、第1の期間内に第1の回数以上の接続要求が、前記受電監視装置と前記監視対象装置との間で発生した場合に、前記第1の条件を満たすと判定するものである。
【0009】
(3)本発明の一態様は、上記(1)又は(2)に記載の受電監視装置であって、前記制御部は、前記第2の通信部が受信する前記第2のデータのデータ量を、前記第1の通信部が受信する前記第1のデータのデータ量よりも少なくするものである。
【0010】
(4)本発明の一態様は、上記(1)に記載の受電監視装置であって、前記監視対象装置に関する第3のデータを、前記第1の通信経路または前記第2の通信経路とは異なる第3の通信経路を用いて、前記監視対象装置から受信する第3の通信部と、前記第2の通信経路の通信状態が、第2の条件を満たすか否かについて判定する第2の判定部と、前記第2の判定部が前記第2の条件を満たしたと判定した場合に、前記受電監視装置と前記監視対象装置とが前記第3の通信経路で接続されているか否かを検出する検出部と、とを備え、前記データ送信部は、前記受電監視装置と前記監視対象装置とが前記第3の通信経路で接続されていることが検出されていない場合には、前記受電監視装置と前記監視対象装置とを前記第3の通信経路で接続することを要求する要求信号を、前記管理装置に送信し、前記制御部は、前記受電監視装置と前記監視対象装置とが前記第3の通信経路で接続されていることを検出した場合には、前記第3の通信経路を用いて、前記第3のデータを、前記第3の通信部に受信させるものである。
(【0011】以降は省略されています)
この特許をJ-PlatPat(特許庁公式サイト)で参照する
関連特許
河村電器産業株式会社
計測装置
1か月前
河村電器産業株式会社
電気機器収納用筐体
4日前
河村電器産業株式会社
可搬式バッテリシステム
1か月前
河村電器産業株式会社
負荷名称ラベル作成システム
3日前
河村電器産業株式会社
充電システムおよび制御方法
26日前
河村電器産業株式会社
受電監視装置及び受電監視方法
27日前
河村電器産業株式会社
充電制御装置およびプログラム
1か月前
河村電器産業株式会社
情報処理システムおよび情報処理方法
17日前
河村電器産業株式会社
情報処理システム、情報処理方法およびプログラム
18日前
河村電器産業株式会社
受電監視装置、受電監視システム及び受電監視方法
19日前
河村電器産業株式会社
車両充電システム
1か月前
河村電器産業株式会社
キュービクル管理システム、キュービクル管理方法、及びプログラム
1か月前
個人
店内配信予約システム
2か月前
サクサ株式会社
中継装置
2か月前
WHISMR合同会社
収音装置
25日前
キヤノン株式会社
撮像装置
1か月前
キヤノン株式会社
撮像装置
3か月前
アイホン株式会社
電気機器
19日前
キヤノン株式会社
電子機器
2か月前
株式会社リコー
画像形成装置
1か月前
キヤノン電子株式会社
画像読取装置
26日前
個人
ワイヤレスイヤホン対応耳掛け
17日前
ヤマハ株式会社
信号処理装置
3か月前
電気興業株式会社
無線中継器
3か月前
日本精機株式会社
画像投映システム
3か月前
株式会社リコー
画像形成装置
1か月前
株式会社リコー
画像形成装置
1か月前
キヤノン電子株式会社
モバイル装置
2か月前
ブラザー工業株式会社
読取装置
1か月前
キヤノン株式会社
通信システム
3か月前
株式会社ニコン
撮像装置
2か月前
キヤノン株式会社
撮像システム
19日前
有限会社フィデリックス
マイクロフォン
3日前
パテントフレア株式会社
水中電波通信法
2か月前
キヤノン電子株式会社
シート材搬送装置
1か月前
株式会社JVCケンウッド
通信システム
3日前
続きを見る
他の特許を見る