TOP
|
特許
|
意匠
|
商標
特許ウォッチ
Twitter
他の特許を見る
10個以上の画像は省略されています。
公開番号
2025083175
公報種別
公開特許公報(A)
公開日
2025-05-30
出願番号
2023196927
出願日
2023-11-20
発明の名称
ヒータ及び加熱部材
出願人
日本碍子株式会社
代理人
アクシス国際弁理士法人
主分類
H05B
3/12 20060101AFI20250523BHJP(他に分類されない電気技術)
要約
【課題】過酷な環境下であっても長期耐久性を有するヒータを提供する。
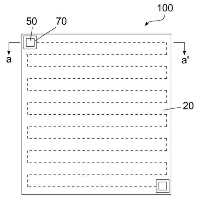
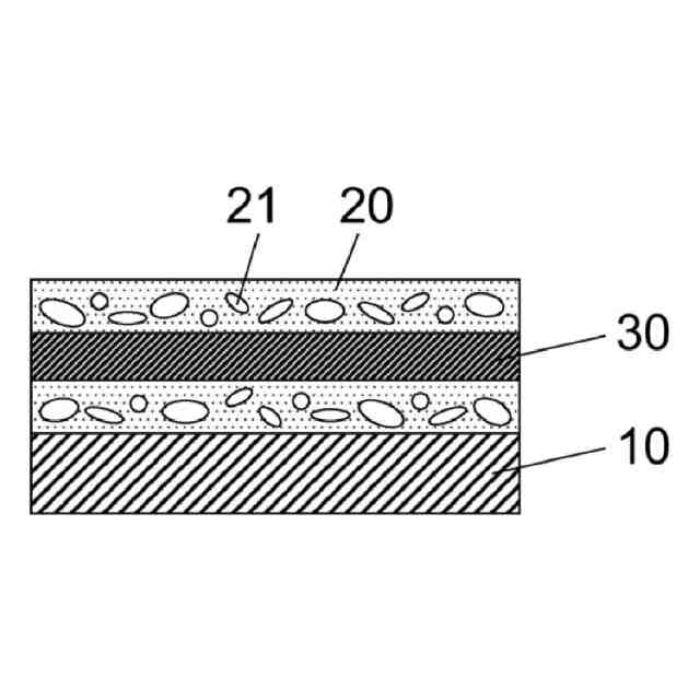
【解決手段】第1のセラミック基材10と、第1のセラミック基材10上に設けられたガラス部20と、ガラス部20中に埋設された電熱部30とを備えるヒータ100である。ガラス部20は閉気孔21を有する。電熱部30は、大気雰囲気下における25℃の質量に対する700℃の質量の変化率が0.1%以下である金属から構成される。
【選択図】図2
特許請求の範囲
【請求項1】
第1のセラミック基材と、前記第1のセラミック基材上に設けられたガラス部と、前記ガラス部中に埋設された電熱部とを備え、
前記ガラス部が閉気孔を有し、
前記電熱部は、大気雰囲気下における25℃の質量に対する700℃の質量の変化率が0.1%以下である金属から構成されるヒータ。
続きを表示(約 600 文字)
【請求項2】
前記ガラス部上に設けられた第2のセラミック基材を更に備える、請求項1に記載のヒータ。
【請求項3】
前記セラミック基材がコージェライト基材である、請求項1又は2に記載のヒータ。
【請求項4】
前記ガラス部の熱膨張率が2.0×10
-6
~6.0×10
-6
/K未満である、請求項1又は2に記載のヒータ。
【請求項5】
前記ガラス部のヤング率が5~50GPaである、請求項1又は2に記載のヒータ。
【請求項6】
前記ガラス部が、ホウ素及び/又は珪素を含有し、600~1100℃のガラス転移温度を有する、請求項1又は2に記載のヒータ。
【請求項7】
前記電熱部は、25℃の体積抵抗率に対する300℃の体積抵抗率の変化率が10%以下である、請求項1又は2に記載のヒータ。
【請求項8】
前記電熱部が、Ni、Fe、Crから選択される1種以上を含む合金から構成される、請求項1又は2に記載のヒータ。
【請求項9】
前記合金が、Ni-Cr合金及び/又はFe-Cr合金である、請求項8に記載のヒータ。
【請求項10】
前記電熱部に接続された端子を更に備える、請求項1又は2に記載のヒータ。
(【請求項11】以降は省略されています)
発明の詳細な説明
【技術分野】
【0001】
本発明は、ヒータ及び加熱部材に関する。
続きを表示(約 2,600 文字)
【背景技術】
【0002】
自動車排ガスの有害成分(HC、NOx、CO)の低減に対する要求が高まっている。特に、ディーゼルエンジンから排出されるNOxの浄化は重要な課題である。NOx浄化の方策としては、尿素SCRシステムと呼ばれる技術が一般に知られている。尿素SCRシステムでは、尿素の熱分解及び加水分解によってNOx還元剤となるNH
3
が生成される。尿素の熱分解及び加水分解を効率良く進めるためには、尿素を効率良く加熱することが必要となる。しかしながら、エンジン効率の向上に伴って排ガス温度が低くなっているとともに、エンジン始動直後も排ガス温度が低い。排ガス温度が低い場合、尿素を排ガスに噴射しても分解反応が起こり難いため、NH
3
が十分に生成されない。また、噴射された尿素が排気管の内壁面に衝突する際、内壁面の温度が低いと尿素が完全にNH
3
に分解されず、中間物の固形デポジットとなって堆積する。その結果、排ガスの流れの障害になったり、排ガスの流れの変化により、生成したNH
3
と排ガスとの混合を阻害したりする恐れがある。そのため、排ガスを効率良く加熱するとともに、排気管の内壁面を高温に保つことが可能なヒータの開発が行われている。
【0003】
また、内燃機関からの熱源がない電気自動車(BEV:Battery Electric Vehicle)及び燃料電池車(FCV:Fuel Cell Vehicle)、内燃機関を頻繁に停止するプラグインハイブリッドカー(PHV:Plug-in Hybrid Vehicle、PHEV:Plug-in Hybrid Electrical Vehicle)では、暖房負荷が走行距離に影響を及ぼすため、暖房効率を高めることが重要な課題である。そのため、車室全体を暖めるのではなく、特定の空間だけを効率良く短時間で暖めるヒータの開発が行われている。
【0004】
さらに、カーボンニュートラル達成のため、水の電気分解によって生成される水素と、発電所や工場などから排出されるCO
2
とを合成して得られる合成燃料の開発が進められているが、合成燃料の製造プロセスにおいては加熱が要求される。この製造プロセスが工場排熱などの供給が可能な場所で実施される場合は熱源を容易に確保することができる一方、熱源がない場所で実施される場合は電力を使って加熱しなければならない。電力は、製造過程でCO
2
が排出されることがない再生可能エネルギーから製造することが好ましく、ヒータに対しても加熱効率の向上が要求されている。
【0005】
熱容量の小さい基材中に導体を埋設又は当該基材間に導体を配置したヒータは、上記のような各種用途における有力な加熱手段の1つである。
例えば、特許文献1には、板状の第一のヒータ基板と、第一のヒータ基板の第一面上に並列回路で配設された電熱線と、電熱線に通電するために電熱線に接続された電極と、第一のヒータ基板の第一面、電熱線及び電極を、第二面側で覆う板状のカバー基板とを備えるヒータが提案されている。このヒータでは、第一のヒータ基板及び/又はカバー基板はSi
3
N
4
又はAl
2
O
3
を含み、電熱線はWC、TiN、TaC、ZrN、MoSi
2
、Pt、Ru及びWからなる群から選ばれる少なくとも1種の金属を含む。
【0006】
特許文献2には、アルミナ質セラミックス、窒化珪素質セラミックスなどから構成される絶縁基体と、絶縁基体に埋設された抵抗体とを備え、抵抗体はタングステンを主成分とする第1の導体粒子及びモリブデンを主成分とする第2の導体粒子を含むヒータが提案されている。
特許文献3には、アルミナ、窒化珪素、コージェライトなどの絶縁性セラミックス製の外筒と、外筒の内側に設けられた絶縁性セラミックス製のフィンと、外筒及び/又はフィンの少なくとも一部に埋設された電熱部とを備える排ガス浄化装置用混合器が提案されている。
【先行技術文献】
【特許文献】
【0007】
特開2017-182890号公報
特許第5748918号公報
特開2020-197208号公報
【発明の概要】
【発明が解決しようとする課題】
【0008】
上記したような用途で用いられるヒータには、迅速且つ効率良く加熱できるとともに、過酷な環境下(具体的には、耐腐食性、耐熱性、耐衝撃性、絶縁性などが要求される環境下)において長期耐久性を有することが要求される。
しかしながら、上記の先行技術に記載のヒータは、基材や導体の種類によっては、過酷な環境下での長期耐久性が確保され難い。例えば、アルミナ基材は熱膨張率が高いため、温度変化の大きな環境下では熱応力が大きくなって長期耐久性が確保され難い。また、コージェライト基材は熱膨張率が低いものの、コージェライト基材中に高熱膨張率の導体を埋設又は当該コージェライト基材の間に導体を配置した場合、温度変化の大きな環境下では熱膨張率の差によってコージェライト基材に亀裂が発生し易く、長期耐久性が確保され難い。さらに、モリブデンやタングステンなどの導体は、僅かな空気が存在する状態で高温に曝されると酸化され易く、酸化が進行すると最終的に断線する恐れもあるため、長期耐久性が確保され難い。
【0009】
本発明は、上記のような課題を解決するためになされたものであり、過酷な環境下であっても長期耐久性を有するヒータ及び加熱部材を提供することを目的とする。
【課題を解決するための手段】
【0010】
本発明者らは、ヒータの構造について鋭意研究を行った結果、閉気孔を有するガラス部に特定の電熱部(導体)を埋設してセラミック基材に設けることで、上記の課題を解決し得ることを見出し、本発明を完成するに至った。すなわち、本発明は、以下のように例示される。
(【0011】以降は省略されています)
この特許をJ-PlatPat(特許庁公式サイト)で参照する
関連特許
日本碍子株式会社
電池
1か月前
日本碍子株式会社
熱交換器
14日前
日本碍子株式会社
把持方法
10日前
日本碍子株式会社
熱交換器
6日前
日本碍子株式会社
ガスセンサ
1か月前
日本碍子株式会社
亜鉛二次電池
5日前
日本碍子株式会社
ハニカム構造体
4日前
日本碍子株式会社
ハニカム構造体
1か月前
日本碍子株式会社
ハニカム構造体
25日前
日本碍子株式会社
ハニカム構造体
14日前
日本碍子株式会社
ハニカム構造体
10日前
日本碍子株式会社
電気加熱式担体
4日前
日本碍子株式会社
ハニカム構造体
3日前
日本碍子株式会社
ハニカム構造体
3日前
日本碍子株式会社
電気加熱式担体
3日前
日本碍子株式会社
アルカリ二次電池
14日前
日本碍子株式会社
メタン製造反応器
3日前
日本碍子株式会社
ハニカムフィルタ
3日前
日本碍子株式会社
導波素子の製造方法
17日前
日本碍子株式会社
ウォーキングビーム炉
5日前
日本碍子株式会社
三相型ハニカムヒータ
3日前
日本碍子株式会社
半導体製造装置用部材
1か月前
日本碍子株式会社
セラミックス部材の製造方法
5日前
日本碍子株式会社
センサ素子およびガスセンサ
12日前
日本碍子株式会社
ロボットハンドおよびロボット
10日前
日本碍子株式会社
AlN単結晶基板及びデバイス
14日前
日本碍子株式会社
セラミックス試料の酸分解方法
4日前
日本碍子株式会社
ロボットハンドおよびロボット
10日前
日本碍子株式会社
浄水膜構造体および浄水膜組立体
4日前
日本碍子株式会社
ハニカム構造体及びハニカムヒータ
3日前
日本碍子株式会社
放射性廃棄物の処理方法及び保管装置
4日前
日本碍子株式会社
半導体製造装置用部材及びその再生方法
3日前
日本碍子株式会社
半導体製造装置用部材及びその再生方法
3日前
日本碍子株式会社
半導体製造装置用部材及びその再生方法
3日前
日本碍子株式会社
トチの検査方法及びハニカム構造体の製造方法
3日前
日本碍子株式会社
センサ素子の製造方法およびスラリー付着装置
14日前
続きを見る
他の特許を見る