TOP
|
特許
|
意匠
|
商標
特許ウォッチ
Twitter
他の特許を見る
公開番号
2025152992
公報種別
公開特許公報(A)
公開日
2025-10-10
出願番号
2024055224
出願日
2024-03-29
発明の名称
半導体製造装置用部材及びその再生方法
出願人
日本碍子株式会社
代理人
弁理士法人アイテック国際特許事務所
主分類
H01L
21/683 20060101AFI20251002BHJP(基本的電気素子)
要約
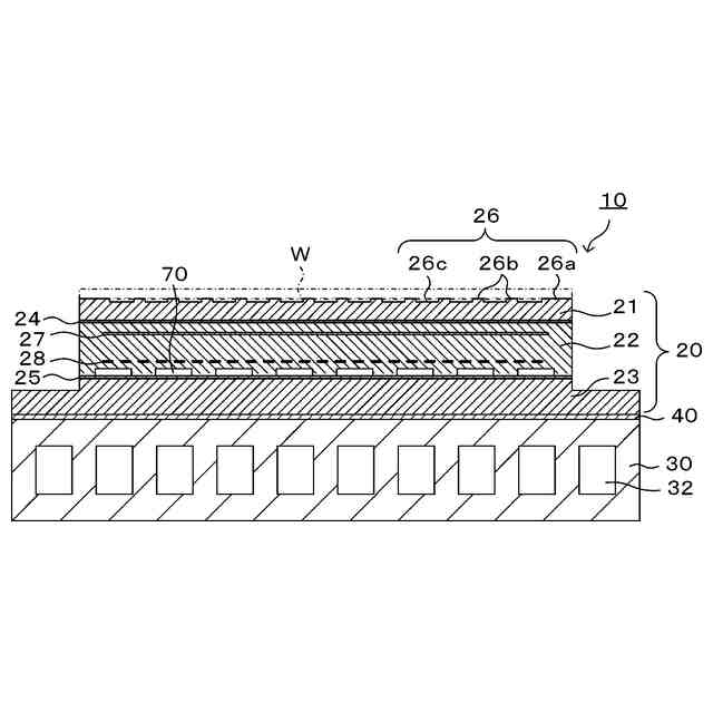
【課題】ウエハの均熱性を向上させると共にセラミックプレート同士の接合強度を高くする。
【解決手段】半導体製造装置用部材10は、上面にウエハ載置面26を有する第1セラミックプレート21と、第1セラミックプレート21の下面に配置された第2セラミックプレート22と、第1セラミックプレート21と第2セラミックプレート22との間に存在する第1アモルファス層24と、を備える。第1セラミックプレート21の熱伝導率は、アルミナ及び第2セラミックプレート22の熱伝導率よりも高い。
【選択図】図2
特許請求の範囲
【請求項1】
上面にウエハ載置面を有する第1セラミックプレートと、
前記第1セラミックプレートの下面に配置された第2セラミックプレートと、
前記第1セラミックプレートと前記第2セラミックプレートとの間に存在する第1アモルファス層と、
を備え、
前記第1セラミックプレートの熱伝導率は、アルミナ及び前記第2セラミックプレートの熱伝導率よりも高い、
半導体製造装置用部材。
続きを表示(約 1,300 文字)
【請求項2】
前記第1セラミックプレートの熱伝導率は、36W/mK以上である、
請求項1に記載の半導体製造装置用部材。
【請求項3】
前記第1セラミックプレートは、窒化アルミニウムプレートであり、
前記第2セラミックプレートは、アルミナプレートである、
請求項1又は2に記載の半導体製造装置用部材。
【請求項4】
請求項1又は2に記載の半導体製造装置用部材であって、
前記第1セラミックプレートのうち前記第1アモルファス層に接する側に存在する第1変質層と、
前記第2セラミックプレートのうち前記第1アモルファス層に接する側に存在する第2変質層と、
を備えた半導体製造装置用部材。
【請求項5】
請求項1又は2に記載の半導体製造装置用部材であって、
前記第2セラミックプレートの下面に配置された第3セラミックプレートと、
前記第2セラミックプレートと前記第3セラミックプレートとの間に存在する第2アモルファス層と、
を備えた半導体製造装置用部材。
【請求項6】
前記第2セラミックプレートのうち前記第2アモルファス層に面した位置又は前記第3セラミックプレートのうち前記第2アモルファス層に面した位置には、冷媒が流通する冷媒流路又は前記ウエハ載置面にガスを供給するガス流路が設けられている、
請求項5に記載の半導体製造装置用部材。
【請求項7】
請求項5に記載の半導体製造装置用部材であって、
前記第2セラミックプレートのうち前記第2アモルファス層に接する側に存在する第3変質層と、
前記第3セラミックプレートのうち前記第2アモルファス層に接する側に存在する第4変質層と、
を備えた半導体製造装置用部材。
【請求項8】
(a)請求項1又は2に記載の半導体製造装置用部材の前記第1セラミックプレートの上面を加工して、前記ウエハ載置面が除去された加工面を前記第1セラミックプレートに形成する工程と、
(b)前記加工面を更に加工して、新たなウエハ載置面を形成する工程と、
を含む半導体製造装置用部材の再生方法。
【請求項9】
(a)請求項1又は2に記載の半導体製造装置用部材の前記第1セラミックプレートの上面を加工して、前記ウエハ載置面が除去された加工面を前記第1セラミックプレートに形成する工程と、
(b)前記第2セラミックプレートに比べて熱伝導率が高い再生用セラミックプレートを、前記加工面に直接接合する工程と、
を含む半導体製造装置用部材の再生方法。
【請求項10】
(a)請求項1又は2に記載の半導体製造装置用部材の前記第1セラミックプレートを加工して前記第2セラミックプレートを露出するように除去し、前記第2セラミックプレートに加工面を形成する工程と、
(b)前記第2セラミックプレートに比べて熱伝導率が高い再生用セラミックプレートを、前記加工面に直接接合する工程と、
を含む半導体製造装置用部材の再生方法。
発明の詳細な説明
【技術分野】
【0001】
本発明は、半導体製造装置用部材及びその再生方法に関する。
続きを表示(約 1,300 文字)
【背景技術】
【0002】
従来、半導体製造装置用部材として、プラズマを利用してウエハにCVDやエッチングなどを行うものが知られている。こうした半導体製造装置用部材としては、特許文献1に示されるように、静電電極が埋設されたセラミック誘電体層の上面にセラミック絶縁層を形成したものが知られている。セラミック絶縁層は、例えばCVD膜、PVD膜、AD膜又は溶射膜で形成される。セラミック絶縁層は、上面にウエハ載置面を有している。また、セラミック絶縁層の材質として、アルミナが例示されている。
【先行技術文献】
【特許文献】
【0003】
特許第7214867号公報
【発明の概要】
【発明が解決しようとする課題】
【0004】
しかしながら、一般にアルミナの熱伝導率は低いため、セラミック絶縁層の水平方向の熱伝導が不十分となり、ウエハの均熱性が十分得られないことがあった。また、セラミック絶縁層とセラミック誘電体層との接合強度が十分得られないことがあった。
【0005】
本発明は、上述した課題を解決するためになされたものであり、ウエハの均熱性を向上させると共にセラミックプレート同士の接合強度を高くすることを主目的とする。
【課題を解決するための手段】
【0006】
[1]本発明の半導体製造装置用部材は、
上面にウエハ載置面を有する第1セラミックプレートと、
前記第1セラミックプレートの下面に配置された第2セラミックプレートと、
前記第1セラミックプレートと前記第2セラミックプレートとの間に存在する第1アモルファス層と、
を備え、
前記第1セラミックプレートの熱伝導率は、アルミナ及び前記第2セラミックプレートの熱伝導率よりも高い、
ものである。
【0007】
この半導体製造装置用部材では、上面にウエハ載置面を有する第1セラミックプレートの熱伝導率は、アルミナ及び第2セラミックプレートの熱伝導率よりも高い。そのため、第1セラミックプレートは水平方向に熱が伝導しやすい。したがって、ウエハの均熱性が向上する。また、第1セラミックプレートと第2セラミックプレートとの間に第1アモルファス層が存在するため、両プレートの接合強度が比較的高くなる。
【0008】
本明細書において、「上」「下」は、絶対的な位置関係を表すものではなく、相対的な位置関係を表すものである。そのため、半導体製造装置用部材の向きによって「上」「下」は「下」「上」になったり「左」「右」になったり「前」「後」になったりする。
【0009】
[2]本発明の半導体製造装置用部材(前記[1]に記載の半導体製造装置用部材)において、前記第1セラミックプレートの熱伝導率は、36W/mK以上であってもよい。
【0010】
[3]本発明の半導体製造装置用部材(前記[1]又は[2]に記載の半導体製造装置用部材)において、前記第1セラミックプレートは窒化アルミニウムプレートであってもよく、前記第2セラミックプレートはアルミナプレートであってもよい。
(【0011】以降は省略されています)
この特許をJ-PlatPat(特許庁公式サイト)で参照する
関連特許
日本碍子株式会社
電池
1か月前
日本碍子株式会社
把持方法
10日前
日本碍子株式会社
熱交換器
14日前
日本碍子株式会社
熱交換器
6日前
日本碍子株式会社
ガスセンサ
1か月前
日本碍子株式会社
空調システム
2か月前
日本碍子株式会社
亜鉛二次電池
5日前
日本碍子株式会社
ハニカム構造体
10日前
日本碍子株式会社
電気加熱式担体
4日前
日本碍子株式会社
ハニカム構造体
4日前
日本碍子株式会社
ハニカム構造体
25日前
日本碍子株式会社
ハニカム構造体
3日前
日本碍子株式会社
ハニカム構造体
14日前
日本碍子株式会社
電気加熱式担体
3日前
日本碍子株式会社
ハニカム構造体
3日前
日本碍子株式会社
ハニカム構造体
1か月前
日本碍子株式会社
メタン製造反応器
3日前
日本碍子株式会社
アルカリ二次電池
14日前
日本碍子株式会社
ハニカムフィルタ
3日前
日本碍子株式会社
導波素子の製造方法
17日前
日本碍子株式会社
ウォーキングビーム炉
5日前
日本碍子株式会社
三相型ハニカムヒータ
3日前
日本碍子株式会社
半導体製造装置用部材
1か月前
日本碍子株式会社
セラミックス部材の製造方法
5日前
日本碍子株式会社
センサ素子およびガスセンサ
1か月前
日本碍子株式会社
センサ素子およびガスセンサ
12日前
日本碍子株式会社
セラミックス試料の酸分解方法
4日前
日本碍子株式会社
AlN単結晶基板及びデバイス
14日前
日本碍子株式会社
ロボットハンドおよびロボット
10日前
日本碍子株式会社
ロボットハンドおよびロボット
10日前
日本碍子株式会社
浄水膜構造体および浄水膜組立体
4日前
日本碍子株式会社
流体処理装置用筒状部材の製造方法
2か月前
日本碍子株式会社
ハニカム構造体及びハニカムヒータ
3日前
日本碍子株式会社
放射性廃棄物の処理方法及び保管装置
4日前
日本碍子株式会社
車両用空調システム及びその制御方法
2か月前
日本碍子株式会社
半導体製造装置用部材及びその再生方法
3日前
続きを見る
他の特許を見る