TOP
|
特許
|
意匠
|
商標
特許ウォッチ
Twitter
他の特許を見る
公開番号
2025093351
公報種別
公開特許公報(A)
公開日
2025-06-24
出願番号
2023208940
出願日
2023-12-12
発明の名称
液滴検出装置
出願人
東京都公立大学法人
代理人
個人
主分類
G08B
21/00 20060101AFI20250617BHJP(信号)
要約
【課題】従来技術に比べて、液滴の検出精度を向上させること。
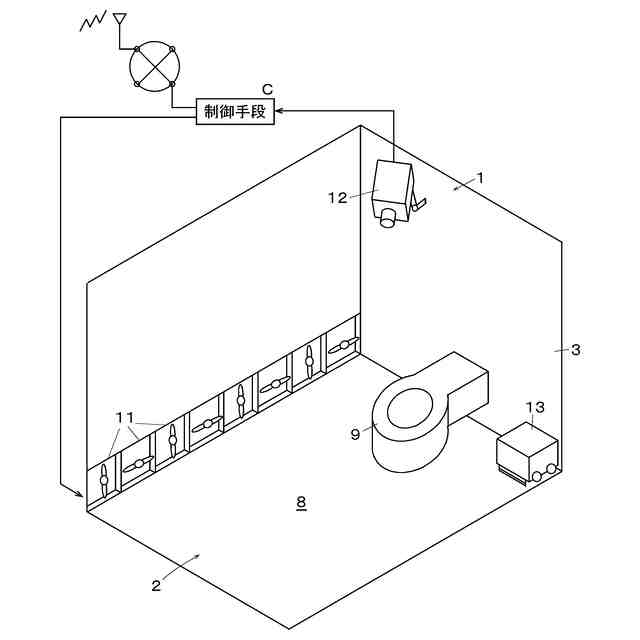
【解決手段】液滴(21)を検知する対象となる検知対象部(8)に向けて送風する送風手段(11)と、送風手段(11)で送風された検知対象部(8)の熱画像を撮影する熱画像撮影手段(12)と、熱画像における温度分布に基づいて液滴(21)を検出する液滴検出手段(C4)と、を備えた液滴検出装置(1)。
【選択図】図1
特許請求の範囲
【請求項1】
液滴を検知する対象となる検知対象部に向けて送風する送風手段と、
前記送風手段で送風された前記検知対象部の熱画像を撮影する熱画像撮影手段と、
前記熱画像における温度分布に基づいて、液滴を検出する液滴検出手段と、
を備えたことを特徴とする液滴検出装置。
発明の詳細な説明
【技術分野】
【0001】
本発明は、液滴検出装置に関する。
続きを表示(約 2,000 文字)
【背景技術】
【0002】
コンビニエンスストアやスーパーマーケット等の店舗、施設の床面や、トイレにおいて、床面に液滴が付着する状況がある。トイレの床面には尿の飛沫が飛散したり、手洗い時の水が飛散したりする場合があり、放置すると不衛生であったり、臭いが発生する問題がある。また、コンビニエンスストアやスーパーマーケット等の店舗、施設の床面には、飲料がこぼれたり、雨で濡れた傘からの滴が店内の床面を濡らしたりすることもあり、放置すると利用者が滑って怪我をしたり、利用者の靴を汚したり、また、不衛生であったりする問題もある。液滴の検出に関し下記の非特許文献1~3に記載の技術が公知である。
【0003】
非特許文献1には、ベルトコンベアのベルトの複数の画像をAI(人工知能)で機械学習を行って、ベルト上に付着した水滴を検出する技術が記載されている。
非特許文献2には、自動車等の移動する乗り物で撮影された動画から画像解析で窓に付着した雨粒等を検出して、雨粒が除去された映像を生成する技術が記載されている。
非特許文献3には、熱画像(赤外線画像)を使用して、地下に埋設されたパイプからの水漏れを検出する技術が記載されている。
【先行技術文献】
【非特許文献】
【0004】
X Li、他5名,”A novel attentive generative adversarial network for waterdrop detection and removal of rubber conveyor belt image ",Mathematical Problems in Engineering,vol.2020,pp.1-11,2020
H. C. Liao、他3名,”Video-based water drop detection and removal method for a moving vehicle ",Inf. Technol. J,Vol.12,No.4,pp.569-583,2013
C. Penteado、他5名,”Water leaks detection based on thermal images ",in 2018 IEEE international smart cities conference (ISC2). IEEE,2018,pp.1-8
【発明の概要】
【発明が解決しようとする課題】
【0005】
(従来技術の問題点)
非特許文献1,2に記載の従来技術では、液滴とカメラの距離が近く、画像上に生じる液滴の形をしたノイズを検出することで液滴の検出を行っているが、液滴とカメラが離れている場合には検出しにくい問題がある。
非特許文献3記載の技術では、水が継続的に漏れている場合には、水と周囲との温度差が継続的に発生しやすく、熱画像で漏水と配管等を区別し易いが、床面に飛散した液滴は、液滴の温度と床面の温度が速やかに同じ温度になりやすく、熱画像で検知しにくい問題がある。
【0006】
本発明は、従来技術に比べて、液滴の検出精度を向上させることを技術的課題とする。
【課題を解決するための手段】
【0007】
前記技術的課題を解決するために、請求項1に記載の発明の液滴検出装置は、
液滴を検知する対象となる検知対象部に向けて送風する送風手段と、
前記送風手段で送風された前記検知対象部の熱画像を撮影する熱画像撮影手段と、
前記熱画像における温度分布に基づいて、液滴を検出する液滴検出手段と、
を備えたことを特徴とする。
【発明の効果】
【0008】
請求項1に記載の発明によれば、従来技術に比べて、液滴の検出精度を向上させることができる。
【図面の簡単な説明】
【0009】
図1は本発明の実施例1の液滴検出装置の説明図である。
図2は実施例1の制御部の機能ブロック図である。
図3は液滴が検出される熱画像の一例の説明図である。
図4は実施例1の液滴検出プログラムのフローチャートの説明図である。
【発明を実施するための形態】
【0010】
次に図面を参照しながら、本発明の実施の形態の具体例(以下、実施例と記載する)を説明するが、本発明は以下の実施例に限定されるものではない。
なお、以下の図面を使用した説明において、理解の容易のために説明に必要な部材以外の図示は適宜省略されている。
【実施例】
(【0011】以降は省略されています)
特許ウォッチbot のツイートを見る
この特許をJ-PlatPat(特許庁公式サイト)で参照する
関連特許
日本精機株式会社
路面投影装置
3か月前
日本精機株式会社
警報システム
1か月前
個人
自動電動車椅子
15日前
エムケー精工株式会社
車両誘導装置
1か月前
スズキ株式会社
運転支援装置
1か月前
ニッタン株式会社
発信機
1か月前
ニッタン株式会社
検知器
25日前
個人
磁気路上での車両の路線離脱防御
4日前
個人
防犯に特化したアプリケーション
3か月前
株式会社国際電気
防災システム
1か月前
ニッタン株式会社
検知器
23日前
ニッタン株式会社
発信機
2か月前
ニッタン株式会社
検知器
23日前
ニッタン株式会社
検知器
1日前
ニッタン株式会社
発信機
1か月前
ニッタン株式会社
発信機
3か月前
TOA株式会社
拡声放送システム
3か月前
東京都公立大学法人
液滴検出装置
3か月前
トヨタ自動車株式会社
車両
1か月前
日本信号株式会社
信号情報システム
2か月前
日本信号株式会社
異常走行検出装置
8日前
株式会社アジラ
データ転送システム
3か月前
株式会社小糸製作所
移動体検出装置
25日前
株式会社JVCケンウッド
警報装置
2か月前
日本信号株式会社
情報提供システム
2か月前
トヨタ自動車株式会社
サーバ
8日前
個人
乗り物の移動を支援する方法及び装置
2か月前
株式会社SUBARU
運転支援装置
2日前
株式会社CCT
通信装置及び表示方法
1日前
株式会社小糸製作所
車両検出システム
25日前
日本精機株式会社
報知装置及び報知システム
14日前
株式会社JVCケンウッド
情報処理装置
3か月前
日本信号株式会社
交通信号制御システム
2か月前
トヨタ自動車株式会社
回避動作判別装置
2か月前
能美防災株式会社
火災感知器
28日前
個人
現示内容に関する情報放送機能付き信号機
2か月前
続きを見る
他の特許を見る