TOP
|
特許
|
意匠
|
商標
特許ウォッチ
Twitter
他の特許を見る
公開番号
2025101612
公報種別
公開特許公報(A)
公開日
2025-07-07
出願番号
2023218575
出願日
2023-12-25
発明の名称
免震建物構造
出願人
株式会社大林組
代理人
個人
,
個人
,
個人
主分類
E04H
9/02 20060101AFI20250630BHJP(建築物)
要約
【課題】ジャッキにより支持される梁のコストを低減することが可能な免震建物構造を提供することである。
【解決手段】地盤3に接する下部構造体10と、下部構造体10に設置された免震装置20と、免震装置20の上面24に取り付けられた柱11と、柱11に接続された梁12と、を有する免震建物構造1であって、梁12が、一部に他部16よりも梁成が高い梁成増加部15を有することを特徴とする免震建物構造1。
【選択図】図2
特許請求の範囲
【請求項1】
地盤に接する下部構造体と、前記下部構造体に設置された免震装置と、前記免震装置の上面に取り付けられた柱と、前記柱に接続された梁と、を有する免震建物構造であって、
前記梁の一部は、前記梁の他部よりも高い梁成を有した梁成増加部であることを特徴とする免震建物構造。
続きを表示(約 300 文字)
【請求項2】
前記梁成増加部が、前記梁の一端から他端に向けて、前記一端と前記他端との間の中央位置と前記一端との間の位置にまで延びて設けられている、請求項1に記載の免震建物構造。
【請求項3】
前記梁が、
H形鋼により形成され、一端において前記柱に接続された梁本体部と、
T形鋼により前記梁本体部よりも短く形成され、一端において前記柱に接続されるとともにウェブにおいて前記梁本体部の下フランジに接合された補強材と、を有し、
前記梁成増加部は、前記梁本体部のなかで前記補強材に接合された部分と、前記補強材とから構成されている、請求項1または2に記載の免震建物構造。
発明の詳細な説明
【技術分野】
【0001】
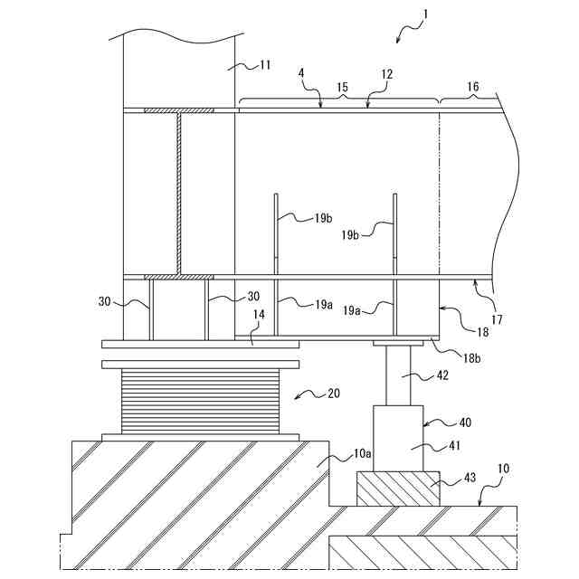
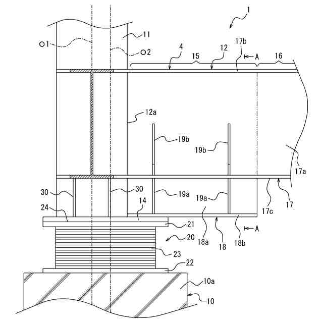
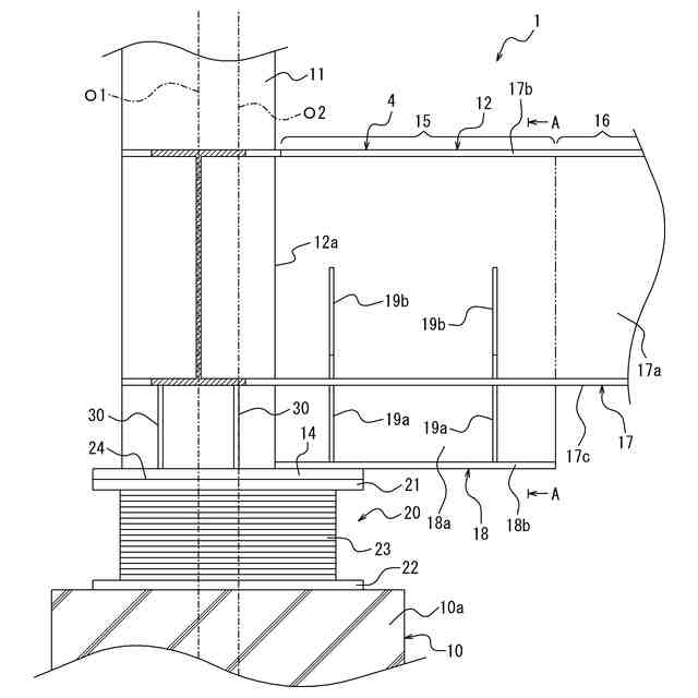
本発明は、免震建物構造に関する。
続きを表示(約 1,200 文字)
【背景技術】
【0002】
例えばオフィスビルなどの建物の構造として、地盤に接する基礎などの下部構造体に免震装置を設置し、建物の躯体を構成する柱を免震装置の上面に取り付けることで、建物の柱と梁とを含む上部構造体が免震装置により免震されるようにした免震構造のものが知られている(例えば特許文献1参照)。
【先行技術文献】
【特許文献】
【0003】
特開2022-116397号公報
【発明の概要】
【発明が解決しようとする課題】
【0004】
免震構造を有する建物では、免震装置の作動信頼性を確保するために、一定期間毎に免震装置を交換するのが一般的である。免震装置の交換は、免震装置に支持された柱に接続された梁と下部構造体との間にジャッキを設置し、このジャッキにより梁を支持した状態で免震装置を着脱することにより行われる。
【0005】
しかし、ジャッキに支持される梁は、ジャッキから受ける反力に耐え得る強度を有する必要があるため、躯体が必要とする梁の強度ではジャッキから受ける反力に耐えられない場合には、梁として、より高い梁成を有する高強度のものを用いる必要があり、その分、梁のコストが増加してしまうという問題点があった。
【0006】
本発明は、このような課題に鑑みてなされたものであり、その目的は、ジャッキにより支持される梁のコストを低減することが可能な免震建物構造を提供することにある。
【課題を解決するための手段】
【0007】
本発明の免震建物構造は、地盤に接する下部構造体と、前記下部構造体に設置された免震装置と、前記免震装置の上面に取り付けられた柱と、前記柱に接続された梁と、を有する免震建物構造であって、前記梁の一部は、前記梁の他部よりも高い梁成を有した梁成増加部であることを特徴とする。
【0008】
本発明の免震建物構造は、上記構成において、前記梁成増加部が、前記梁の一端から他端に向けて、前記一端と前記他端との間の中央位置と前記一端との間の位置にまで延びて設けられているのが好ましい。
【0009】
本発明の免震建物構造は、上記構成において、前記梁が、H形鋼により形成され、一端において前記柱に接続された梁本体部と、T形鋼により前記梁本体部よりも短く形成され、一端において前記柱に接続されるとともにウェブにおいて前記梁本体部の下フランジに接合された補強材と、を有し前記梁成増加部は、前記梁本体部のなかで前記補強材に接合された部分と、前記補強材とから構成されているのが好ましい。
【発明の効果】
【0010】
本発明によれば、ジャッキにより支持される梁のコストを低減することが可能な免震建物構造を提供することができる。
【図面の簡単な説明】
(【0011】以降は省略されています)
この特許をJ-PlatPat(特許庁公式サイト)で参照する
関連特許
株式会社大林組
接合構造
1か月前
株式会社大林組
基礎構造
2か月前
株式会社大林組
飛込み台
1か月前
株式会社大林組
測定方法
1か月前
株式会社大林組
開封装置
6日前
株式会社大林組
加熱装置
6日前
株式会社大林組
接続構造
9日前
株式会社大林組
操縦装置
9日前
株式会社大林組
接合構造
9日前
株式会社大林組
仮設建築物
1か月前
株式会社大林組
免震建築物
2か月前
株式会社大林組
ドリル装置
9日前
株式会社大林組
建物の構造
1か月前
株式会社大林組
空調システム
2か月前
株式会社大林組
監視システム
2か月前
株式会社大林組
折畳み構造物
12日前
株式会社大林組
スロープ構造
6日前
株式会社大林組
耐火被覆構造
1か月前
株式会社大林組
ルーバー構造
2か月前
株式会社大林組
積層材成型方法
3か月前
株式会社大林組
建物の躯体構造
2か月前
株式会社大林組
建物の躯体構造
2か月前
株式会社大林組
床板の設置方法
1か月前
株式会社大林組
シャッター装置
3か月前
株式会社大林組
可搬式充電設備
1か月前
株式会社大林組
リフトアップ装置
1か月前
株式会社大林組
リフトアップ装置
1か月前
株式会社大林組
鋼矢板の圧入方法
1か月前
株式会社大林組
安全支援システム
2か月前
株式会社大林組
大梁胴縁接続構造
今日
株式会社大林組
日射遮蔽発電装置
2か月前
株式会社大林組
作業支援システム
2か月前
株式会社大林組
地震損失評価方法
3か月前
株式会社大林組
袋体付き排水パイプ
1か月前
株式会社大林組
建築物及び建築方法
1か月前
株式会社大林組
建築方法及び建築物
3か月前
続きを見る
他の特許を見る