TOP
|
特許
|
意匠
|
商標
特許ウォッチ
Twitter
他の特許を見る
公開番号
2025112551
公報種別
公開特許公報(A)
公開日
2025-08-01
出願番号
2024006842
出願日
2024-01-19
発明の名称
情報処理システム及びその方法
出願人
日本電気株式会社
代理人
個人
主分類
G08G
1/00 20060101AFI20250725BHJP(信号)
要約
【課題】移動体の移動可能エリア内のサブエリア内で撮影された環境の画像を、移動体の移動支援において用いるための代替の又は改良された方法を提供する。
【解決手段】情報処理システムは、移動体の移動可能エリア内の複数のサブエリアの各々における通信品質情報を取得し、これら複数のサブエリアの各々において撮影された環境の画像データを取得する。情報処理システムは、各サブエリアの画像データから得られた情報を、当該サブエリアにおける通信品質を移動体の移動支援のために評価又は使用する際に考慮する。
【選択図】図3
特許請求の範囲
【請求項1】
移動体の移動可能エリア内の複数のサブエリアの各々における通信品質情報を取得する手段と、
前記複数のサブエリアの各々において撮影された環境の画像データを取得する手段と、
各サブエリアの前記画像データから得られた情報を、当該サブエリアにおける通信品質を前記移動体の移動支援のために評価又は使用する際に考慮する手段と、
を備える情報処理システム。
続きを表示(約 1,200 文字)
【請求項2】
前記考慮する手段は、各サブエリアの前記画像データから特定の物体の像が検出されたか否かに応じて、当該サブエリアの通信品質関連スコアを調整するよう構成される、
請求項1に記載の情報処理システム。
【請求項3】
前記考慮する手段は、各サブエリアの前記画像データから特定の物体の像が検出されたなら、前記特定の物体の像が検出されなかった場合に比べて当該サブエリアの前記通信品質が高いとされるように、当該サブエリアの前記通信品質関連スコアを調整するよう構成される、
請求項2に記載の情報処理システム。
【請求項4】
前記考慮する手段は、各サブエリアの前記通信品質と、当該サブエリアの前記画像データから特定の物体の像が検出されたか否かと、に基づいて、前記移動体の移動支援のための動作を決定するよう構成される、
請求項1に記載の情報処理システム。
【請求項5】
前記考慮する手段は、各サブエリアの前記通信品質の劣化の原因を、当該サブエリアの前記画像データから検出された物体の像に基づいて推測するよう構成される、
請求項1に記載の情報処理システム。
【請求項6】
前記考慮する手段は、前記移動体の移動支援に使用される各サブエリアの通信品質関連スコアを、前記画像データから得られた情報に基づいて調整するよう構成される、
請求項1に記載の情報処理システム。
【請求項7】
前記考慮する手段は、各サブエリアの前記通信品質に基づいて前記移動体の移動支援のための特定の動作を行うか否かを判定するために、前記画像データから得られた情報を用いるよう構成される、
請求項1に記載の情報処理システム。
【請求項8】
前記通信品質は、通信の安定性を表すパラメータを含む、
請求項1~7のいずれか1項に記載の情報処理システム。
【請求項9】
移動体の移動可能エリア内の複数のサブエリアの各々における通信品質情報を取得すること、
前記複数のサブエリアの各々において撮影された環境の画像データを取得すること、及び
各サブエリアの前記画像データから得られた情報を、当該サブエリアにおける通信品質を前記移動体の移動支援のために評価又は使用する際に考慮すること、
を備える、情報処理システムにより行われる方法。
【請求項10】
移動体の移動可能エリア内の複数のサブエリアの各々における通信品質情報を取得すること、
前記複数のサブエリアの各々において撮影された環境の画像データを取得すること、及び
各サブエリアの前記画像データから得られた情報を、当該サブエリアにおける通信品質を前記移動体の移動支援のために評価又は使用する際に考慮すること、
を備える方法をコンピュータに行わせるためのプログラム。
発明の詳細な説明
【技術分野】
【0001】
本開示は、情報処理システム及びその方法に関し、特に移動体の移動を支援するための情報処理システム及びその方法に関する。
続きを表示(約 2,100 文字)
【背景技術】
【0002】
特許文献1は、移動体(例えば、自動運転車)の遠隔監視について開示している。特許文献1には、装置が、移動体の複数の候補経路の通信安定性を評価し、この評価結果に基づいて、複数の候補経路の中から移動体の移動経路を決定することが記載されている。特許文献1における通信安定性は、無線通信網の通信品質が通信品質要件を満足する可能性、又は無線通信網の通信品質が通信品質要件を満足しない可能性を示す指標を意味する。各候補経路の通信安定性を評価するために、例えば、装置は、場所ごと及び通信方向別(つまり、上り通信または下り通信)に測定された通信品質を用いる。装置は、メッシュ状に分割された数十メートル四方の領域ごとに通信品質情報を保持してもよい。当該領域内に複数の通信品質測定値または解析値が含まれる場合、装置は、これらの中央値又は平均値などの統計値を算出し、算出された統計値を当該領域の代表値としてもよい。基地局の混雑度は時間及び曜日に依存して変化し得るため、装置は時間帯ごとに品質情報を保持してもよい。
【先行技術文献】
【特許文献】
【0003】
国際公開第2022/009309号
【発明の概要】
【発明が解決しようとする課題】
【0004】
特許文献1は、移動体の移動可能エリア内の複数のサブエリアの各々について通信品質情報を保持し、複数の候補経路の通信安定性を評価し、この評価結果に基づいて、複数の候補経路の中から移動体の移動経路を決定することを開示している。しかしながら、特許文献1は、移動体の移動支援、例えば移動体の候補経路の決定または移動体の動作の決定、のために各サブエリアの通信品質を評価または使用する際に、各サブエリア内で撮影された環境の画像データから得られる情報を考慮又は利用することを教示していない。移動体の移動可能エリア内のサブエリア内で撮影された環境の画像を、移動体の移動支援において用いるための代替の又は改良された方法が必要とされるかもしれない。
【0005】
本明細書に開示される実施形態が達成しようとする目的の1つは、上述された課題を含む複数の課題のうち少なくとも1つを解決することに寄与する装置、方法、及びプログラムを提供することである。なお、この目的は、本明細書に開示される複数の実施形態が達成しようとする複数の目的の1つに過ぎないことに留意されるべきである。その他の目的又は課題と新規な特徴は、本明細書の記述又は添付図面から明らかにされる。
【課題を解決するための手段】
【0006】
第1の態様では、情報処理システムは、移動体の移動可能エリア内の複数のサブエリアの各々における通信品質情報を取得し、前記複数のサブエリアの各々において撮影された環境の画像データを取得するよう構成される。前記情報処理システムは、各サブエリアの前記画像データから得られた情報を、当該サブエリアにおける通信品質を前記移動体の移動支援のために評価又は使用する際に考慮するよう構成される。
【0007】
第2の態様では、情報処理システムにより行われる方法は、(a)移動体の移動可能エリア内の複数のサブエリアの各々における通信品質情報を取得すること、(b)前記複数のサブエリアの各々において撮影された環境の画像データを取得すること、及び(c)各サブエリアの前記画像データから得られた情報を、当該サブエリアにおける通信品質を前記移動体の移動支援のために評価又は使用する際に考慮することを含む。
【0008】
第3の態様では、プログラムは、コンピュータに読み込まれた場合に、第2の態様で説明された方法をコンピュータに行わせるための命令群(ソフトウェアコード)を含む。
【発明の効果】
【0009】
上述の態様によれば、上述された課題を含む複数の課題のうち少なくとも1つを解決することに寄与する装置、方法、及びプログラムを提供できる。
【図面の簡単な説明】
【0010】
1又はそれ以上の実施形態に関係する、移動体の遠隔監視のための様々な構成要素を示す概略図である。
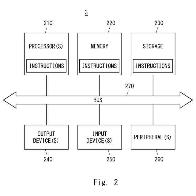
1又はそれ以上の実施形態に関係するコンピュータシステムの構成例を示す図である。
1又はそれ以上の実施形態に関係する、情報処理装置又はシステムの動作の一例を示すフローチャートである。
1又はそれ以上の実施形態に関係する、情報処理装置又はシステムの動作の一例を示すフローチャートである。
1又はそれ以上の実施形態に関係する、情報処理装置又はシステムの動作の一例を示すフローチャートである。
1又はそれ以上の実施形態に関係する、情報処理装置又はシステムの動作の一例を示すフローチャートである。
1又はそれ以上の実施形態に関係する、地図画面表示の一例を示す図である。
【発明を実施するための形態】
(【0011】以降は省略されています)
この特許をJ-PlatPat(特許庁公式サイト)で参照する
関連特許
日本電気株式会社
分析装置
7日前
日本電気株式会社
学習装置
1か月前
日本電気株式会社
超伝導量子回路
27日前
日本電気株式会社
マルチバンドバラン
25日前
日本電気株式会社
検知装置および検知方法
7日前
日本電気株式会社
通信装置および通信方法
3日前
日本電気株式会社
送信装置および通信装置
3日前
日本電気株式会社
量子回路装置と制御方法
7日前
日本電気株式会社
量子回路装置と制御方法
7日前
日本電気株式会社
分析方法および分析システム
4日前
日本電気株式会社
端末装置および無線通信方法
18日前
日本電気株式会社
機器冷却装置及びその冷却方法
19日前
日本電気株式会社
プログラム、算出装置、及び方法
19日前
日本電気株式会社
共振器及びそれを備えた導波回路
5日前
日本電気株式会社
処理装置、方法、及びプログラム
1か月前
日本電気株式会社
推定装置、推定方法及びプログラム
10日前
日本電気株式会社
システム及びマイグレーション方法
7日前
日本電気株式会社
リング共振器、およびその製造方法
1か月前
日本電気株式会社
リング共振器、およびその製造方法
1か月前
日本電気株式会社
推定装置、推定方法及びプログラム
10日前
日本電気株式会社
ピーク抑圧装置及びピーク抑圧方法
17日前
日本電気株式会社
処理装置、処理方法、及びプログラム
7日前
日本電気株式会社
波長可変レーザ装置及びその構成方法
3日前
日本電気株式会社
推定装置、推定方法、及び、記録媒体
4日前
日本電気株式会社
画像管理システムおよび画像管理方法
5日前
日本電気株式会社
注文端末、注文受付方法及びプログラム
3日前
日本電気株式会社
通信装置、通信方法及び通信プログラム
4日前
日本電気株式会社
判定装置、判定方法、及び、プログラム
27日前
日本電気株式会社
通信システム及びパケット順序補正方法
18日前
日本電気株式会社
管理システム、管理方法及びプログラム
17日前
日本電気株式会社
予測システム、予測方法及びプログラム
10日前
日本電気株式会社
性能監視装置、性能監視方法、プログラム
3日前
日本電気株式会社
情報処理装置、情報処理方法、プログラム
1か月前
日本電気株式会社
管理装置、管理方法および管理プログラム
5日前
日本電気株式会社
情報処理装置、情報処理方法、プログラム
1か月前
日本電気株式会社
マルチコアファイバ増幅器及び光増幅方法
25日前
続きを見る
他の特許を見る