TOP
|
特許
|
意匠
|
商標
特許ウォッチ
Twitter
他の特許を見る
公開番号
2025112889
公報種別
公開特許公報(A)
公開日
2025-08-01
出願番号
2024007412
出願日
2024-01-22
発明の名称
密封装置及び密封構造
出願人
内山工業株式会社
代理人
協明国際弁理士法人
主分類
F16J
15/3256 20160101AFI20250725BHJP(機械要素または単位;機械または装置の効果的機能を生じ維持するための一般的手段)
要約
【課題】泥水等の異物の侵入を抑制し得る密封装置及び密封構造を提供する。
【解決手段】相対的に回転する外側部材2及び内側部材5間に形成される環状空間Sを密封する密封装置10であって、前記外側部材に装着される第1部材11と、前記内側部材に装着される第2部材24と、を備え、前記第2部材は、内側スリンガ部材25と外側スリンガ部材31とを有しており、前記内側スリンガ部材は、前記内側部材の外周面に嵌合される内側円筒部26と、該内側円筒部よりも外径側に設けられた外側円筒部29と、を備え、前記外側スリンガ部材は、前記外側円筒部の外周面に嵌合される嵌合円筒部32と、該嵌合円筒部の一端部から径方向に延出して形成され前記第1部材との間に第1ラビリンスシールR1を構成する第1円輪部33と、を備えている。
【選択図】図2
特許請求の範囲
【請求項1】
相対的に回転する外側部材及び内側部材間に形成される環状空間を密封する密封装置であって、
前記外側部材に装着される第1部材と、前記内側部材に装着される第2部材と、を備え、
前記第2部材は、内側スリンガ部材と外側スリンガ部材とを有しており、
前記内側スリンガ部材は、前記内側部材の外周面に嵌合される内側円筒部と、該内側円筒部よりも外径側に設けられた外側円筒部と、を備え、
前記外側スリンガ部材は、前記外側円筒部の外周面に嵌合される嵌合円筒部と、該嵌合円筒部の一端部から径方向に延出して形成され前記第1部材との間に第1ラビリンスシールを構成する第1円輪部と、を備えていることを特徴とする密封装置。
続きを表示(約 990 文字)
【請求項2】
請求項1において、
前記嵌合円筒部は、当該密封装置の周囲に設けられる周辺部材との間に第2ラビリンスシールを構成することを特徴とする密封装置。
【請求項3】
請求項1において、
前記外側スリンガ部材は、前記嵌合円筒部から外径側に延出して形成された前記第1円輪部と内径側に延出して形成された第2円輪部とを有し、
前記第2円輪部は、当該密封装置の周囲に設けられる周辺部材との間に第2ラビリンスシールを構成することを特徴とする密封装置。
【請求項4】
請求項1乃至請求項3のいずれか一項において、
前記内側スリンガ部材及び前記外側スリンガ部材が前記内側部材に装着された状態で、前記嵌合円筒部の軸方向における外部空間側の端部が、前記外側円筒部よりも外部空間側に突出することを特徴とする密封装置。
【請求項5】
請求項1乃至請求項3のいずれか一項において、
前記内側スリンガ部材は、磁気エンコーダを構成する磁性体を備えていることを特徴とする密封装置。
【請求項6】
請求項1乃至請求項3のいずれか一項において、
前記第1部材における前記第1ラビリンスシールよりも内径側には、先端が前記第2部材に近接または摺接するように延出して形成されたシールリップが設けられていることを特徴とする密封装置。
【請求項7】
相対的に回転する外側部材及び内側部材間に形成された環状空間を密封装置によって密封する密封構造であって、
前記密封装置は、前記外側部材に装着される第1部材と、前記内側部材に装着される第2部材と、を備え、
前記第2部材は、内側スリンガ部材と外側スリンガ部材とを有しており、
前記内側スリンガ部材は、前記内側部材の外周面に嵌合される内側円筒部と、該内側円筒部よりも外径側に設けられた外側円筒部と、を備え、
前記外側スリンガ部材は、前記外側円筒部の外周面に嵌合される嵌合円筒部と、該嵌合円筒部の一端部から径方向に延出して形成され前記第1部材との間に第1ラビリンスシールを構成する第1円輪部と、を備えており、前記密封装置の周囲に設けられた周辺部材との間に第2ラビリンスシールを構成していることを特徴とする密封構造。
発明の詳細な説明
【技術分野】
【0001】
本発明は、密封装置及び密封構造に関する。
続きを表示(約 2,300 文字)
【背景技術】
【0002】
従来より、外側部材及び内側部材によって構成される環状空間への泥水等の異物の侵入を抑制する密封装置が知られている。
例えば、下記特許文献1では、ベアリングの外側レースに嵌着された外側ケースと、ベアリングの内側レースのスラストリブに嵌着された内側軸方向壁を有したキャリヤと、を備えたシールが開示されている。このシールのキャリヤは、内側軸方向壁に連なり、外側レースの外向き面よりも外側に延びた外側径方向壁と、この外側径方向壁から軸方向に延び、外側レースの端部を取り囲む斜め戻り壁と、を含み、これら径方向に延びる径方向壁と軸方向に延びる接続壁とを複数備えて断面形状が蛇行状に形成されている。
【先行技術文献】
【特許文献】
【0003】
特表2001-510534号公報
【発明の概要】
【発明が解決しようとする課題】
【0004】
しかしながら、上記特許文献1に開示されたシールでは、ベアリングの外側レースに嵌着された外側ケースとによって流体障壁を実現するキャリヤの構造が複雑化する傾向があり、更なる改善が望まれる。
【0005】
本発明は、上記実情に鑑みてなされたものであり、泥水等の異物の侵入を抑制し得る密封装置及び密封構造を提供することを目的としている。
【課題を解決するための手段】
【0006】
上記目的を達成するために、本発明の密封装置の構成1は、相対的に回転する外側部材及び内側部材間に形成される環状空間を密封する密封装置であって、前記外側部材に装着される第1部材と、前記内側部材に装着される第2部材と、を備え、前記第2部材は、内側スリンガ部材と外側スリンガ部材とを有しており、前記内側スリンガ部材は、前記内側部材の外周面に嵌合される内側円筒部と、該内側円筒部よりも外径側に設けられた外側円筒部と、を備え、前記外側スリンガ部材は、前記外側円筒部の外周面に嵌合される嵌合円筒部と、該嵌合円筒部の一端部から径方向に延出して形成され前記第1部材との間に第1ラビリンスシールを構成する第1円輪部と、を備えていることを特徴とする。
【0007】
以下の実施の記載により、本発明に係る密封装置は、以下の従属的構成を備えてもよいことが開示される。
<構成2>
構成1において、前記嵌合円筒部は、当該密封装置の周囲に設けられる周辺部材との間に第2ラビリンスシールを構成してもよい。
<構成3>
構成1において、前記外側スリンガ部材は、前記嵌合円筒部から外径側に延出して形成された前記第1円輪部と内径側に延出して形成された第2円輪部とを有し、前記第2円輪部は、当該密封装置の周囲に設けられる周辺部材との間に第2ラビリンスシールを構成してもよい。
<構成4>
構成1乃至構成3のいずれか1つにおいて、前記内側スリンガ部材及び前記外側スリンガ部材が前記内側部材に装着された状態で、前記嵌合円筒部の軸方向における外部空間側の端部が、前記外側円筒部よりも外部空間側に突出してもよい。
<構成5>
構成1乃至構成4のいずれか1つにおいて、前記内側スリンガ部材は、磁気エンコーダを構成する磁性体を備えていてもよい。
<構成6>
構成1乃至構成5のいずれか1つにおいて、前記第1部材は、前記第1ラビリンスシールよりも内径側に設けられ、先端が前記第2部材に近接または摺接するように延出して形成されたシールリップを備えていてもよい。
【0008】
上記目的を達成するために、本発明の密封構造は、相対的に回転する外側部材及び内側部材間に形成された環状空間を密封装置によって密封する密封構造であって、前記密封装置は、前記外側部材に装着される第1部材と、前記内側部材に装着される第2部材と、を備え、前記第2部材は、内側スリンガ部材と外側スリンガ部材とを有しており、前記内側スリンガ部材は、前記内側部材の外周面に嵌合される内側円筒部と、該内側円筒部よりも外径側に設けられた外側円筒部と、を備え、前記外側スリンガ部材は、前記外側円筒部の外周面に嵌合される嵌合円筒部と、該嵌合円筒部の一端部から径方向に延出して形成され前記第1部材との間に第1ラビリンスシールを構成する第1円輪部と、を備えており、前記密封装置の周囲に設けられた周辺部材との間に第2ラビリンスシールを構成している。
【発明の効果】
【0009】
本発明の密封装置及び密封構造は上述した構成とされるため、泥水等の異物の侵入を抑制することができる。
【図面の簡単な説明】
【0010】
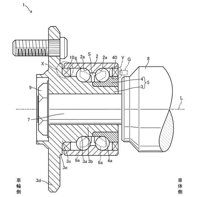
各実施形態に係る密封装置が装着される軸受装置の一例を示す概略的縦断面図である。
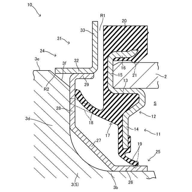
図1のX部の拡大図であって、第1実施形態に係る密封装置を模式的に示す概略的縦断面図である。
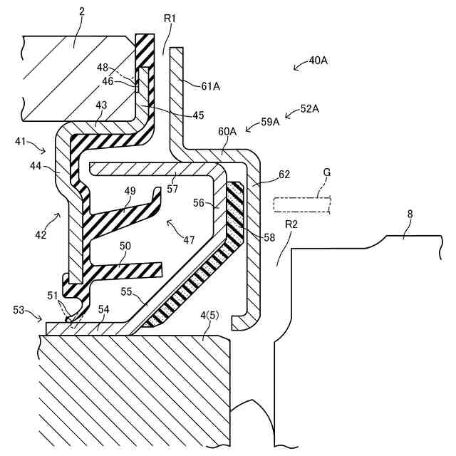
第2実施形態に係る密封装置を模式的に示す概略的縦断面図である。
図1のY部の拡大図であって、第3実施形態に係る密封装置を模式的に示す概略的縦断面図である。
第4実施形態に係る密封装置を模式的に示す概略的縦断面図である。
第5実施形態に係る密封装置を模式的に示す概略的縦断面図である。
【発明を実施するための形態】
(【0011】以降は省略されています)
この特許をJ-PlatPat(特許庁公式サイト)で参照する
関連特許
内山工業株式会社
日用品
1か月前
内山工業株式会社
太陽電池
10日前
内山工業株式会社
密封装置
24日前
内山工業株式会社
密封装置
1か月前
内山工業株式会社
密封装置
1か月前
内山工業株式会社
製造装置および製造方法
1か月前
内山工業株式会社
シール構造及びガスケット
5日前
内山工業株式会社
太陽電池及びその製造方法
1か月前
内山工業株式会社
密封装置及び密封装置の製造方法
18日前
内山工業株式会社
キャップ取付方法及び軸受キャップ
10日前
内山工業株式会社
アクリルゴム組成物およびアクリルゴム成形品
4日前
内山工業株式会社
ガスケット及びこれが組付けられたシール構造
2か月前
内山工業株式会社
電池シール材用シリコーンゴム組成物および電池シール材
1か月前
個人
鍋虫ねじ
1か月前
個人
回転伝達機構
2か月前
個人
ホース保持具
6か月前
個人
紛体用仕切弁
1か月前
個人
トーションバー
6か月前
個人
差動歯車用歯形
3か月前
個人
給排気装置
6日前
個人
ジョイント
24日前
個人
ナット
25日前
個人
ボルトナットセット
6か月前
個人
回転式配管用支持具
7か月前
株式会社不二工機
電磁弁
3か月前
株式会社不二工機
電磁弁
5か月前
個人
地震の揺れ回避装置
2か月前
株式会社オンダ製作所
継手
8か月前
個人
吐出量監視装置
1か月前
カヤバ株式会社
緩衝器
5日前
株式会社ミクニ
弁装置
8か月前
カヤバ株式会社
ダンパ
3か月前
株式会社ミクニ
弁装置
8か月前
カヤバ株式会社
緩衝器
7か月前
柿沼金属精機株式会社
分岐管
1か月前
個人
ベルトテンショナ
7か月前
続きを見る
他の特許を見る