TOP
|
特許
|
意匠
|
商標
特許ウォッチ
Twitter
他の特許を見る
公開番号
2025117308
公報種別
公開特許公報(A)
公開日
2025-08-12
出願番号
2024012072
出願日
2024-01-30
発明の名称
溶接加工プログラム設定装置、溶接加工制御装置及び溶接加工システム
出願人
株式会社アマダ
代理人
弁理士法人きさらぎ国際特許事務所
主分類
B23K
26/00 20140101AFI20250804BHJP(工作機械;他に分類されない金属加工)
要約
【課題】溶接加工プログラムの実行中に溶接加工条件を変更することが可能な溶接加工プログラム設定装置、溶接加工制御装置及び溶接加工システムに関する。
【解決手段】溶接機の溶接トーチを保持可能な溶接ロボットの動作情報と、溶接機の溶接加工条件とを含む溶接加工プログラムのプログラム作成条件を設定するためのプログラム作成条件設定画面を表示可能な表示部を備え、プログラム作成条件設定画面は、動作情報を表示可能に構成されると共に、溶接加工条件を設定可能に構成されており、動作情報は、溶接ロボットの移動行程及び移動行程における溶接開始位置を含み、溶接開始位置は、少なくとも第1の溶接開始位置及び第2の溶接開始位置を含み、プログラム作成条件設定画面は、第1の溶接開始位置及び第2の溶接開始位置ごとに溶接加工条件を設定可能に構成されている。
【選択図】図1
特許請求の範囲
【請求項1】
溶接機の溶接トーチを保持可能な溶接ロボットの動作情報と、前記溶接機の溶接加工条件とを含む溶接加工プログラムのプログラム作成条件を設定するためのプログラム作成条件設定画面を表示可能な表示部
を備え、
前記プログラム作成条件設定画面は、前記動作情報を表示可能に構成されると共に、前記溶接加工条件を設定可能に構成されており、
前記動作情報は、前記溶接ロボットの移動行程及び前記移動行程における溶接開始位置を含み、
前記溶接開始位置は、少なくとも第1の溶接開始位置及び第2の溶接開始位置を含み、
前記プログラム作成条件設定画面は、前記第1の溶接開始位置及び前記第2の溶接開始位置ごとに前記溶接加工条件を設定可能に構成されている
溶接加工プログラム設定装置。
続きを表示(約 1,700 文字)
【請求項2】
複数の前記溶接加工条件を格納する記憶部を更に備え、
前記プログラム作成条件設定画面は、前記記憶部に格納された複数の前記溶接加工条件から所定の前記溶接加工条件を選択可能に構成されている
請求項1に記載の溶接加工プログラム設定装置。
【請求項3】
前記表示部は、溶接加工条件リストを作成可能な溶接加工条件リスト画面を表示可能に構成されており、
前記溶接加工条件リスト画面は、前記溶接加工プログラムごとに前記溶接加工条件リストを作成可能に構成されており、
前記記憶部は、前記溶接加工条件リスト画面により作成された前記溶接加工条件リストを格納可能に構成されており、
前記プログラム作成条件設定画面は、前記記憶部に格納された前記溶接加工条件リストから所定の前記溶接加工条件を選択可能に構成されている
請求項2に記載の溶接加工プログラム設定装置。
【請求項4】
請求項1~3のいずれか1項に記載の溶接加工プログラム設定装置により設定された前記プログラム作成条件に基づいて作成された前記溶接加工プログラムに基づいて、少なくとも前記溶接機を制御可能な溶接加工制御部を備え、
前記溶接加工制御部は、前記溶接加工プログラムの実行中に、前記溶接開始位置に応じて前記溶接機における前記溶接加工条件の設定を変更させることが可能に構成されている
溶接加工制御装置。
【請求項5】
請求項1~3のいずれか1項に記載の溶接加工プログラム設定装置により設定された前記プログラム作成条件に基づいて、前記溶接加工プログラムを作成可能なプログラム作成部と、
溶接トーチを含む溶接機と、
前記溶接トーチを保持可能な溶接ロボットと、
前記プログラム作成部により作成された前記溶接加工プログラムに基づいて少なくとも前記溶接機を制御可能な溶接加工制御部と
を備え、
前記溶接加工制御部は、前記溶接加工プログラムの実行中に、前記溶接開始位置に応じて前記溶接機における前記溶接加工条件の設定を変更させることが可能に構成されている
溶接加工システム。
【請求項6】
前記溶接機を制御可能な溶接機制御部と、
前記溶接加工プログラムに基づいて前記溶接ロボットを制御可能なロボット制御部と
を更に備え、
前記溶接加工制御部は、前記溶接機制御部に対して、前記溶接機における前記溶接加工条件の設定を前記第1の溶接開始位置に応じた前記溶接加工条件に変更するよう指令し、
前記溶接機制御部は、前記溶接加工制御部から取得した指令に基づいて、前記溶接機における前記溶接加工条件の設定を前記第1の溶接開始位置に応じた前記溶接加工条件に変更し、
前記ロボット制御部は、前記溶接ロボットを前記第1の溶接開始位置から動作させ、かつ、前記第2の溶接開始位置で前記溶接ロボットの動作を一時停止させ、
前記ロボット制御部は、前記溶接加工制御部に対して、前記溶接ロボットの動作が一時停止されたことを示す動作一時停止通知を送信し、
前記溶接加工制御部は、前記ロボット制御部から前記動作一時停止通知を受信した後、前記溶接機制御部に対して、前記溶接機における前記溶接加工条件の設定を前記第2の溶接開始位置に応じた前記溶接加工条件に変更するよう指令し、
前記溶接機制御部は、前記溶接加工制御部から取得した指令に基づいて、前記溶接機における前記溶接加工条件の設定を前記第2の溶接開始位置に応じた前記溶接加工条件に変更し、
前記溶接加工制御部は、前記ロボット制御部に対して、前記溶接機における前記溶接加工条件の設定が変更されたことを示す条件変更通知を送信し、
前記ロボット制御部は、前記溶接加工制御部から前記条件変更通知を受信した後、前記溶接ロボットの動作を再開させる
請求項5に記載の溶接加工システム。
発明の詳細な説明
【技術分野】
【0001】
本発明は、溶接加工プログラム設定装置、溶接加工制御装置及び溶接加工システムに関する。
続きを表示(約 1,800 文字)
【背景技術】
【0002】
従来から、溶接ロボットと、溶接ロボットの先端部に一体的に設けられた溶接トーチ及びレーザ光を生成する発振器を含む溶接機と、溶接加工プログラムに基づいて溶接ロボットを制御可能な制御装置とを備える溶接装置が知られている(特許文献1等)。特許文献1に記載の溶接装置も含め、従来の溶接装置では、溶接ロボットが溶接加工プログラムに従って動作すると共に、発振器が溶接機に設定された溶接加工条件に基づいてレーザ光を放出し、発振器から放出されたレーザ光が溶接ロボットに保持された溶接トーチから複数のワークの溶接部位に向けて照射されることにより、複数のワークを溶接している。
【先行技術文献】
【特許文献】
【0003】
特開2021-142571号公報
【発明の概要】
【発明が解決しようとする課題】
【0004】
しかしながら、従来の溶接装置では、制御装置が溶接ロボットのみを制御しており、溶接機を制御していないため、溶接加工プログラムの実行中に溶接加工条件を変更することができないという問題がある。このため、複数のワークの溶接部位によって溶接加工条件が異なる場合には、当該溶接加工条件ごとに溶接加工プログラムを作成し、また、各溶接加工プログラムの実行前に溶接機における溶接加工条件の設定を都度変更しなければならず、作業者の作業効率が悪いという問題もある。
【0005】
本発明の一態様は、溶接加工プログラムの実行中に溶接加工条件を変更することが可能な溶接加工プログラム設定装置、溶接加工制御装置及び溶接加工システムに関する。
【課題を解決するための手段】
【0006】
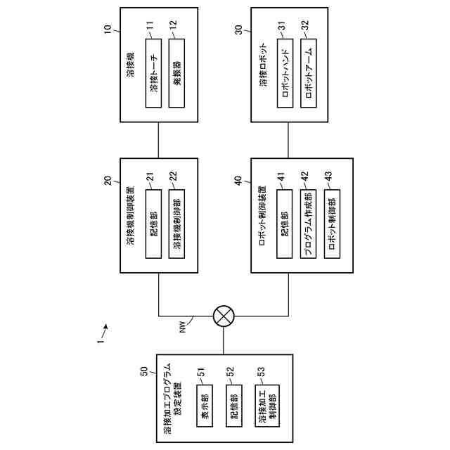
本発明の一態様に係る溶接加工プログラム設定装置は、溶接機の溶接トーチを保持可能な溶接ロボットの動作情報と、前記溶接機の溶接加工条件とを含む溶接加工プログラムのプログラム作成条件を設定するためのプログラム作成条件設定画面を表示可能な表示部を備え、前記プログラム作成条件設定画面は、前記動作情報を表示可能に構成されると共に、前記溶接加工条件を設定可能に構成されており、前記動作情報は、前記溶接ロボットの移動行程及び前記移動行程における溶接開始位置を含み、前記溶接開始位置は、少なくとも第1の溶接開始位置及び第2の溶接開始位置を含み、前記プログラム作成条件設定画面は、前記第1の溶接開始位置及び前記第2の溶接開始位置ごとに前記溶接加工条件を設定可能に構成されている。
【0007】
本発明の一態様に係る溶接加工制御装置は、少なくとも上記溶接加工プログラム設定装置により設定された前記プログラム作成条件に基づいて作成された前記溶接加工プログラムに基づいて、少なくとも前記溶接機を制御可能な溶接加工制御部を備え、前記溶接加工制御部は、前記溶接加工プログラムの実行中に、前記溶接開始位置に応じて前記溶接機における前記溶接加工条件の設定を変更させることが可能に構成されている。
【0008】
本発明の一態様に係る溶接加工システムは、少なくとも上記溶接加工プログラム設定装置により設定された前記プログラム作成条件に基づいて、前記溶接加工プログラムを作成可能なプログラム作成部と、溶接トーチを含む溶接機と、前記溶接トーチを保持可能な溶接ロボットと、前記プログラム作成部により作成された前記溶接加工プログラムに基づいて少なくとも前記溶接機を制御可能な溶接加工制御部とを備え、前記溶接加工制御部は、前記溶接加工プログラムの実行中に、前記溶接開始位置に応じて前記溶接機における前記溶接加工条件の設定を変更させることが可能に構成されている。
【0009】
本発明の一態様に係る溶接加工プログラム設定装置、溶接加工制御装置及び溶接加工システムによれば、溶接加工プログラムのプログラム作成条件を設定する際に、第1の溶接開始位置及び第2の溶接開始位置ごとに溶接加工条件を設定することができるため、溶接加工プログラムの実行中に溶接加工条件を変更することが可能になる。
【発明の効果】
【0010】
本発明の一態様に係る溶接加工プログラム設定装置、溶接加工制御装置及び溶接加工システムによれば、溶接加工プログラムの実行中に溶接加工条件を変更することが可能になる。
【図面の簡単な説明】
(【0011】以降は省略されています)
この特許をJ-PlatPat(特許庁公式サイト)で参照する
関連特許
株式会社アマダ
無人搬送車
4日前
株式会社アマダ
工作機械制御装置
4日前
株式会社アマダ
見積り作成システム
5日前
株式会社アマダ
プレスブレーキ制御装置及び曲げ速度算出方法
11日前
株式会社アマダ
生産管理システム、生産管理方法及び生産管理プログラム
4日前
株式会社アマダ
タレットパンチプレス及びタレットパンチプレスの制御方法
14日前
株式会社アマダ
生産管理システム、生産シミュレーション装置、生産シミュレーション方法及び生産シミュレーションプログラム
6日前
個人
フライス盤
1か月前
個人
加工機
5か月前
麗豊実業股フン有限公司
ラクトバチルス・パラカセイNB23菌株及びそれを筋肉量の増加や抗メタボリック症候群に用いる用途
4か月前
株式会社不二越
ドリル
5か月前
日東精工株式会社
ねじ締め機
4か月前
株式会社北川鉄工所
回転装置
4か月前
日東精工株式会社
ねじ締め機
1か月前
日東精工株式会社
ねじ締め機
4日前
日東精工株式会社
ねじ締め機
1か月前
株式会社ダイヘン
溶接電源装置
2か月前
日東精工株式会社
ねじ締め装置
3か月前
株式会社ダイヘン
溶接電源装置
2か月前
日東精工株式会社
ねじ締め装置
24日前
株式会社ダイヘン
溶接電源装置
2か月前
株式会社FUJI
工作機械
3か月前
株式会社FUJI
工作機械
10日前
個人
切削油供給装置
1か月前
株式会社FUJI
工作機械
3か月前
株式会社FUJI
工作機械
3日前
株式会社アンド
半田付け方法
5か月前
株式会社アンド
半田付け方法
1か月前
キヤノン電子株式会社
加工システム
2か月前
株式会社アンド
半田付け方法
5か月前
個人
型枠製造装置のフレーム
14日前
大見工業株式会社
ドリル
2か月前
村田機械株式会社
レーザ加工機
4か月前
村田機械株式会社
レーザ加工機
4か月前
株式会社ツガミ
工作機械
1か月前
株式会社トヨコー
被膜除去方法
4か月前
続きを見る
他の特許を見る