TOP
|
特許
|
意匠
|
商標
特許ウォッチ
Twitter
他の特許を見る
10個以上の画像は省略されています。
公開番号
2025117673
公報種別
公開特許公報(A)
公開日
2025-08-13
出願番号
2024012528
出願日
2024-01-31
発明の名称
信号切替装置
出願人
三菱電機株式会社
代理人
弁理士法人深見特許事務所
主分類
G01R
31/28 20060101AFI20250805BHJP(測定;試験)
要約
【課題】スイッチの数を削減すると共に、入力から出力への経路探索が容易である信号切替装置を提供する。
【解決手段】信号切替装置は、複数の入力信号の中から1個以上の入力信号を選択して、1個以上の中間信号として出力するように構成された入力信号切替部1と、入力信号切替部1から出力される1個以上の中間信号の中から1個以上の中間信号を選択して、1個以上の出力信号として出力するように構成された出力信号切替部2とを備える。
【選択図】図1
特許請求の範囲
【請求項1】
複数の入力信号の中から1個以上の入力信号を選択して、1個以上の中間信号として出力するように構成された入力信号切替部と、
前記入力信号切替部から出力される前記1個以上の中間信号の中から1個以上の中間信号を選択して、1個以上の出力信号として出力するように構成された出力信号切替部とを備える、信号切替装置。
続きを表示(約 1,900 文字)
【請求項2】
前記入力信号切替部は、複数の入力信号を伝送するためのL個の入力信号線と、複数の中間信号を伝送するためのM個の中間信号線とを接続または接続を遮断する複数の第1のスイッチを含み、
前記出力信号切替部は、複数の出力信号を伝送するためのN個の出力信号線と、前記M個の中間信号線とを接続または接続を遮断する複数の第2のスイッチを含む、ただし、L>M、N>Mである、請求項1記載の信号切替装置。
【請求項3】
前記複数の第1のスイッチは、L個の入力信号線のうちN1個の入力信号線と、N1個の中間信号線とをそれぞれ接続することが可能であり、
前記複数の第2のスイッチは、N個の出力信号線のうちN1個の出力信号線と、N1個の前記中間信号線とをそれぞれ接続することが可能であり、ただし、M≧N1である、請求項2記載の信号切替装置。
【請求項4】
前記入力信号切替部および前記出力信号切替部は、前記中間信号線と接続される中間端子を含み、
前記入力信号切替部および前記出力信号切替部内の前記中間端子は、隣接する前記入力信号切替部または前記出力信号切替部の前記中間端子と接続される、請求項2記載の信号切替装置。
【請求項5】
複数の前記入力信号切替部または複数の前記出力信号切替部を備える、請求項4記載の信号切替装置。
【請求項6】
複数の前記入力信号切替部および複数の前記出力信号切替部を備え、
前記入力信号切替部および前記出力信号切替部は、前記入力信号線または前記出力信号線と接続される入出力端子を含み、
前記入力信号切替部および前記出力信号切替部内の前記入出力端子は、隣接する前記入力信号切替部または前記出力信号切替部の前記入出力端子と接続される、請求項5記載の信号切替装置。
【請求項7】
複数の信号切替ボードを備える信号切替装置であって、
前記信号切替ボードは、
第1の方向に配置されたN個の入出力信号線と、
前記第1の方向に直交する第2の方向に配置されたM個の中間信号線と、
各々が、前記N個の入出力信号線のうちの1つと、前記M個の中間信号線のうちの1つとを接続または接続を遮断する(N×M)個のスイッチと、
前記入出力信号線と接続される入出力端子と、
前記中間信号線と接続される中間端子とを含み、
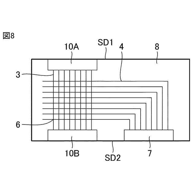
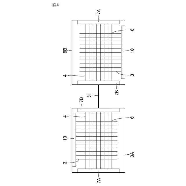
複数の前記信号切替ボードが前記第2の方向に沿って接続され、
前記第2の方向に隣接する2つの前記信号切替ボードの対向する前記中間端子が接続される、信号切替装置。
【請求項8】
複数の前記信号切替ボードが、前記第1の方向に沿って接続され、
前記第1の方向に隣接する2つの信号切替ボードの対向する前記入出力端子が接続される、請求項7記載の信号切替装置。
【請求項9】
複数の信号切替ボードと、基板とを備える信号切替装置であって、
前記信号切替ボードは、
第1の方向に配置されたN個の入出力信号線と、
前記第1の方向に直交する第2の方向に配置される第1の部分と、前記第1の方向に配置される第2の部分とを含むM個の中間信号線と、
各々が、前記N個の入出力信号線のうちの1つと、前記M個の中間信号線のうちの1つとを接続または接続を遮断する(N×M)個のスイッチと、
前記信号切替ボードの第1辺に配置され、前記入出力信号線の第1端と接続される第1の入出力端子と、
前記信号切替ボードの前記第1辺と対向する第2辺に配置され、前記入出力信号線の第2端と接続される第2の入出力端子と、
前記信号切替ボードの前記第2辺に配置され、前記中間信号線の前記第2の部分の一端と接続される中間端子とを含み、
複数の前記信号切替ボードの前記中間端子が、前記基板上の配線によって接続され、
複数の前記信号切替ボードの前記第2の入出力端子が、前記基板上の配線によって接続される、信号切替装置。
【請求項10】
A×B個の前記信号切替ボードを含み、
前記信号切替ボードは、第1の分類によって、第1~第Aのグループに分類され、
前記第1~第Aの各グループ内のB個の前記信号切替ボードの前記中間端子が前記基板上の配線によって接続され、
前記信号切替ボードは、第2の分類によって、第1~第Bのグループに分類され、
前記第1~第Bの各グループ内のA個の前記信号切替ボードの前記第2の入出力端子が前記基板上の配線によって接続される、請求項9記載の信号切替装置。
発明の詳細な説明
【技術分野】
【0001】
本開示は、信号切替装置に関する。
続きを表示(約 1,900 文字)
【背景技術】
【0002】
製品の汎用電気試験装置に様々な機種を接続する場合、機種によって信号のピン配置などが異なるため、そのまま接続することができない。そこで、ピン配置の差異を吸収するために信号切替装置が用いられる。
【0003】
従来より電気信号の切替装置は多くの計測器メーカから市販されてきた。切替装置の仕組みとして、入力信号線と出力信号線との各交点にスイッチを設けるクロスバースイッチと呼ばれる方式が主に用いられている。また、特許文献1のように、入力段、中間段、および出力段の3段構成とし、各段が複数のマトリックススイッチで構成された信号切替装置も知られている。
【先行技術文献】
【特許文献】
【0004】
特開2000-209622号公報
【発明の概要】
【発明が解決しようとする課題】
【0005】
クロスバースイッチでは、接続したい入力と出力とを結ぶ経路は入力信号線と出力信号線とが交わるスイッチを導通されるだけで良く、経路探索が容易である。一方で、入力および出力の信号線がN個のとき、クロスバースイッチを構成するスイッチの数はN
2
となる。そのため、入力および出力の信号線が多くなると必要なスイッチの数が膨大になり、大規模な信号切替装置の実現が困難である。
【0006】
特許文献1に記載の信号切替装置では、Closネットワークとして知られる通信経路の切替方式と同様に、入力信号を小規模の信号切替回路によって分割して入力し、また出力信号も小規模の信号切替回路によって分割して出力し、さらに入力の信号切替回路と出力の信号切替回路との間に小規模の信号切替回路が挿入される。これにより、入力および出力の信号線がN個のとき、信号切替回路全体を構成するスイッチの最小数は3N
3/2
で近似される。特許文献1に記載の方式では、クロスバースイッチの場合に比べて必要なスイッチの数を大きく削減できるが、まだ不十分である。また、入力から出力への経路探索は複雑なものになる。
【0007】
本開示の目的は、スイッチの数を削減すると共に、入力から出力への経路探索が容易である信号切替装置を提供することである。
【課題を解決するための手段】
【0008】
本開示の信号切替装置は、複数の入力信号の中から1個以上の入力信号を選択して、1個以上の中間信号として出力するように構成された入力信号切替部と、入力信号切替部から出力される1個以上の中間信号の中から1個以上の中間信号を選択して、1個以上の出力信号として出力するように構成された出力信号切替部とを備える。
【0009】
本開示の信号切替装置は、複数の信号切替ボードを備える信号切替装置であって、信号切替ボードは、第1の方向に配置されたN個の入出力信号線と、第1の方向に直交する第2の方向に配置されたM個の中間信号線と、各々が、N個の入出力信号線のうちの1つと、M個の中間信号線のうちの1つとを接続または接続を遮断する(N×M)個のスイッチと、入出力信号線と接続される入出力端子と、中間信号線と接続される中間端子とを含む。複数の信号切替ボードが第2の方向に沿って接続される。第2の方向に隣接する2つの信号切替ボードの対向する中間端子が接続される。
【0010】
本開示の信号切替装置は、複数の信号切替ボードと、基板とを備える信号切替装置であって、信号切替ボードは、第1の方向に配置されたN個の入出力信号線と、第1の方向に直交する第2の方向に配置される第1の部分と、第1の方向に配置される第2の部分とを含むM個の中間信号線と、各々が、N個の入出力信号線のうちの1つと、M個の中間信号線のうちの1つとを接続または接続を遮断する(N×M)個のスイッチと、信号切替ボードの第1辺に配置され、入出力信号線の第1端と接続される第1の入出力端子と、信号切替ボードの第1辺と対向する第2辺に配置され、入出力信号線の第2端と接続される第2の入出力端子と、信号切替ボードの第2辺に配置され、中間信号線の第2の部分の一端と接続される中間端子とを含む。複数の信号切替ボードの中間端子が、基板上の配線によって接続され、複数の信号切替ボードの第2の入出力端子が、基板上の配線によって接続される。
【発明の効果】
(【0011】以降は省略されています)
この特許をJ-PlatPat(特許庁公式サイト)で参照する
関連特許
三菱電機株式会社
冷蔵庫
1か月前
三菱電機株式会社
計測器
1か月前
三菱電機株式会社
電子機器
1か月前
三菱電機株式会社
回転電機
1か月前
三菱電機株式会社
照明装置
1か月前
三菱電機株式会社
回転電機
13日前
三菱電機株式会社
回転電機
1か月前
三菱電機株式会社
照明器具
1か月前
三菱電機株式会社
照明装置
13日前
三菱電機株式会社
照明装置
1か月前
三菱電機株式会社
回転電機
3日前
三菱電機株式会社
照明器具
1か月前
三菱電機株式会社
照明装置
1か月前
三菱電機株式会社
換気装置
1か月前
三菱電機株式会社
照明装置
1か月前
三菱電機株式会社
照明装置
24日前
三菱電機株式会社
送風装置
1か月前
三菱電機株式会社
照明器具
1か月前
三菱電機株式会社
回転電機
27日前
三菱電機株式会社
加熱調理器
1か月前
三菱電機株式会社
回路遮断器
1か月前
三菱電機株式会社
電気掃除機
1か月前
三菱電機株式会社
半導体装置
7日前
三菱電機株式会社
加熱調理器
1か月前
三菱電機株式会社
半導体装置
1か月前
三菱電機株式会社
回路遮断器
1か月前
三菱電機株式会社
半導体装置
1か月前
三菱電機株式会社
半導体装置
13日前
三菱電機株式会社
加熱調理器
6日前
三菱電機株式会社
半導体装置
23日前
三菱電機株式会社
半導体装置
1か月前
三菱電機株式会社
半導体装置
1か月前
三菱電機株式会社
半導体装置
1か月前
三菱電機株式会社
半導体装置
1か月前
三菱電機株式会社
半導体装置
1か月前
三菱電機株式会社
加熱調理器
1か月前
続きを見る
他の特許を見る