TOP
|
特許
|
意匠
|
商標
特許ウォッチ
Twitter
他の特許を見る
10個以上の画像は省略されています。
公開番号
2025118149
公報種別
公開特許公報(A)
公開日
2025-08-13
出願番号
2024013288
出願日
2024-01-31
発明の名称
携帯通信端末システム
出願人
沖電気工業株式会社
代理人
弁理士法人レクスト国際特許事務所
主分類
H04M
11/04 20060101AFI20250805BHJP(電気通信技術)
要約
【課題】利用者の安否確認を通報可能な携帯通信端末システムを提供する。
【解決手段】携帯通信端末は、取得した時刻の位置情報を更新する位置情報取得手段と、その位置での操作時刻を位置情報と紐づけて更新する操作監視手段と、姿勢の変化があったモーション時刻を位置情報と紐づけて更新するモーション時刻取得手段と、異常時間幅を更新された操作時刻又は更新されたモーション時刻を最終利用時刻として、最終利用時刻からの経過時間の計時手段と、現在時刻が異常時間幅を超えたか否かを定期的に検知する検知手段と、定期的に、異常時間幅、最終利用時刻、最終利用時刻における位置情報を、定期情報として、管理センタ装置に送信する送信手段と、を備える。検知手段は、異常時間幅を超えたことを検知する場合、最終利用時刻及び最終利用時刻における位置情報を、異常通知情報として、管理センタ装置に送信する。
【選択図】図1
特許請求の範囲
【請求項1】
利用者からの操作を受付ける操作手段と当該利用者に通知する通知手段とを備える携帯通信端末及び当該携帯通信端末に通信可能な管理センタ装置を含む携帯通信端末システムであって、
前記携帯通信端末は、
前記携帯通信端末の位置を示す位置情報を取得した時刻の前記位置情報を保存して更新する位置情報取得手段と、
前記携帯通信端末の位置における前記操作手段から操作を受付けた時点の操作時刻を前記位置情報と紐づけて保存して更新する操作監視手段と、
前記携帯通信端末の位置又は姿勢の変化があった時点のモーション時刻を前記位置情報と紐づけて保存して更新するモーション時刻取得手段と、
所定設定時間幅を保存し、且つ更新された前記操作時刻又は更新された前記モーション時刻を最終利用時刻として、前記最終利用時刻から経過時間を計る計時手段と、
現在時刻が前記所定設定時間幅を超えたか否かを定期的に検知する検知通知手段と、
定期的に、前記所定設定時間幅と、前記最終利用時刻と、前記最終利用時刻における前記位置情報とを、定期情報として、前記管理センタ装置に送信する送信手段と、を備え、
前記検知通知手段は、前記所定設定時間幅を超えたことを検知する場合、前記最終利用時刻及び前記最終利用時刻における前記位置情報を、異常通知情報として、前記管理センタ装置に送信することを特徴とする携帯通信端末システム。
続きを表示(約 940 文字)
【請求項2】
前記モーション時刻取得手段は、ジャイロセンサ、加速度センサ及び気圧センサの少なくとも1つを有するモーションセンサからの検知結果に基づいて前記モーション時刻を取得する
ことを特徴とする請求項1に記載の携帯通信端末システム。
【請求項3】
前記携帯通信端末とペアリングされ前記利用者が着用するウェアラブル通信端末を含み、
前記携帯通信端末は、前記ウェアラブル通信端末との通信により前記ウェアラブル通信端末からの距離を測距する測距手段を備え、
前記測距手段は、前記ウェアラブル通信端末からの距離の変化が所定値を超えた時点の時刻を前記最終利用時刻として前記位置情報と紐づけて保存する
ことを特徴とする請求項1に記載の携帯通信端末システム。
【請求項4】
前記計時手段は、前記所定設定時間幅よりも短い確認通知時間幅を保存し、
前記検知通知手段は、現在時刻が前記確認通知時間幅を超えたか否かを定期的に検知し、前記確認通知時間幅を超えたことを検知する場合、前記通知手段を介して前記利用者に確認通知を行う
ことを特徴とする請求項1に記載の携帯通信端末システム。
【請求項5】
前記管理センタ装置は、
事前に登録されている連絡先と、前記携帯通信端末から送信され受信した前記異常通知情報及び前記定期情報とを保存する記憶装置と、
前記異常通知情報を受け取った場合、前記異常通知情報に基づき、前記最終利用時刻及び前記最終利用時刻における前記位置情報を、前記連絡先に、通報する通報手段と、を有する
ことを特徴とする請求項1に記載の携帯通信端末システム。
【請求項6】
前記通報手段は、前記携帯通信端末からの前記定期情報の受信が途絶えた場合、途絶える直前に前記記憶装置に保存された前記定期情報に基づき、前記最終利用時刻から現在時刻が前記所定設定時間幅を超えたか否かを検知して、前記所定設定時間幅を超えた際は、前記最終利用時刻及び前記最終利用時刻における前記位置情報を、前記連絡先に、通報する
ことを特徴とする請求項5に記載の携帯通信端末システム。
発明の詳細な説明
【技術分野】
【0001】
本発明は、携帯通信端末システムに関する。
続きを表示(約 1,900 文字)
【背景技術】
【0002】
従来、携帯通信端末である携帯電話のキー操作が一定時間ない場合に安否確認用の異常発生通知メールを監視者の携帯電話へ送信する監視装置が考えられていた(特許文献1参照)。
【先行技術文献】
【特許文献】
【0003】
特開2004-282165号公報
【発明の概要】
【発明が解決しようとする課題】
【0004】
しかしながら、上記の監視装置では装置の電池が切れていた場合に通知を行うことができなかった。また、GPS(Global Positioning System:全地球測位システム)では検知できない程度の距離の装置の持ち運びや、装置を置いたまま移動していた場合でも異常として通知されてしまうことがあるという課題があった。
【0005】
本発明は、以上の点に鑑みなされたものであり、携帯通信端末の利用者(所持者)の安否確認を通報することができる携帯通信端末システムを提供することを目的の一例とする。
【課題を解決するための手段】
【0006】
本発明の携帯通信端末システムは、利用者からの操作を受付ける操作手段と当該利用者に通知する通知手段とを備える携帯通信端末及び当該携帯通信端末に通信可能な管理センタ装置を含む携帯通信端末システムであって、前記携帯通信端末は、前記携帯通信端末の位置を示す位置情報を取得した時刻の前記位置情報を保存して更新する位置情報取得手段と、前記携帯通信端末の位置における前記操作手段から操作を受付けた時点の操作時刻を前記位置情報と紐づけて保存して更新する操作監視手段と、
前記携帯通信端末の位置又は姿勢の変化があった時点のモーション時刻を前記位置情報と紐づけて保存して更新するモーション時刻取得手段と、所定設定時間幅を保存し、且つ更新された前記操作時刻又は更新された前記モーション時刻を最終利用時刻として、前記最終利用時刻から経過時間を計る計時手段と、現在時刻が前記所定設定時間幅を超えたか否かを定期的に検知する検知通知手段と、定期的に、前記所定設定時間幅と、前記最終利用時刻と、前記最終利用時刻における前記位置情報とを、定期情報として、前記管理センタ装置に送信する送信手段と、を備え、前記検知通知手段は、前記所定設定時間幅を超えたことを検知する場合、前記最終利用時刻及び前記最終利用時刻における前記位置情報を、異常通知情報として、前記管理センタ装置に送信することを特徴とする。
【発明の効果】
【0007】
本発明によれば、屋内、屋外問わず携帯通信端末を所持する利用者の安否確認を通報することができる携帯通信端末システムが得られる。
【図面の簡単な説明】
【0008】
本発明による第1の実施例の携帯通信端末システムの構成例の一例を示す概略説明図である。
第1の実施例における携帯通信端末であるスマートフォンの一例を示す概略構成図である。
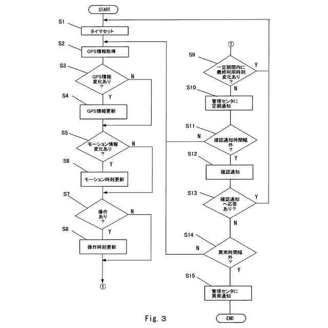
第1の実施例におけるスマートフォンの動作を説明するためのフロー図である。
第1の実施例における管理センタ装置の動作を説明するためのフロー図である。
本発明による第2の実施例の携帯通信端末システムの構成例の一例を示す概略説明図である。
第2の実施例における携帯通信端末であるスマートフォンの一例を示す概略構成図である。
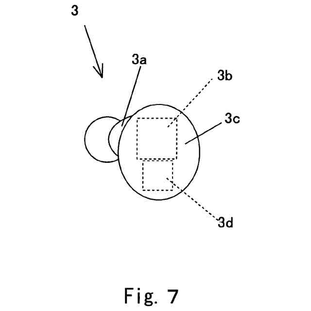
第2の実施例における、利用者に着用されるワイヤレスイヤホンの片耳用の一例を示す概略外観を示す構成図である。
第2の実施例のワイヤレスイヤホンの内部を説明するための概略構成図である。
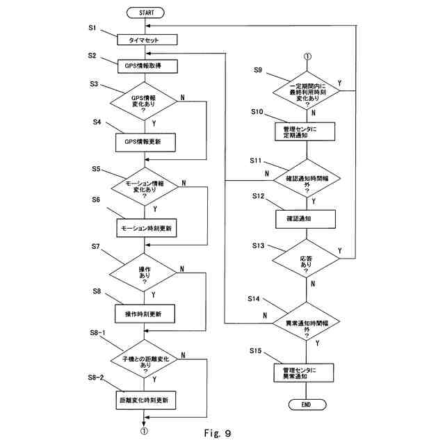
第2の実施例におけるスマートフォンの動作を説明するためのフロー図である。
【発明を実施するための形態】
【0009】
以下、図面を参照しつつ本発明の実施例の携帯通信端末システムについて説明する。なお、実施例において、実質的に同一の機能及び構成を有する構成要素については、同一の符号を付することにより重複説明を省略する。
【実施例】
【0010】
(第1の実施例)
図1は、第1の実施例の携帯通信端末システム100の構成例の一例を示す概略説明図である。携帯通信端末システムのシステム100は、ネットワークNWを介して管理センタ装置10とこれに通信可能なスマートフォン等の携帯通信端末101とで構成される。
(【0011】以降は省略されています)
この特許をJ-PlatPat(特許庁公式サイト)で参照する
関連特許
沖電気工業株式会社
筐体
23日前
沖電気工業株式会社
アンテナ
1か月前
沖電気工業株式会社
線材保持具
1か月前
沖電気工業株式会社
レーダ装置
23日前
沖電気工業株式会社
光導波路素子
28日前
沖電気工業株式会社
媒体処理装置
28日前
沖電気工業株式会社
貨幣取扱装置
1か月前
沖電気工業株式会社
媒体処理装置
26日前
沖電気工業株式会社
光導波路素子
28日前
沖電気工業株式会社
画像形成装置
1か月前
沖電気工業株式会社
媒体処理装置
1か月前
沖電気工業株式会社
媒体処理装置
28日前
沖電気工業株式会社
光導波路素子
28日前
沖電気工業株式会社
画像形成装置
1か月前
沖電気工業株式会社
媒体搬送装置
23日前
沖電気工業株式会社
画像形成装置
2日前
沖電気工業株式会社
画像形成装置
2日前
沖電気工業株式会社
紙幣処理装置
1か月前
沖電気工業株式会社
媒体処理装置
28日前
沖電気工業株式会社
画像撮影システム
1か月前
沖電気工業株式会社
定着装置及び画像形成装置
26日前
沖電気工業株式会社
電源装置及び画像形成装置
22日前
沖電気工業株式会社
定着装置及び画像形成装置
1か月前
沖電気工業株式会社
現金処理装置及び印字装置
12日前
沖電気工業株式会社
画像形成装置及び画像処理方法
28日前
沖電気工業株式会社
媒体識別装置及び媒体処理装置
1か月前
沖電気工業株式会社
処理装置、プログラム及び方法
1か月前
沖電気工業株式会社
レーザー振動計及び振動測定方法
28日前
沖電気工業株式会社
紙葉類取扱装置及び現金処理装置
6日前
沖電気工業株式会社
装置、設置方法、およびプログラム
23日前
沖電気工業株式会社
部品管理装置、プログラムおよび方法
2日前
沖電気工業株式会社
情報処理装置、プログラムおよび方法
29日前
沖電気工業株式会社
通信装置、通信方法およびプログラム
1か月前
沖電気工業株式会社
転写ベルトユニット及び画像形成装置
1か月前
沖電気工業株式会社
反り防止治具および半田リフロー装置
23日前
沖電気工業株式会社
直流電源装置および二次電池充電方法
2日前
続きを見る
他の特許を見る