TOP
|
特許
|
意匠
|
商標
特許ウォッチ
Twitter
他の特許を見る
10個以上の画像は省略されています。
公開番号
2025119515
公報種別
公開特許公報(A)
公開日
2025-08-14
出願番号
2024014450
出願日
2024-02-01
発明の名称
面発光レーザ装置
出願人
スタンレー電気株式会社
,
国立大学法人京都大学
代理人
個人
,
個人
主分類
H01S
5/0233 20210101AFI20250806BHJP(基本的電気素子)
要約
【課題】フォトニック結晶面発光レーザ素子の発振閾値電流及び駆動電流の上昇が抑制され、かつ安定した発振モードを有し、ビーム品質に優れたフォトニック結晶面発光レーザ装置を提供する。
【解決手段】面発光レーザ素子と、面発光レーザ素子が素子接合部材によって接合された実装基板と、素子接合部材と実装基板との間に設けられた応力調整部材と、を備えている。面発光レーザ素子は、透光性の素子基板と、素子基板上に設けられた第1の半導体層と、第1の半導体層上に設けられた活性層と、活性層上に設けられた第2の半導体層と、第1の半導体層又は第2の半導体層に含まれ、活性層に平行な面内において2次元的な周期性を有して配された空孔を備える空孔層と、第1の半導体層に電気的に接続された第1の電極と、第2の半導体層にオーミック接触して設けられ、光反射面を有する第2の電極と、を有する。
【選択図】図1
特許請求の範囲
【請求項1】
面発光レーザ素子と、
前記面発光レーザ素子が素子接合部材によって接合され、前記面発光レーザ素子に電気的に接続された実装基板と、
前記素子接合部材と前記実装基板との間に設けられた導電層である応力調整部材と、を備え、
前記面発光レーザ素子は、
透光性の素子基板と、
前記素子基板上に設けられた第1の半導体層と、
前記第1の半導体層上に設けられた活性層と、
前記活性層上に設けられ、前記第1の半導体層とは反対導電型の第2の半導体層と、
前記第1の半導体層又は前記第2の半導体層に含まれ、前記活性層に平行な面内において2次元的な周期性を有して配された空孔を備えるフォトニック結晶層である空孔層と、
前記第1の半導体層に電気的に接続された第1の電極と、
前記第2の半導体層上に前記第2の半導体層にオーミック接触して設けられ、光反射面を有する第2の電極と、
を有する面発光レーザ装置。
続きを表示(約 640 文字)
【請求項2】
前記素子接合部材及び前記応力調整部材の合計膜厚は4μm以上である請求項1に記載の面発光レーザ装置。
【請求項3】
前記素子接合部材の厚さが1~2μmの範囲内であり、前記応力調整部材の厚さが3μm以上である請求項2に記載の面発光レーザ装置。
【請求項4】
前記応力調整部材の膜厚は25μm以下である請求項2に記載の面発光レーザ装置。
【請求項5】
前記素子基板はGaN系半導体からなり、前記応力調整部材のヤング率は前記素子基板のヤング率よりも小なる請求項1に記載の面発光レーザ装置。
【請求項6】
前記応力調整部材のヤング率は前記実装基板のヤング率よりも小なる請求項5に記載の面発光レーザ装置。
【請求項7】
前記応力調整部材のヤング率は100GPa以下である請求項1に記載の面発光レーザ装置。
【請求項8】
前記素子接合部材は金属ナノ粒子からなり、前記応力調整部材はAuからなる請求項1に記載の面発光レーザ装置。
【請求項9】
前記第2の半導体層のオーミック接触領域である電流注入領域に対応する前記空孔層の中央部における歪みε
center
が端部における歪みε
edge
よりも大きい(ε
center
>ε
edge
)、請求項1ないし8のいずれか一項に記載の面発光レーザ装置。
発明の詳細な説明
【技術分野】
【0001】
本発明は、面発光レーザ装置、特にフォトニック結晶面発光レーザ素子を有する面発光レーザ装置に関する。
続きを表示(約 2,000 文字)
【背景技術】
【0002】
近年、フォトニック結晶(PC:Photonic Crystal)を用いた、フォトニック結晶面発光レーザ(Photonic-Crystal
Surface-Emitting Laser)の開発が進められている。
【0003】
フォトニック結晶面発光レーザにおいて、高い共振効果を得るためには、フォトニック結晶層における回折効果を高めることが求められ、回折効果を高めるために、フォトニック結晶における2次元的な屈折率周期が均一であることが求められる。
【0004】
例えば、特許文献1には、均一な屈折率周期を有し、高い回折効果を有するフォトニック結晶を備えた面発光レーザについて開示されている。
【先行技術文献】
【特許文献】
【0005】
特許7101370号公報
【発明の概要】
【発明が解決しようとする課題】
【0006】
しかしながら、フォトニック結晶面発光レーザ素子を回路基板やヒートシンク上に実装した場合に、フォトニック結晶面発光レーザ素子に応力及び歪みが生じ、発振閾値電流が上昇して発光効率が低下する、また発振モードが不安定になるという問題があった。
【0007】
特に、連続通電駆動(CW駆動)する場合には、フォトニック結晶面発光レーザ素子に内在する歪みによって駆動電流が増加し、電力変換効率が低下するとともに、発熱量も増加するため十分な出力を得ることができない、また発振モードが不安定になるという問題があった。
【0008】
本願発明は、フォトニック結晶面発光レーザ素子の発振閾値電流及び駆動電流の上昇が抑制され、かつ安定した発振モードを有し、ビーム品質に優れたフォトニック結晶面発光レーザ装置を提供することを目的としている。
【課題を解決するための手段】
【0009】
本発明の1実施態様による面発光レーザ装置は、
面発光レーザ素子と、
前記面発光レーザ素子が素子接合部材によって接合され、前記面発光レーザ素子に電気的に接続された実装基板と、
前記素子接合部材と前記実装基板との間に設けられた導電層である応力調整部材と、を備え、
前記面発光レーザ素子は、
透光性の素子基板と、
前記素子基板上に設けられた第1の半導体層と、
前記第1の半導体層上に設けられた活性層と、
前記活性層上に設けられ、前記第1の半導体層とは反対導電型の第2の半導体層と、
前記第1の半導体層又は前記第2の半導体層に含まれ、前記活性層に平行な面内において2次元的な周期性を有して配された空孔を備えるフォトニック結晶層である空孔層と、
前記第1の半導体層に電気的に接続された第1の電極と、
前記第2の半導体層上に前記第2の半導体層にオーミック接触して設けられ、光反射面を有する第2の電極と、を有している。
【図面の簡単な説明】
【0010】
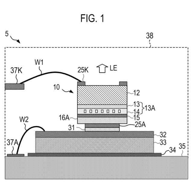
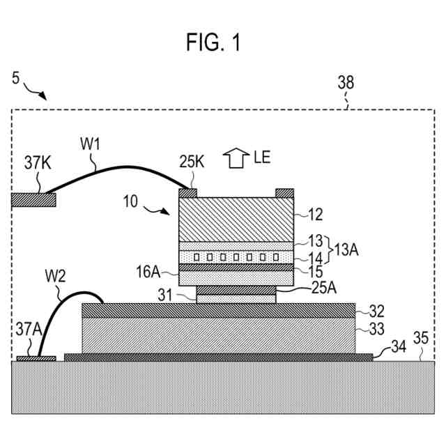
第1の実施形態の面発光レーザ装置の断面を示す断面図である。
本実施形態面発光レーザ装置のフォトニック結晶面発光レーザ素子(PCSEL素子)の構造の一例を模式的に示す断面図である。
図2に示すPCSEL素子の上面を模式的に示す平面図である。
フォトニック結晶層のn側ガイド層に平行な面における断面を模式的に示す断面図である。
PCSEL素子の下面を模式的に示す平面図である。
PCSEL素子のε
center
<ε
edge
におけるフォトニックバンドを示す図である。
PCSEL素子のε
center
>ε
edge
におけるフォトニックバンドを示す図である。
歪み分布の接合材厚依存性について計算結果を示す図である。
電流注入領域の中央の歪みをε
center
、端部(外周部)の歪みをε
edge
としたときの、接合材厚に対する歪み量の差ε
center
-ε
edge
(%)を示す図である。
本実施形態の面発光レーザ装置において、PCSEL素子の実装前後(接合前後)のI-L特性を対比して示す図である。
比較例(CMP)の面発光レーザ装置において、PCSEL素子の実装前後のI-L特性を対比した一例を示す図である。
応力調整部材の膜厚FTが7μmの場合の実装前後でのI-L特性を対比して示す図である。
応力調整部材の膜厚FTが9μmの場合の実装前後でのI-L特性を対比して示す図である。
【発明を実施するための形態】
(【0011】以降は省略されています)
特許ウォッチbot のツイートを見る
この特許をJ-PlatPat(特許庁公式サイト)で参照する
関連特許
日本発條株式会社
積層体
14日前
個人
フレキシブル電気化学素子
3日前
ローム株式会社
半導体装置
12日前
ローム株式会社
半導体装置
5日前
ローム株式会社
半導体装置
12日前
ローム株式会社
半導体装置
12日前
個人
防雪防塵カバー
14日前
ローム株式会社
半導体装置
10日前
株式会社ユーシン
操作装置
3日前
株式会社GSユアサ
蓄電設備
3日前
株式会社GSユアサ
蓄電設備
3日前
個人
半導体パッケージ用ガラス基板
13日前
株式会社ティラド
面接触型熱交換器
25日前
株式会社ホロン
冷陰極電子源
10日前
ニチコン株式会社
コンデンサ
26日前
オムロン株式会社
電磁継電器
4日前
ニチコン株式会社
コンデンサ
26日前
株式会社GSユアサ
蓄電装置
10日前
株式会社GSユアサ
蓄電装置
14日前
太陽誘電株式会社
全固体電池
10日前
太陽誘電株式会社
コイル部品
3日前
マクセル株式会社
配列用マスク
25日前
トヨタ自動車株式会社
蓄電装置
3日前
日本特殊陶業株式会社
保持装置
10日前
日本特殊陶業株式会社
保持装置
10日前
トヨタ自動車株式会社
二次電池
14日前
日本特殊陶業株式会社
保持装置
14日前
日東電工株式会社
積層体
4日前
サクサ株式会社
電池の固定構造
3日前
ローム株式会社
電子装置
14日前
TDK株式会社
電子部品
10日前
ノリタケ株式会社
熱伝導シート
3日前
トヨタ自動車株式会社
バッテリ
4日前
日本特殊陶業株式会社
保持装置
12日前
日東電工株式会社
電子装置
6日前
住友電装株式会社
コネクタ
14日前
続きを見る
他の特許を見る