TOP
|
特許
|
意匠
|
商標
特許ウォッチ
Twitter
他の特許を見る
公開番号
2025120073
公報種別
公開特許公報(A)
公開日
2025-08-15
出願番号
2024015317
出願日
2024-02-04
発明の名称
電気的特性測定システムおよび電気的特性測定方法
出願人
株式会社コスモス・コーポレイション
代理人
個人
,
個人
,
個人
主分類
G01R
31/28 20060101AFI20250807BHJP(測定;試験)
要約
【課題】簡易に測定位置情報を登録でき、作業性に優れる電気的特性測定システムおよびそれを用いた電気的特性測定方法を提供する。
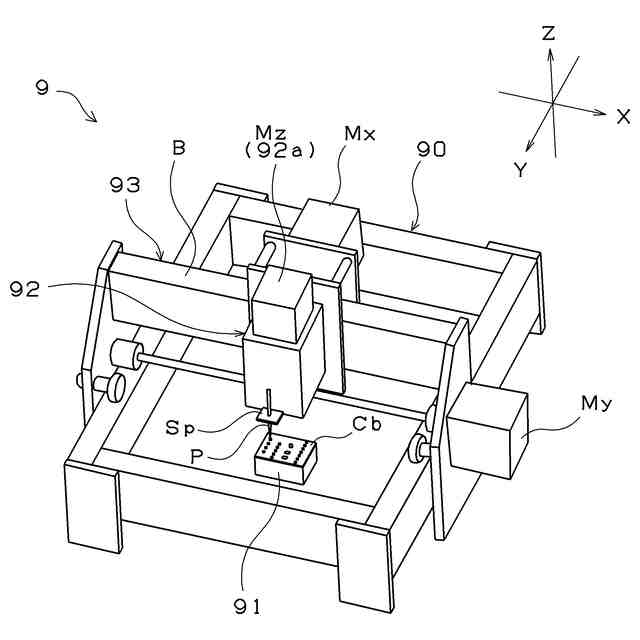
【解決手段】電気的特性測定システム1は、回路基板における測定位置の情報である測定位置情報を登録する情報処理装置2と、情報処理装置2により登録された測定位置情報に基づいて回路基板の電気的特性を測定する試験装置9とを備え、試験装置9は、回路基板を設置可能な測定台と、この測定台に設置された回路基板に対して水平方向に移動可能で、回路基板上の測定位置に接触して電気的特性を測定するためのプローブを有する測定手段を有し、情報処理装置2は、表示部4を有するとともに、回路基板の画像情報を表示した表示部4の上で測定位置を選択することによって測定位置情報を登録する機能を有する。
【選択図】図1
特許請求の範囲
【請求項1】
回路基板の電気的特性を測定する電気的特性測定システムであって、
前記システムは、前記回路基板における測定位置の情報である測定位置情報を登録する情報処理装置と、この情報処理装置により登録された前記測定位置情報に基づいて前記回路基板の電気的特性を測定する試験装置とを備え、
前記試験装置は、前記回路基板を設置可能な測定台と、この測定台に設置された前記回路基板に対して水平方向に移動可能で、前記回路基板上の測定位置に接触して電気的特性を測定するためのプローブを有する測定手段を有し、
前記情報処理装置は、表示部を有するとともに、前記回路基板の画像情報を表示した前記表示部の上で測定位置を選択することによって前記測定位置情報を登録する機能を有することを特徴とする電気的特性測定システム。
続きを表示(約 750 文字)
【請求項2】
前記回路基板の画像情報は、前記測定台に前記回路基板が設置される前に予め取得された情報であり、
前記測定位置情報の登録の際に前記回路基板の画像情報の傾きを補正する機能を有することを特徴とする請求項1記載の電気的特性測定システム。
【請求項3】
前記測定手段は、前記プローブを上方向に変位可能に支持するプローブ支持部と、このプローブ支持部を前記回路基板の上方で高さ方向に移動させる昇降手段とを有していることを特徴とする請求項1または請求項2記載の電気的特性測定システム。
【請求項4】
前記回路基板の画像情報は、前記測定台に前記回路基板が設置された後に取得される情報であることを特徴とする請求項1記載の電気的特性測定システム。
【請求項5】
回路基板の電気的特性を測定する電気的特性測定システムを利用した電気的特性測定方法であって、
前記電気的特性測定方法は、
前記回路基板の画像情報を取得する画像情報取得工程と、
前記回路基板における測定位置の情報である測定位置情報を登録する測定位置登録工程と、
を備え、
前記測定位置登録工程において、前記測定位置情報の登録が、前記回路基板の画像情報を表示した前記電気的特性測定システムの表示部の上で測定位置を選択することによって行われることを特徴とする電気的特性測定方法。
【請求項6】
前記画像情報取得工程の前に、前記回路基板を測定台の上に設置する基板設置工程を備え、
前記画像情報取得工程において取得される画像情報が、前記測定台の上に設置された前記回路基板の画像情報であることを特徴とする請求項5記載の電気的特性測定方法。
発明の詳細な説明
【技術分野】
【0001】
本発明は、プリント基板などの電気的特性の測定を自動で行うことができる電気的特性測定システムおよびそれを利用した電気的特性測定方法に関する。
続きを表示(約 1,600 文字)
【背景技術】
【0002】
プリント基板(以下、回路基板ともいう)は、その生産工程中や、製品完成後に、配線の導通などの電気的特性が検査される。プリント基板の製造工場において、少量生産品の場合は人間によって検査される場合がある一方、大量生産品の場合には専用の検査装置によって検査されることが多い。また、例えば、電気機器の試験を行う試験機関などにおいては、配線位置や、基板上の電子部品の配置が異なる種々の機器について試験を行うことから、人間による検査が行われている場合が多い。プリント基板の多品種少量生産が進行している中で、プリント基板における配線の導通を簡易かつ迅速に検査する装置の重要が高まっている。
【0003】
プリント基板を検査する装置として、例えば、特許文献1には、検査用の針を備えたバネ入りピンと、バネ入りピンを移動させるX-Y軸制御装置と、抵抗値を測定する導通検査機とを備えたプリント基板布線検査装置が記載されている。
【0004】
また、特許文献2には、端子間のつながりであるネットの情報を抽出するネット情報抽出部を備えたデータ処理装置と、データ処理装置からの出力情報により検査プローブを制御する移動式検査プローブ制御装置と、検査プローブからの電気情報を検出し導通・非導通を判定する電気検出装置とを有するプリント配線板布線検査装置が記載されている
【先行技術文献】
【特許文献】
【0005】
特開平2-136759号公報
特開2001-33505号公報
【発明の概要】
【発明が解決しようとする課題】
【0006】
特許文献2には、実際の測定を行うにあたり、まず、プリント配線板の配線パターン(導体)情報、穴位置情報及びソルダーレジスト情報などを入力し、これらの情報に基づいて、導体が露出している端点、即ち、検査ポイントをネット毎に抽出する旨が記載されている。
【0007】
従来の検査装置を用いて検査する場合、電気的測定自体は自動で行えるものの、配線パターン情報、穴位置情報などの入力は人間がキーボードなどを用いて入力する必要があると考えられる。そのため、例えば、穴位置情報を座標の数値情報として入力して登録する場合などは、情報入力時に誤入力してしまったり、測定前の準備作業に時間を要してしまったりするおそれがあった。
【0008】
本発明は、このような事情に鑑みてなされたものであり、簡易に測定位置情報を登録でき、作業性に優れる電気的特性測定システムおよびそれを用いた電気的特性測定方法を提供することを目的とする。
【課題を解決するための手段】
【0009】
本発明の電気的特性測定システムは、回路基板の電気的特性を測定する電気的特性測定システムであって、このシステムは、上記回路基板における測定位置の情報である測定位置情報を登録する情報処理装置と、この情報処理装置により登録された上記測定位置情報に基づいて上記回路基板の電気的特性を測定する試験装置とを備え、上記試験装置は、上記回路基板を設置可能な測定台と、この測定台に設置された上記回路基板に対して水平方向に移動可能で、上記回路基板上の測定位置に接触して電気的特性を測定するためのプローブを有する測定手段を有し、上記情報処理装置は、表示部を有するとともに、上記回路基板の画像情報を表示した上記表示部の上で測定位置を選択することによって上記測定位置情報を登録する機能を有することを特徴とする。
【0010】
上記回路基板の画像情報は、上記測定台に上記回路基板が設置される前に予め取得された情報であり、上記測定位置情報の登録の際に上記回路基板の画像情報の傾きを補正する機能を有することを特徴とする。
(【0011】以降は省略されています)
この特許をJ-PlatPat(特許庁公式サイト)で参照する
関連特許
個人
計量スプーン
23日前
日本精機株式会社
位置検出装置
1日前
日本精機株式会社
位置検出装置
1日前
日本精機株式会社
位置検出装置
1日前
大和製衡株式会社
組合せ秤
6日前
大和製衡株式会社
組合せ秤
6日前
アズビル株式会社
圧力センサ
今日
アンリツ株式会社
分光器
29日前
ダイハツ工業株式会社
測定用具
27日前
トヨタ自動車株式会社
検査装置
3日前
エイブリック株式会社
磁気センサ回路
今日
株式会社ユーシン
操作検出装置
3日前
アンリツ株式会社
分光器
29日前
トヨタ自動車株式会社
表示装置
15日前
株式会社東芝
センサ
6日前
株式会社東芝
センサ
6日前
東レエンジニアリング株式会社
計量装置
3日前
TDK株式会社
磁気センサ
23日前
個人
粘塑性を用いた有限要素法の定式化
15日前
株式会社ヨコオ
コンタクタ
27日前
TDK株式会社
ガスセンサ
今日
TDK株式会社
磁気センサ
1か月前
株式会社ナリス化粧品
角層細胞採取用具
13日前
日本碍子株式会社
ガスセンサ
24日前
株式会社熊谷組
RI計測装置
1日前
大同特殊鋼株式会社
超音波探傷方法
23日前
富士電機株式会社
半導体パッケージ
23日前
三菱マテリアル株式会社
温度センサ
13日前
富士電機株式会社
エンコーダ
今日
個人
材料特性パラメータの算定方法
23日前
三菱マテリアル株式会社
温度センサ
13日前
成田空港給油施設株式会社
保持治具
14日前
国立大学法人京都大学
バイオセンサ
1か月前
TDK株式会社
磁気計測装置
14日前
株式会社関電工
検相器用治具
21日前
中国電力株式会社
異常箇所検出装置
14日前
続きを見る
他の特許を見る