TOP
|
特許
|
意匠
|
商標
特許ウォッチ
Twitter
他の特許を見る
10個以上の画像は省略されています。
公開番号
2025125503
公報種別
公開特許公報(A)
公開日
2025-08-27
出願番号
2024206822
出願日
2024-11-27
発明の名称
ガス発生器およびガス発生器の製造方法
出願人
日本化薬株式会社
代理人
個人
主分類
B60R
21/264 20060101AFI20250820BHJP(車両一般)
要約
【課題】エアバッグ装置に組み込む前にコネクタポケット部を環境の影響から保護し、エアバッグ装置に組み込む際、取り外しやすいシール部を有したガス発生器とその製造方法を提供する。
【解決手段】ガス発生器100は、短尺略円筒状のハウジング、保持部、点火器、カップ状部材、伝火薬、ガス発生剤、下側支持部材、上側支持部材、クッション材およびフィルタ等が収容されてなるものである。また、ハウジングの内部に設けられた収容空間には、ガス発生剤が主として収容された燃焼室が位置している。ハウジングは、下部側シェル10および上部側シェル20を含んでいる。雌型コネクタ部は、初期状態において、底板部11の底面に貼付されたシール部16によって覆われている。シール部16は、略馬蹄形状の第1部分17と、第1部分17の内側に配設された第2部分18とを有する。
【選択図】図3
特許請求の範囲
【請求項1】
ガス噴出口が設けられた筒状の周壁部と、前記周壁部の軸方向の一端を閉塞する天板部、および前記周壁部の軸方向の他端を閉塞する底板部とによって構成され、ガス発生剤が収容された燃焼室を内部に有する短尺筒状のハウジングと、
前記底板部に組付けられ、作動時において着火する点火薬が収容された点火部を含む点火器と、
前記底板部に組付けられ、前記点火器と電気的に導通可能なコネクタ部を受け入れ可能なコネクタポケット部と、
前記底板部の底面の外側における前記コネクタポケット部の周囲部分のうち少なくとも一部を覆う第1部分と、少なくとも前記コネクタポケット部を前記底板部の外側から覆う第2部分とを一体的に有したシール部と、
を備え、
前記シール部のうち少なくとも前記第1部分の前記底板部側の面は、粘着剤または接着剤によって、前記底板部の底面の外側に接着されており、
前記第1部分と前記第2部分との境目部分の少なくとも一部には、前記第2部分を前記第1部分から分離可能な脆弱部が設けられていることを特徴とするガス発生器。
続きを表示(約 970 文字)
【請求項2】
前記第2部分の前記底板部側の面は、粘着剤または接着剤によって、前記底板部の底面の外側に接着されていないことを特徴とする請求項1に記載のガス発生器。
【請求項3】
前記脆弱部はミシン目であって、
前記第2部分を前記第1部分から分離した場合、前記第1部分において、前記第1部分と前記第2部分との境目部分だった箇所にミシン目跡が残るものであることを特徴とする請求項1に記載のガス発生器。
【請求項4】
前記点火器が前記底板部に複数設けられており、
前記コネクタポケット部が前記底板部に前記点火器と同数設けられており、
前記第2部分が前記コネクタポケット部と同数設けられていることを特徴とする請求項1に記載のガス発生器。
【請求項5】
ガス噴出口が設けられた筒状の周壁部と、前記周壁部の軸方向の一端を閉塞する天板部、および前記周壁部の軸方向の他端を閉塞する底板部とによって構成され、ガス発生剤が収容された燃焼室を内部に有する短尺筒状のハウジングと、
前記底板部に組付けられ、作動時において着火する点火薬が収容された点火部を含む点火器と、
前記底板部に組付けられ、前記点火器と電気的に導通可能なコネクタ部を受け入れ可能なコネクタポケット部と、
を備えたガス発生器の製造方法であって、
前記底板部の底面の外側における前記コネクタポケット部の周囲部分のうち少なくとも一部を覆う第1部分と、少なくとも前記コネクタポケット部を前記底板部の外側から覆う第2部分とを一体的に有したものであり、
少なくとも前記第1部分の前記底板部側の面が、粘着剤または接着剤によって、前記底板部の底面の外側に接着されるものであり、
前記第1部分と前記第2部分との境目部分に、前記第2部分を前記第1部分から分離可能な脆弱部が設けられているシール部を、
前記底板部の底面の外側に貼り付ける貼付工程と、
前記貼付工程より後に、前記脆弱部に沿って前記シール部から前記第2部分を分離する分離工程と、
前記分離工程より後に、前記コネクタ部を前記コネクタポケット部に取り付ける取付工程と、
を含むガス発生器の製造方法。
発明の詳細な説明
【技術分野】
【0001】
本発明は、車両等衝突時に乗員を保護する乗員保護装置に組み込まれるガス発生器およびガス発生器の製造方法に関する。
続きを表示(約 1,600 文字)
【背景技術】
【0002】
従来、自動車等の乗員の保護の観点から、乗員保護装置であるエアバッグ装置が普及している。エアバッグ装置は、車両等衝突時に生じる衝撃から乗員を保護する目的で装備されるものであり、車両等衝突時に瞬時にエアバッグを膨張および展開させることにより、エアバッグがクッションとなって乗員の体を受け止めるものである。
【0003】
ガス発生器は、このエアバッグ装置に組み込まれ、車両等衝突時にコントロールユニットからの通電によって点火器を発火し、点火器において生じる火炎によりガス発生剤を燃焼させて多量のガスを瞬時に発生させ、これによりエアバッグを膨張および展開させる機器である。
【0004】
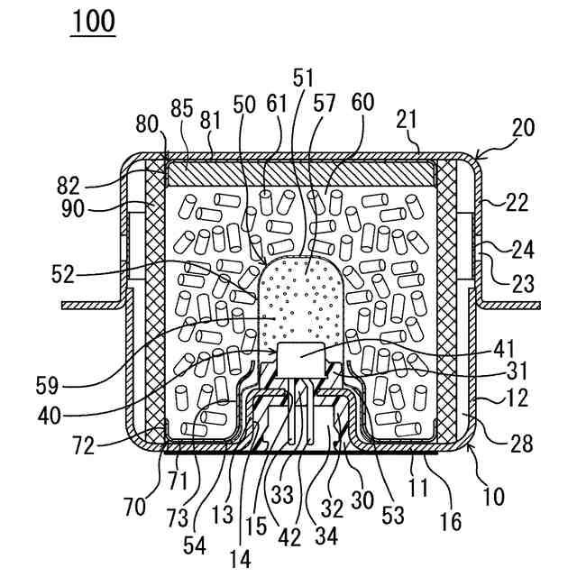
ガス発生器には、種々の構造のものが存在するが、運転席側エアバッグ装置や助手席側エアバッグ装置等に、特に好適に利用できるガス発生器として、外径が比較的大きい短尺略円柱状のディスク型ガス発生器がある。
【0005】
ディスク型ガス発生器は、軸方向の両端が閉塞された短尺略円筒状のハウジングを有し、ハウジングの周壁部に複数のガス噴出口が設けられるとともに、ハウジングに組付けられた点火器に面するようにハウジングの内部に伝火薬が収容され、さらに当該伝火薬を囲うようにハウジングの内部にガス発生剤が充填され、当該ガス発生剤の周囲をさらに囲うようにフィルタがハウジングの内部に収容されてなるものである。
【0006】
例えば特許文献1には、環境の影響から保護するために、点火器のプラグ受け(コネクタポケット部)、基体、および封止材を覆う積層膜(シール部)が開示されている。
【先行技術文献】
【特許文献】
【0007】
特開2015-134605号公報
【発明の開示】
【発明が解決しようとする課題】
【0008】
上記特許文献1の積層膜は、エアバッグ装置に組み込む際、コネクタポケット部にコネクタ部を取り付けるために、取り外す必要がある。しかしながら、上記特許文献1の積層膜は、単にハウジングの底部に貼り付けられていると考えられ、取り外しにくいものになっていると考えられる。
【0009】
そこで、本発明は、このような事情に鑑みてなされたものであり、エアバッグ装置に組み込む前においてコネクタポケット部を環境の影響から保護するだけでなく、エアバッグ装置に組み込む際、コネクタポケット部にコネクタを取り付けるために、取り外しやすいシール部を有したガス発生器と、その製造方法とを提供することを目的とする。
【課題を解決するための手段】
【0010】
(1) 本発明のガス発生器は、ガス噴出口が設けられた筒状の周壁部と、前記周壁部の軸方向の一端を閉塞する天板部、および前記周壁部の軸方向の他端を閉塞する底板部とによって構成され、ガス発生剤が収容された燃焼室を内部に有する短尺筒状のハウジングと、前記底板部に組付けられ、作動時において着火する点火薬が収容された点火部を含む点火器と、前記底板部に組付けられ、前記点火器と電気的に導通可能なコネクタ部を受け入れ可能なコネクタポケット部と、前記底板部の底面の外側における前記コネクタポケット部の周囲部分のうち少なくとも一部を覆う第1部分と、少なくとも前記コネクタポケット部を前記底板部の外側から覆う第2部分とを一体的に有したシール部と、を備え、前記シール部のうち少なくとも前記第1部分の前記底板部側の面は、粘着剤または接着剤によって、前記底板部の底面の外側に接着されており、前記第1部分と前記第2部分との境目部分の少なくとも一部には、前記第2部分を前記第1部分から分離可能な脆弱部が設けられていることを特徴とする。
(【0011】以降は省略されています)
この特許をJ-PlatPat(特許庁公式サイト)で参照する
関連特許
日本化薬株式会社
ガス発生器
21日前
日本化薬株式会社
前処理組成物
20日前
日本化薬株式会社
インク組成物及び捺染方法
20日前
日本化薬株式会社
直鎖ブテン製造用触媒及びその使用
今日
日本化薬株式会社
アクチュエータ、安全装置、および、飛行体
15日前
日本化薬株式会社
メタクロレイン及び/又はメタクリル酸の製造用触媒
20日前
日本化薬株式会社
画像表示システム及びヘッドアップディスプレイシステム
16日前
日本化薬株式会社
アントラキノン化合物を含有する液晶組成物及び調光素子
22日前
日本化薬株式会社
インクジェット捺染用白色顔料インク組成物、及びインクセット
16日前
日本化薬株式会社
インクジェット用インク、インクセット、インクジェット記録方法
16日前
日本化薬株式会社
液晶滴下工法用液晶シール剤の製造方法、及び液晶表示パネルの製造方法
21日前
日本化薬株式会社
アゾ化合物又はその塩、並びにそれらを含有する偏光膜、偏光板及び表示装置
21日前
国立大学法人北海道大学
触媒及びそれを用いた不飽和カルボン酸の製造方法
21日前
日本化薬株式会社
安全装置、および、安全装置を備えた飛行体
今日
日本化薬株式会社
縮合多環芳香族化合物、有機半導体材料、光電変換素子用材料、有機薄膜、及び有機光電変換素子
20日前
個人
カーテント
4か月前
個人
タイヤレバー
3か月前
個人
前輪キャスター
2か月前
個人
上部一体型自動車
27日前
個人
車輪清掃装置
5か月前
個人
空間形成装置
今日
個人
タイヤ脱落防止構造
2か月前
個人
ホイルのボルト締結
4か月前
個人
ルーフ付きトライク
2か月前
個人
マスタシリンダ
1か月前
日本精機株式会社
表示装置
3か月前
日本精機株式会社
表示装置
3か月前
井関農機株式会社
作業車両
4か月前
個人
車両通過構造物
3か月前
個人
キャンピングトライク
4か月前
井関農機株式会社
作業車両
4か月前
日本精機株式会社
表示装置
2か月前
日本精機株式会社
表示装置
3か月前
個人
キャンピングトレーラー
4か月前
個人
車両用スリップ防止装置
4か月前
個人
ワイパーゴム性能保持具
5か月前
続きを見る
他の特許を見る