TOP
|
特許
|
意匠
|
商標
特許ウォッチ
Twitter
他の特許を見る
10個以上の画像は省略されています。
公開番号
2025126684
公報種別
公開特許公報(A)
公開日
2025-08-29
出願番号
2024023042
出願日
2024-02-19
発明の名称
三次元造形装置及び三次元造形物の製造方法
出願人
三菱電機株式会社
代理人
個人
主分類
B22F
12/17 20210101AFI20250822BHJP(鋳造;粉末冶金)
要約
【課題】ベースプレートの上面に敷き詰めた粉末層に対し予熱用の電子ビームの照射による仮焼結をすることなく、スモーク現象を抑制することができる三次元造形装置を得ること。
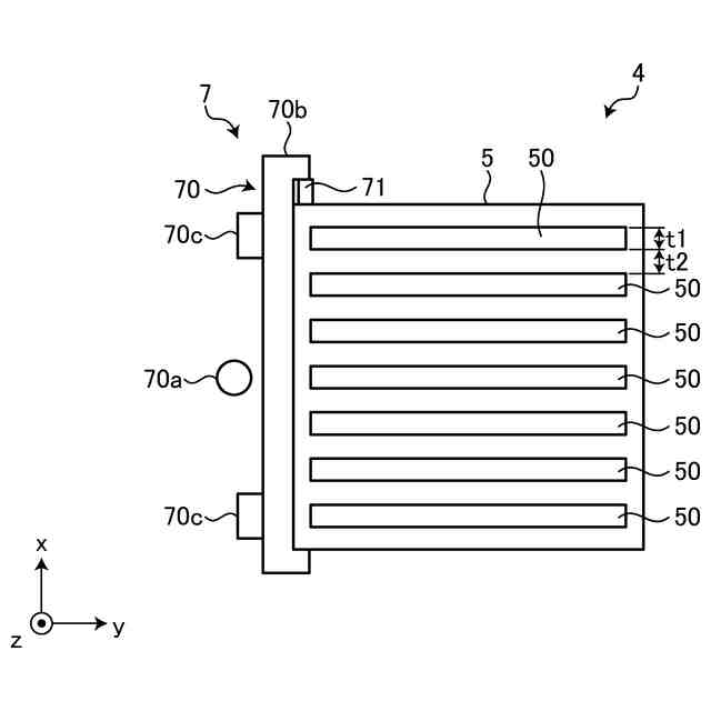
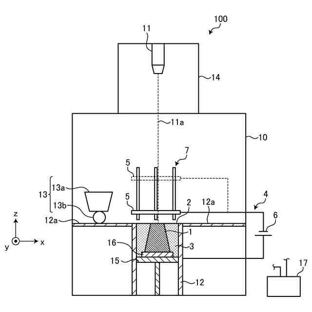
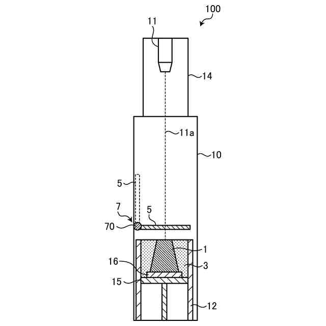
【解決手段】三次元造形装置100は、電子ビーム11aを出射する電子銃11と、造形が行われる造形エリア2を囲う粉末床壁12と、造形エリア2に粉末3を供給する粉末供給手段13と、造形エリア2の周囲に電場を発生させる電極装置4と、を備えている。電極装置4は、電子ビーム11aを通すスリット状の開口が複数並べられて形成されており、造形エリア2の直上の位置に配置される電極5と、電極5と造形エリア2との間に電位差を与える電源6と、電極5を目標の位置へ移動させる移動機構7と、を備え、移動機構7によって電極5が造形エリア2の直上の位置に配置され、電源6によって電極5に電圧が印加されることで、造形エリア2の周囲に電場を発生させる。
【選択図】図1
特許請求の範囲
【請求項1】
造形エリアに敷き詰められた粉末に電子ビームを照射し、前記粉末を溶融及び凝固させて三次元造形物を造形する三次元造形装置であって、
前記電子ビームを出射する電子銃と、
前記電子ビームの照射による造形が行われる造形エリアを囲う粉末床壁と、
前記造形エリアに前記粉末を供給する粉末供給手段と、
前記造形エリアの周囲に電場を発生させる電極装置と、を備え、
前記電極装置は、
前記電子銃から出射された電子ビームを通すスリット状の開口が複数並べられて形成されており、前記造形エリアの直上の位置に配置される電極と、
前記電極と前記造形エリアとの間に電位差を与える電源と、
前記電極を目標の位置へ移動させる移動機構と、を備え、
前記移動機構によって前記電極が前記造形エリアの直上の位置に配置され、前記電源によって前記電極に電圧が印加されることで、前記造形エリアの周囲に電場を発生させる、
ことを特徴とする、三次元造形装置。
続きを表示(約 930 文字)
【請求項2】
前記移動機構は、前記電極を前記造形エリアの直上の位置まで移動させる第1移動機構部と、前記開口を並べた方向に沿って前記電極を移動させる第2移動機構部と、を有している、
ことを特徴とする、請求項1に記載の三次元造形装置。
【請求項3】
前記電極の内部には、冷却媒体が流れる冷却流路が形成されており、
前記電極は、前記冷却流路に前記冷却媒体が流れることによって冷却される、
ことを特徴とする、請求項1又は2に記載の三次元造形装置。
【請求項4】
造形エリアに粉末を敷き詰めて電子ビームを照射し、前記粉末を溶融及び凝固させて三次元造形物を造形する方法であって、
前記造形エリアに前記粉末を敷き詰めることによって粉末層を形成する工程と、
前記造形エリアの直上の位置に、複数のスリット状の開口を有する電極を配置する工程と、
前記電極に電圧を印加して、前記造形エリアの周囲に電場を発生させる工程と、
スリット状の前記開口を通じて前記造形エリアに敷き詰められた粉末に電子ビームを照射する工程と、を含む、
ことを特徴とする、三次元造形物の製造方法。
【請求項5】
前記造形エリアの直上の位置に配置した前記電極に前記電子ビームを照射して加熱し、加熱した前記電極の輻射熱によって、前記粉末を仮焼結させる工程を含む、
ことを特徴とする、請求項4に記載の三次元造形物の製造方法。
【請求項6】
前記電極の内部には、冷却媒体が流れる冷却流路が形成されており、
前記冷却媒体を前記冷却流路に流すことによって前記電極を冷却する工程を含む、
ことを特徴とする、請求項4又は5に記載の三次元造形物の製造方法。
【請求項7】
前記電極の内部には、冷却媒体が流れる冷却流路が形成されており、
前記冷却媒体を前記冷却流路に流すことによって前記電極を冷却し、冷却した前記電極を形成が完了した造形物に接触させて該造形物を冷却させる工程を含む、
ことを特徴とする、請求項4又は5に記載の三次元造形物の製造方法。
発明の詳細な説明
【技術分野】
【0001】
本開示は、三次元造形装置及び三次元造形物の製造方法に関する。
続きを表示(約 2,100 文字)
【背景技術】
【0002】
従来、造形エリアに敷き詰められた金属の粉末に電子ビームを照射し、粉末を溶融及び凝固させて三次元造形物を造形する三次元造形装置が知られている。かかる三次元造形装置では、造形エリアに設置したベースプレートの上面に1層目の粉末層を形成して電子ビームを照射し、電子ビームを照射した後の粉末層の上に次の粉末層を形成して電子ビームを照射する。三次元造形装置は、粉末層の形成と電子ビームの照射とを繰り返すことによって、造形物を構成する層を一層ずつ積み重ねていき、造形物を形成する。
【0003】
三次元造形装置では、造形中に粉末が負に帯電し、粉末の粒子が反発し合うことによって粉末が飛散する、いわゆるスモーク現象が発生することが知られている。スモーク現象が発生すると、正常な粉末層が形成されず、造形不良となるおそれがある。そこで、三次元造形装置では、造形用の電子ビームを照射する前に、予熱用の電子ビームを粉末層に直接照射して仮焼結し、造形用の電子ビームを照射した際における粉末の帯電を抑制することとされている。例えば、特許文献1では、造形面上に散布された粉末のうち、電子ビームの照射を受けない未焼結領域を覆うチャージシールドを備えた三次元積層造形装置が開示されている。チャージシールドは、電子銃からの電子ビームを通過させる開口部を有する。この三次元積層造形装置では、チャージシールドの開口部を通じて予熱用の電子ビームを粉末に照射し、照射領域の粉末を仮焼結させる。
【先行技術文献】
【特許文献】
【0004】
特許第6216464号公報
【発明の概要】
【発明が解決しようとする課題】
【0005】
しかしながら、特許文献1に開示された技術では、仮焼結のために必要な温度まで粉末層を加熱させる必要があり、その加熱時間により造形時間が増加して生産性が低下するおそれがある。
【0006】
本開示は、上記に鑑みてなされたものであって、ベースプレートの上面に敷き詰めた粉末層に対し予熱用の電子ビームの照射による仮焼結をすることなく、スモーク現象を抑制することができる三次元造形装置を得ることを目的とする。
【課題を解決するための手段】
【0007】
上述した課題を解決し、目的を達成するために、本開示にかかる三次元造形装置は、造形エリアに敷き詰められた粉末に電子ビームを照射し、粉末を溶融及び凝固させて三次元造形物を造形する三次元造形装置であって、電子ビームを出射する電子銃と、電子ビームの照射による造形が行われる造形エリアを囲う粉末床壁と、造形エリアに粉末を供給する粉末供給手段と、造形エリアの周囲に電場を発生させる電極装置と、を備えている。電極装置は、電子銃から出射された電子ビームを通すスリット状の開口が複数並べられて形成されており、造形エリアの直上の位置に配置される電極と、電極と造形エリアとの間に電位差を与える電源と、電極を目標の位置へ移動させる移動機構と、を備え、移動機構によって電極が造形エリアの直上の位置に配置され、電源によって電極に電圧が印加されることで、造形エリアの周囲に電場を発生させる。
【発明の効果】
【0008】
本開示にかかる三次元造形装置によれば、ベースプレートの上面に敷き詰めた粉末層に対し予熱用の電子ビームの照射による仮焼結をすることなく、スモーク現象を抑制することができる、という効果を奏する。
【図面の簡単な説明】
【0009】
実施の形態にかかる三次元造形装置を模式的に示す全体構成図
粉末に電子ビームを照射した場合に生じるスモーク現象を模式的に示す説明図
実施の形態にかかる三次元造形装置が有する電極装置を模式的に示す平面図
実施の形態にかかる三次元造形装置が有する電極の内部構造を模式的に示す断面図
実施の形態にかかる三次元造形装置が有する電極装置によって造形エリアの周囲に電場を発生させる様子を示す説明図
実施の形態にかかる三次元造形装置が有する電極を造形位置Aに配置した状態を示す説明図
実施の形態にかかる三次元造形装置が有する電極を造形位置Bに配置した状態を示す説明図
実施の形態にかかる三次元造形装置が有する移動機構の変形例を示す説明図
図8に示したIX-IX矢視断面図
実施の形態にかかる三次元造形物の製造方法の手順を示すフローチャート
実施の形態にかかる三次元造形物の製造方法の手順の変形例1を示すフローチャート
実施の形態にかかる三次元造形物の製造方法の手順の変形例2を示すフローチャート
実施の形態にかかる三次元造形物の製造方法の手順の変形例3を示すフローチャート
【発明を実施するための形態】
【0010】
以下、本開示の実施の形態にかかる三次元造形装置及び三次元造形物の製造方法を図面に基づいて詳細に説明する。
(【0011】以降は省略されています)
この特許をJ-PlatPat(特許庁公式サイト)で参照する
関連特許
三菱電機株式会社
冷蔵庫
1か月前
三菱電機株式会社
計測器
1か月前
三菱電機株式会社
照明器具
1か月前
三菱電機株式会社
照明装置
1か月前
三菱電機株式会社
回転電機
6日前
三菱電機株式会社
照明装置
1か月前
三菱電機株式会社
照明器具
1か月前
三菱電機株式会社
照明装置
27日前
三菱電機株式会社
回転電機
1か月前
三菱電機株式会社
回転電機
1か月前
三菱電機株式会社
照明装置
16日前
三菱電機株式会社
回転電機
16日前
三菱電機株式会社
照明器具
2か月前
三菱電機株式会社
照明装置
1か月前
三菱電機株式会社
回転電機
1か月前
三菱電機株式会社
送風装置
2か月前
三菱電機株式会社
照明装置
1か月前
三菱電機株式会社
換気装置
1か月前
三菱電機株式会社
電子機器
1か月前
三菱電機株式会社
半導体装置
1か月前
三菱電機株式会社
加熱調理器
9日前
三菱電機株式会社
半導体装置
2か月前
三菱電機株式会社
半導体装置
2か月前
三菱電機株式会社
半導体装置
10日前
三菱電機株式会社
半導体装置
16日前
三菱電機株式会社
半導体装置
1か月前
三菱電機株式会社
半導体装置
1か月前
三菱電機株式会社
加熱調理器
1か月前
三菱電機株式会社
半導体装置
2か月前
三菱電機株式会社
電気掃除機
1か月前
三菱電機株式会社
半導体装置
1か月前
三菱電機株式会社
半導体装置
26日前
三菱電機株式会社
半導体装置
1か月前
三菱電機株式会社
加熱調理器
1か月前
三菱電機株式会社
加熱調理器
2か月前
三菱電機株式会社
回路遮断器
1か月前
続きを見る
他の特許を見る