TOP
|
特許
|
意匠
|
商標
特許ウォッチ
Twitter
他の特許を見る
10個以上の画像は省略されています。
公開番号
2025127103
公報種別
公開特許公報(A)
公開日
2025-09-01
出願番号
2024023625
出願日
2024-02-20
発明の名称
自動分注装置
出願人
株式会社島津製作所
代理人
弁理士法人京都国際特許事務所
主分類
G01N
35/02 20060101AFI20250825BHJP(測定;試験)
要約
【課題】自動分注装置において画像に基づく試料容器の種類の判定精度を高める。
【解決手段】容器収容部(204)と、撮像部(500)と、容器収容部の画像から試料容器の種類を特定する容器特定部(134)と、容器収容部に収容されるべき試料容器の種類の情報が保存された容器収容情報記憶部(131)と、容器収容部の画像を容器特定部に入力して試料容器の種類を特定させ容器収容情報に照らして試料容器の種類の異同を判定する判定部(136)と、容器収容部内の試料容器の姿勢を整える容器姿勢調整部(137)と、試料容器の種類が異なる場合に試料容器の姿勢を整える動作を容器姿勢調整部に実行させ、容器収容部の画像を容器特定部に入力して試料容器の種類を特定させ、容器収容情報に照らして試料容器の種類の異同を再判定する再判定部(138)とを備える自動分注装置。
【選択図】図1
特許請求の範囲
【請求項1】
試料に対する所定の処理を実行する自動分注装置であって、
試料容器を収容可能である容器収容部と、
前記容器収容部の画像を取得する撮像部と、
試料容器が収容された状態の前記容器収容部の画像を学習させることにより構築され、前記容器収容部の画像が入力されると該容器収容部に収容されている試料容器の種類を特定する容器特定部と、
前記処理の前又は後に前記容器収容部に収容されるべき試料容器の種類の情報である容器収容情報が保存された容器収容情報記憶部と、
前記処理の前又は後に、前記撮像部を動作させて前記容器収容部の画像を取得させ、該画像を前記容器特定部に入力して前記容器収容部に収容されている試料容器の種類を特定させ、前記容器収容情報に照らして該特定された試料容器の種類と該容器収容部に収容されるべき試料容器の種類の異同を判定する判定部と、
前記容器収容部に収容された試料容器の姿勢を所定の姿勢に整えるための動作を実行する容器姿勢調整部と、
前記判定部によって前記試料容器の種類が異なると判定された場合に、前記容器収容部に収容されている試料容器の姿勢を前記所定の姿勢に整えるための動作を前記容器姿勢調整部に実行させ、前記撮像部を動作させて前記容器収容部の画像を再取得させ、該画像を前記容器特定部に入力して前記容器収容部に収容されている試料容器の種類を特定させ、前記容器収容情報に照らして該特定された試料容器の種類と該容器収容部に収容されるべき試料容器の種類の異同を再判定する再判定部と
を備える自動分注装置。
続きを表示(約 600 文字)
【請求項2】
前記再判定部によって前記試料容器の種類が異なると判定された場合に、予め決められた回数を上限として前記再判定を実行する、請求項1に記載の自動分注装置。
【請求項3】
前記予め決められた回数が3回以下である、請求項1に記載の自動分注装置。
【請求項4】
さらに、
前記試料に対して行われる複数段階の処理の内容並びに前記判定部による判定の要否に関する前処理情報が記載された前処理情報記憶部
を備える、請求項1に記載の自動分注装置。
【請求項5】
さらに、
前記試料容器を把持して移動させるためのハンド部を有するロボットアーム
を備え、
試料容器の姿勢を所定の姿勢に整えるための動作が、前記ハンド部により前記試料容器を把持し開放する動作である、請求項1に記載の自動分注装置。
【請求項6】
さらに、
複数の前記容器収容部を有するサンプルラックが載置されるサンプルラック載置部と、
前記複数の容器収容部のうち、前記判定の対象である容器収容部の位置に関する判定対象位置情報が保存された判定対象位置情報記憶部と
を備え、
前記判定部が、前記判定対象位置情報記憶部に基づいて特定の容器収容部についてのみ、該判定を実行する、請求項1に記載の自動分注装置。
発明の詳細な説明
【技術分野】
【0001】
本発明は、自動分注装置に関する。
続きを表示(約 3,200 文字)
【背景技術】
【0002】
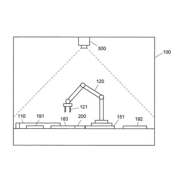
自動分注装置は、試料容器が収容される容器収容部を複数有するサンプルラックと、ピペットと、該ピペットを把持可能なロボットアームとを備えており、ピペットで液体試料や試薬を採取したあと、ロボットアームによって該ピペットをサンプルラックの容器収容部に収容された所定の試料容器の位置に移動させて採取した液体を吐出する(例えば特許文献1)。
【0003】
試料中の目的成分の捕捉、回収、希釈などの処理を行うために、自動分注装置が使用される。例えば、試料中の目的成分を捕捉する際には、バイアルの上部開口に目的成分を捕捉するカラム容器を取り付けたものをサンプルラックの一の容器収容部に配置し、そこに試料を分注して該カラム容器に目的成分を捕捉する。また、該カラム容器に捕捉した目的成分を回収する際には、別の容器収容部に新たなバイアルを配置し、その上部開口に該カラム容器を移動させ、溶離液を分注して該カラム容器に捕捉された目的成分を前記新たなバイアルに回収する。さらに、該目的成分を希釈する際には、目的成分を溶離させた後の前記カラム容器を取り外して該バイアルに希釈液を分注する。この例では、目的成分の捕捉段階には所定の容器収容部にバイアル及びカラム容器が配置され、目的成分の回収段階には別の所定の容器収容部に捕捉段階とは別の新しいバイアルと前記カラム容器が配置され、目的成分の希釈段階には容器収容部にバイアルのみが配置される。このように、目的成分の処理を行う際には、各段階において使用すべき容器収容部の位置と、その容器収容部に収容すべきバイアルやカラム容器等の試料容器の種類が予め決められている。
【0004】
自動分注装置の中には、サンプルラックを撮影するカメラと、容器収容部に試料容器が収容された状態のサンプルラックの画像に基づいて試料容器の形状や色を学習した判定部とを備え、カメラで撮影した画像に基づいて該判定部が容器収容部に収容されている試料容器の種類を特定し、サンプルラック内の正しい容器収容部に正しい種類の試料容器が収容されているか否かを判定するものがある。こうした自動分注装置では、目的成分に対する処理の各段階で上記判定を行い、判定結果が否である場合にエラーを通知して自動処理を中断し、分析者に容器収容部の位置や収容されている試料容器の確認を促す。
【先行技術文献】
【特許文献】
【0005】
特開2019-174369号公報
【発明の概要】
【発明が解決しようとする課題】
【0006】
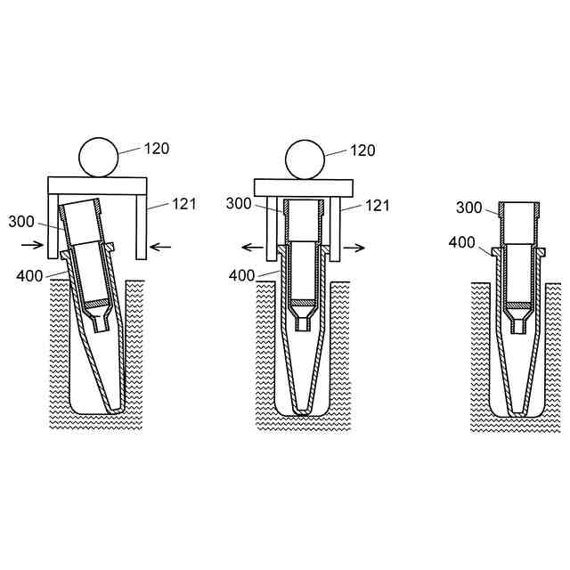
容器収容部への試料容器の収容及び取り出しをスムーズに行うために、容器収容部の内径は試料容器の外径よりもやや大きくなっており、容器収容部に試料容器をセットした状態では容器収容部内の空間に多少の余裕がある。そのため、例えばバイアル等の試料容器を起立状態で容器収容部に配置すると、容器収容部内で様々な方向に傾きうる。カメラで撮影された試料容器の収容状態が、学習に使用した画像に映った試料容器の収容状態と異なっていると、判定部が容器収容部に収容されている試料容器の種類を誤って特定してしまうことがある。容器収容部内の試料容器が誤って特定されると判定結果に誤りが生じ、容器収容部に正しい種類の試料容器が収容されているにも関わらずエラーが通知されてしまう。エラーが通知されると分析者はその都度、容器収容部を確認しなければならず、分析者の負担が大きくなる。また、エラーのたびに自動処理が中断されるため、処理効率も悪くなる。
【0007】
本発明が解決しようとする課題は、自動分注装置において、容器収容部の画像に基づいて該容器収容部内の試料容器の種類の正否を判定する精度を高めることができる技術を提供することである。
【課題を解決するための手段】
【0008】
上記課題を解決するために成された本発明は、試料に対する所定の処理を実行する自動分注装置であって、
試料容器を収容可能である容器収容部と、
前記容器収容部の画像を取得する撮像部と、
試料容器が収容された状態の前記容器収容部の画像を学習させることにより構築され、前記容器収容部の画像が入力されると該容器収容部に収容されている試料容器の種類を特定する容器特定部と、
前記処理の前又は後に前記容器収容部に収容されるべき試料容器の種類の情報である容器収容情報が保存された容器収容情報記憶部と、
前記処理の前又は後に、前記撮像部を動作させて前記容器収容部の画像を取得させ、該画像を前記容器特定部に入力して前記容器収容部に収容されている試料容器の種類を特定させ、前記容器収容情報に照らして該特定された試料容器の種類と該容器収容部に収容されるべき試料容器の種類の異同を判定する判定部と、
前記容器収容部に収容された試料容器の姿勢を所定の姿勢に整えるための動作を実行する容器姿勢調整部と、
前記判定部によって前記試料容器の種類が異なると判定された場合に、前記容器収容部に収容されている試料容器の姿勢を前記所定の姿勢に整えるための動作を前記容器姿勢調整部に実行させ、前記撮像部を動作させて前記容器収容部の画像を再取得させ、該画像を前記容器特定部に入力して前記容器収容部に収容されている試料容器の種類を特定させ、前記容器収容情報に照らして該特定された試料容器の種類と該容器収容部に収容されるべき試料容器の種類の異同を再判定する再判定部と
を備える。
【発明の効果】
【0009】
本発明に係る自動分注装置では、判定部によって試料容器の種類が異なると判定された場合に、容器姿勢調整部によって容器収容部に収容された試料容器の姿勢を所定の姿勢に整えるための動作を実行したあと、再判定部による再判定を行う。ここで、所定の姿勢とは、例えば容器収容部に試料容器が起立状態で収容される場合には、試料容器の傾きが小さい状態をいう。そのため、試料容器が様々な方向に傾いた状態で容器収容部に収容されているなどの理由で、判定部による判定時に、容器収容部に正しい種類の試料容器が収容されているにも関わらずその試料容器の種類が誤って特定され、判定部によって試料容器の種類が異なると判定された判定された場合でも、容器姿勢調整部によって当該容器収容部に収容された試料容器を所定の姿勢に整えるための動作が行われ、その後に再判定が行われる。従って、容器収容部の画像から該容器収容部内の試料容器の種類を特定して正否を判定する精度を高めることができる。
【図面の簡単な説明】
【0010】
本発明に係る試料分注装置の一実施形態である試料前処理装置の概略構成を示す上面図。
本実施形態の試料前処理装置の内部の側面図。
本実施形態において用いられるスピンカラムとマイクロチューブの形状を説明する図。
本実施形態のサンプルラックの構造を説明する図。
本実施形態において容器特定部を構築する手順を説明するフローチャート。
本実施形態において試料収容部内に収容される試料容器の状態を説明する図。
本実施形態において試料収容部内の試料容器の姿勢を整える動作を説明する図。
本実施形態において容器特定部の学習に用いられる画像の例。
本実施形態において試料容器の種類の判定の手順を説明するフローチャート。
【発明を実施するための形態】
(【0011】以降は省略されています)
この特許をJ-PlatPat(特許庁公式サイト)で参照する
関連特許
個人
計量スプーン
22日前
個人
微小振動検出装置
1か月前
株式会社イシダ
X線検査装置
1か月前
日本精機株式会社
位置検出装置
今日
日本精機株式会社
位置検出装置
今日
日本精機株式会社
位置検出装置
今日
大和製衡株式会社
組合せ秤
5日前
大和製衡株式会社
組合せ秤
5日前
トヨタ自動車株式会社
検査装置
2日前
株式会社東芝
センサ
1か月前
アンリツ株式会社
分光器
28日前
アンリツ株式会社
分光器
28日前
株式会社ユーシン
操作検出装置
2日前
ダイハツ工業株式会社
測定用具
26日前
トヨタ自動車株式会社
表示装置
14日前
株式会社東芝
センサ
5日前
株式会社東芝
センサ
5日前
株式会社ナリス化粧品
角層細胞採取用具
12日前
株式会社ヨコオ
コンタクタ
26日前
TDK株式会社
磁気センサ
22日前
個人
粘塑性を用いた有限要素法の定式化
14日前
TDK株式会社
磁気センサ
29日前
東レエンジニアリング株式会社
計量装置
2日前
成田空港給油施設株式会社
保持治具
13日前
株式会社関電工
検相器用治具
20日前
株式会社熊谷組
RI計測装置
今日
大陽日酸株式会社
液面センサ
29日前
大同特殊鋼株式会社
超音波探傷方法
22日前
TDK株式会社
磁気計測装置
13日前
個人
材料特性パラメータの算定方法
22日前
富士電機株式会社
半導体パッケージ
22日前
中国電力株式会社
異常箇所検出装置
13日前
国立大学法人京都大学
バイオセンサ
29日前
日本碍子株式会社
ガスセンサ
23日前
三菱マテリアル株式会社
温度センサ
12日前
三菱マテリアル株式会社
温度センサ
12日前
続きを見る
他の特許を見る