TOP
|
特許
|
意匠
|
商標
特許ウォッチ
Twitter
他の特許を見る
公開番号
2025127311
公報種別
公開特許公報(A)
公開日
2025-09-01
出願番号
2024023976
出願日
2024-02-20
発明の名称
洗浄装置
出願人
株式会社ダイフク
代理人
弁理士法人 HARAKENZO WORLD PATENT & TRADEMARK
主分類
B60S
3/04 20060101AFI20250825BHJP(車両一般)
要約
【課題】車両を効果的に洗浄することを目的とする。
【解決手段】洗浄装置(100)は、洗浄ユニット(10)と、一対のガイドレール(20)と、を備え、一対のガイドレール(20)は、パッカー車(1)がガイドレール(20)間に進入可能に設けられており、洗浄ユニット(10)は、車幅方向に沿って延伸している回転軸を中心に回転可能であり、洗浄ユニット(10)が有する複数のノズルの噴射口は、前記回転軸から離れて位置している。
【選択図】図1
特許請求の範囲
【請求項1】
車両を洗浄する洗浄装置であって、
車幅方向に沿って延伸し、洗浄液を噴射する複数のノズルを該延伸方向に沿って有する洗浄ユニットと、
車長方向に沿って延伸し、前記洗浄ユニットの移動をガイドする一対のガイドレールと、を備え、
前記一対のガイドレールは、前記車両がガイドレール間に進入可能に設けられており、
前記洗浄ユニットは、前記車幅方向に沿って延伸している回転軸を中心に回転可能であり、
前記複数のノズルの噴射口は、前記回転軸から離れて位置している、洗浄装置。
続きを表示(約 640 文字)
【請求項2】
前記ガイドレールは、前記車両が洗浄位置にあるときに、側方から見て前記車両と重なる位置まで延在している、請求項1に記載の洗浄装置。
【請求項3】
前記車両はパッカー車であり、
前記洗浄ユニットは、前記パッカー車がホッパーを開放した状態において、該ホッパーの下方まで移動可能である、請求項2に記載の洗浄装置。
【請求項4】
前記洗浄ユニットは、前記複数のノズルが水平方向を向く回転角度を0°とし、回転角度0°からノズルが上向きに向く回転方向を回転角度の正とした場合、負の回転方向に少なくとも回転角度-20°となるまで回転し得る、請求項1に記載の洗浄装置。
【請求項5】
前記洗浄ユニットは、前記複数のノズルが水平方向を向く回転角度を0°とし、回転角度0°からノズルが上向きに向く回転方向を回転角度の正とした場合、正の回転方向に90°を超えて回転し得る、請求項3に記載の洗浄装置。
【請求項6】
前記複数のノズルは、内側に配置される高圧ノズルと、外側に配置される低圧ノズルとを含む、請求項1に記載の洗浄装置。
【請求項7】
前記ガイドレールは、前記洗浄ユニットの回転軸よりも高い位置に設けられる、請求項1に記載の洗浄装置。
【請求項8】
前記洗浄ユニットに接続される配管類および配線類は、前記ガイドレールに沿って配置されている、請求項1に記載の洗浄装置。
発明の詳細な説明
【技術分野】
【0001】
本開示は、洗浄装置に関する。
続きを表示(約 1,300 文字)
【背景技術】
【0002】
特許文献1には、ごみ収集車(パッカー車)を洗浄する洗車設備が開示されている。
【先行技術文献】
【特許文献】
【0003】
特開昭57-158150公報
【発明の概要】
【発明が解決しようとする課題】
【0004】
簡易な構造で車両を効果的に洗浄し得る洗浄装置が所望される。
【0005】
本開示の一態様は、車両を効果的に洗浄することを目的とする。
【課題を解決するための手段】
【0006】
上記の課題を解決するために、本開示に係る洗浄装置は、車両を洗浄する洗浄装置であって、車幅方向に沿って延伸し、洗浄液を噴射する複数のノズルを該延伸方向に沿って有する洗浄ユニットと、車長方向に沿って延伸し、前記洗浄ユニットの移動をガイドする一対のガイドレールと、を備え、前記一対のガイドレールは、前記車両がガイドレール間に進入可能に設けられており、前記洗浄ユニットは、前記車幅方向に沿って延伸している回転軸を中心に回転可能であり、前記複数のノズルの噴射口は、前記回転軸から離れて位置している。
【発明の効果】
【0007】
本開示の一態様によれば、車両を効果的に洗浄することができる。
【図面の簡単な説明】
【0008】
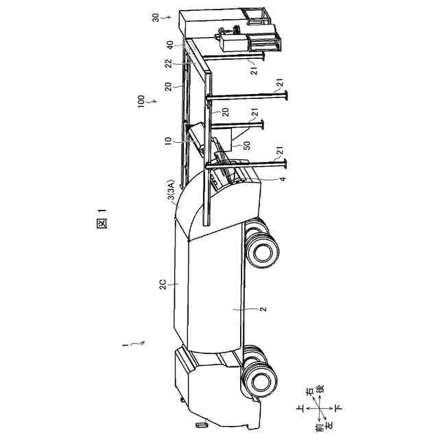
本開示の実施形態1に係る洗浄装置の概要を示す斜視図である。
本開示の実施形態1に係る洗浄装置の概要を示す斜視図である。
洗浄ユニットを側方からみた側面図である。
洗浄ユニットの回転位置とノズルの噴射方向との関係を説明する図である。
洗浄ユニットを上方からみた平面図である。
洗浄ユニットを正面からみた正面図である。
本開示の実施形態2に係る洗浄装置の概要を示す側面図である。
【発明を実施するための形態】
【0009】
〔実施形態1〕
本実施形態において、パッカー車1を洗浄する洗浄装置100について、図1および図2を参照して説明する。図1および図2は、洗浄装置100の概要を示す斜視図である。説明の便宜上、図1等の矢印で示されるように、上下方向、前後方向、及び左右方向を定義する。前方向は、洗浄装置100に対して、洗浄するパッカー車1が停車している方向である。前後方向はパッカー車1の車長方向であり、左右方向はパッカー車1の車幅方向であり、上下方向はパッカー車1の車高方向である。なお、本実施形態において、上下方向は前後方向及び左右方向と直交する方向であって、前後方向は左右方向と直交する方向である。
【0010】
本実施形態では、洗浄装置100が洗浄する車両がパッカー車1である場合について例示しているが、このような構成に限られない。洗浄装置100が洗浄する車両は、トラック・バスなどの大型車両、またはダンプカー・パッカー車などの特殊車両であってもよい。例えば、洗浄装置100が洗浄するパッカー車1は、ダンプ可能な荷箱または荷台を備える、パッカー車またはトラックであってよい。
(【0011】以降は省略されています)
この特許をJ-PlatPat(特許庁公式サイト)で参照する
関連特許
株式会社ダイフク
作業設備
6日前
株式会社ダイフク
物品搬送設備
4日前
株式会社ダイフク
物品搬送設備及び物品搬送設備の保守方法
4日前
株式会社ダイフク
駆動伝達装置及び駆動伝達装置を備えた昇降装置
5日前
個人
タイヤレバー
2か月前
個人
前輪キャスター
1か月前
個人
上部一体型自動車
18日前
個人
ホイルのボルト締結
3か月前
個人
タイヤ脱落防止構造
1か月前
個人
ルーフ付きトライク
2か月前
日本精機株式会社
表示装置
2か月前
日本精機株式会社
表示装置
2か月前
日本精機株式会社
表示装置
2か月前
個人
マスタシリンダ
25日前
個人
車両通過構造物
2か月前
日本精機株式会社
表示装置
2か月前
個人
アクセルのソフトウェア
3か月前
個人
車両用スリップ防止装置
3か月前
個人
乗合路線バスの客室装置
3か月前
株式会社豊田自動織機
産業車両
2か月前
株式会社ニフコ
保持装置
3か月前
日本精機株式会社
画像投映装置
14日前
株式会社ニフコ
照明装置
2か月前
日本精機株式会社
車載表示装置
1か月前
個人
円湾曲ホイール及び球体輪
3か月前
日本精機株式会社
車載表示装置
3か月前
株式会社ニフコ
収納装置
1か月前
日本精機株式会社
車室演出装置
1か月前
個人
車載小物入れ兼雨傘収納具
3か月前
個人
音声ガイド、音声サービス
2か月前
日本精機株式会社
車両用投射装置
19日前
井関農機株式会社
作業車両
1か月前
極東開発工業株式会社
車両
2か月前
日本精機株式会社
車両用投影装置
1か月前
日本精機株式会社
車両用表示装置
2か月前
日本無線株式会社
取付金具
3か月前
続きを見る
他の特許を見る