TOP
|
特許
|
意匠
|
商標
特許ウォッチ
Twitter
他の特許を見る
公開番号
2025127917
公報種別
公開特許公報(A)
公開日
2025-09-02
出願番号
2024024922
出願日
2024-02-21
発明の名称
情報処理装置、制御システム、情報処理方法、制御プログラム及び記録媒体
出願人
ソフトバンク株式会社
代理人
弁理士法人 HARAKENZO WORLD PATENT & TRADEMARK
主分類
H04L
65/80 20220101AFI20250826BHJP(電気通信技術)
要約
【課題】ロボットの制御データを過剰に生成することなく、通信遅延時においてロボットが動作不能となることを抑制可能とする。
【解決手段】本発明の一態様に係る情報処理装置(1)は、ロボット(2)を制御するための制御データを生成する情報処理装置(1)であって、前記情報処理装置(1)と前記ロボット(2)との間の通信品質を示す情報を取得する取得部(11)と、前記通信品質に応じた制御時間分の制御データを、繰り返し生成する生成部(12)と、前記生成された制御データを前記ロボット(2)に送信する通信処理部(13)と、を備える。
【選択図】図1
特許請求の範囲
【請求項1】
ロボットを制御するための制御データを生成する情報処理装置であって、
前記情報処理装置と前記ロボットとの間の通信品質を示す情報を取得する取得部と、
前記通信品質に応じた制御時間分の制御データを、繰り返し生成する生成部と、
前記生成された制御データを前記ロボットに送信する通信処理部と、
を備える情報処理装置。
続きを表示(約 1,200 文字)
【請求項2】
前記生成部は、
前記通信品質に応じた第1時間分の制御データを、繰り返し生成し、
前記通信処理部は、
前記制御データを第2時間毎に前記ロボットに送信し、
前記第1時間は、前記第2時間よりも長く且つ前記通信品質が低い程長い時間である
請求項1に記載の情報処理装置。
【請求項3】
前記制御データは、複数の制御データ部分を含み、
前記ロボットは、各制御データ部分に対応する動作を順番に実行し、
前記生成部は、
前記制御データに含まれる制御データ部分毎の確率であって、当該制御データ部分に対応する動作を前記ロボットが行っている時間中に、前記生成部において生成された次の制御データが前記ロボットに到達する確率を含む式を用いて前記制御データを生成する
請求項1又は2に記載の情報処理装置。
【請求項4】
前記取得部は、
前記ロボットが備えるセンサのセンシング結果を取得し、
前記生成部は、
前記センシング結果と前記通信品質との双方に応じた制御時間分の制御データを、繰り返し生成する
請求項1又は2に記載の情報処理装置。
【請求項5】
1又は複数のロボットと、前記ロボットを制御するための制御データを生成する情報処理装置とを備える制御システムであって、
前記情報処理装置は、
前記情報処理装置と前記ロボットとの間の通信品質を示す情報を取得する取得部と、
前記通信品質に応じた制御時間分の制御データを、繰り返し生成する生成部と、
前記生成された制御データを前記ロボットに送信する通信処理部と、を備え、
前記ロボットは、
前記情報処理装置から前記制御データを受信したことに応答して、当該制御データに基づく動作を行う
制御システム。
【請求項6】
前記情報処理装置として、分散処理を行う複数のエッジサーバを備える
請求項5に記載の制御システム。
【請求項7】
ロボットを制御するための制御データを生成する情報処理装置によって実行される情報処理方法であって、
前記情報処理装置と前記ロボットとの間の通信品質を示す情報を取得する取得ステップと、
前記通信品質に応じた制御時間分の制御データを、繰り返し生成する生成ステップと、
前記生成された制御データを前記ロボットに送信する通信ステップと、
を含む情報処理方法。
【請求項8】
請求項1に記載の情報処理装置としてコンピュータを機能させるための制御プログラムであって、上記取得部、上記生成部および上記通信処理部としてコンピュータを機能させるための制御プログラム。
【請求項9】
請求項8に記載の制御プログラムを記録したコンピュータ読み取り可能な記録媒体。
発明の詳細な説明
【技術分野】
【0001】
本発明は、情報処理装置、制御システム、情報処理方法、制御プログラム及び記録媒体に関する。
続きを表示(約 1,500 文字)
【背景技術】
【0002】
ロボット等を制御するための制御データを生成する場合、その生成が完了するまでの時間には揺らぎがあるため、一定周期毎に、ロボットの動作に要する時間分よりも長い時間分の制御データを生成する処理が従来技術として知られている。前記処理においては、ロボットの動作に実際には使用されなかった分の制御データ部分については破棄される。特許文献1では、子供などの割り込みによって中断しない案内ロボットが開示されている。
【先行技術文献】
【特許文献】
【0003】
特開2018-144118号公報
【発明の概要】
【発明が解決しようとする課題】
【0004】
上述のような従来技術では、例えば制御データを生成するサーバと、制御対象となるロボットとが遠隔地に位置し、制御データの通信遅延が生じた場合に、ロボットの動作に要する制御データが不足してロボットが一時的に動作不能になることがある。
【0005】
一方で、ロボットが動作不能になることを防ぐために、一定周期毎に生成する制御データのサイズを大きくした場合には、制御データの生成コスト、及び破棄される制御データ部分のロスが増加するという問題がある。
【0006】
本発明の一態様は、上記の問題に鑑みてなされたものであり、ロボットの制御データを過剰に生成することなく、通信遅延時においてロボットが動作不能となることを抑制可能とすることを目的とする。
【課題を解決するための手段】
【0007】
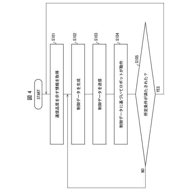
上記の課題を解決するために、本発明の一態様に係る情報処理装置は、ロボットを制御するための制御データを生成する情報処理装置であって、前記情報処理装置と前記ロボットとの間の通信品質を示す情報を取得する取得部と、前記通信品質に応じた制御時間分の制御データを、繰り返し生成する生成部と、前記生成された制御データを前記ロボットに送信する通信処理部と、を備える。
【0008】
本発明の他の態様に係る制御システムは、1又は複数のロボットと、前記ロボットを制御するための制御データを生成する情報処理装置とを備える制御システムであって、前記情報処理装置は、前記情報処理装置と前記ロボットとの間の通信品質を示す情報を取得する取得部と、前記通信品質に応じた制御時間分の制御データを、繰り返し生成する生成部と、前記生成された制御データを前記ロボットに送信する通信処理部と、を備え、前記ロボットは、前記情報処理装置から前記制御データを受信したことに応答して、当該制御データに基づく動作を行う。
【0009】
本発明の他の態様に係る情報処理方法は、ロボットを制御するための制御データを生成する情報処理装置によって実行される情報処理方法であって、前記情報処理装置と前記ロボットとの間の通信品質を示す情報を取得する取得ステップと、前記通信品質に応じた制御時間分の制御データを、繰り返し生成する生成ステップと、前記生成された制御データを前記ロボットに送信する通信ステップと、を含む。
【0010】
コンピュータを本発明の各態様に係る情報処理装置が備える各部(ソフトウェア要素)として動作させることにより前記情報処理装置をコンピュータにて実現させる情報処理装置の制御プログラム、およびそれを記録したコンピュータ読み取り可能な記録媒体も、本発明の範疇に入る。
(【0011】以降は省略されています)
この特許をJ-PlatPat(特許庁公式サイト)で参照する
関連特許
ソフトバンク株式会社
通信システム
14日前
ソフトバンク株式会社
システム、装置、及び方法
1日前
ソフトバンク株式会社
情報処理装置及び情報処理プログラム
15日前
ソフトバンク株式会社
情報処理装置及び情報処理プログラム
1日前
ソフトバンク株式会社
情報処理装置及び情報処理プログラム
4日前
ソフトバンク株式会社
情報処理装置及び情報処理プログラム
4日前
ソフトバンク株式会社
システム、プログラム、及び認証方法
4日前
ソフトバンク株式会社
電子機器、プログラム、及び制御方法
4日前
ソフトバンク株式会社
情報処理装置及び情報処理プログラム
15日前
ソフトバンク株式会社
電子機器、プログラム、及び制御方法
4日前
ソフトバンク株式会社
データ処理システム及びデータ処理方法
23日前
ソフトバンク株式会社
通信システム、水中光通信体、及び制御方法
1日前
ソフトバンク株式会社
情報処理装置、プログラム、及び情報処理方法
1か月前
ソフトバンク株式会社
画像処理装置、プログラム、及び画像処理方法
4日前
ソフトバンク株式会社
エッジサーバ、プログラム、及び情報処理方法
1か月前
ソフトバンク株式会社
画像処理装置、プログラム、及び画像処理方法
4日前
ソフトバンク株式会社
画像処理装置、プログラム、及び画像処理方法
4日前
ソフトバンク株式会社
システム、情報処理装置、プログラム、及び方法
7日前
ソフトバンク株式会社
システム、情報処理装置、プログラム、及び方法
7日前
ソフトバンク株式会社
情報処理装置、情報処理方法及び情報処理プログラム
14日前
ソフトバンク株式会社
管理基盤、プログラム、情報処理システム、及び管理方法
1日前
ソフトバンク株式会社
管理基盤、プログラム、情報処理システム、及び管理方法
1日前
ソフトバンク株式会社
情報処理装置、システム、情報処理方法及び制御プログラム
4日前
ソフトバンク株式会社
管理システム、管理システムの制御方法、及び管理システムの制御プログラム
8日前
ソフトバンク株式会社
情報処理装置およびプログラム
1か月前
ソフトバンク株式会社
地上基地局、通信中継装置、遠隔制御装置、システム、エリア制御方法及びプログラム
23日前
ソフトバンク株式会社
管理システム、管理システムの制御方法、及び管理システムの制御プログラム
8日前
ソフトバンク株式会社
情報処理装置、情報処理装置の制御方法、情報処理装置の制御プログラム、通信端末、通信端末の制御方法、及び通信端末の制御プログラム
4日前
個人
店内配信予約システム
2か月前
WHISMR合同会社
収音装置
22日前
サクサ株式会社
中継装置
2か月前
キヤノン株式会社
撮像装置
3か月前
キヤノン株式会社
撮像装置
1か月前
キヤノン株式会社
電子機器
2か月前
アイホン株式会社
電気機器
16日前
キヤノン電子株式会社
画像読取装置
23日前
続きを見る
他の特許を見る