TOP
|
特許
|
意匠
|
商標
特許ウォッチ
Twitter
他の特許を見る
公開番号
2025136338
公報種別
公開特許公報(A)
公開日
2025-09-19
出願番号
2024034835
出願日
2024-03-07
発明の名称
通信システム
出願人
ソフトバンク株式会社
代理人
個人
,
個人
主分類
H04W
16/26 20090101AFI20250911BHJP(電気通信技術)
要約
【課題】非再生型の無線中継装置における既知信号を用いた高速制御が可能であり、しかも、基地局から受信されて無線中継装置の制御に用いられた既知信号によるサービスリンクへの干渉を軽減することができる通信システムを提供する。
【解決手段】通信システムは、基地局と非再生型の無線中継装置とを備える。基地局は、システム帯域の任意の周波数領域に、無線中継装置の制御に利用可能な既知信号を割り当てるための制御用周波数領域を設定し、制御用周波数領域に割り当てた既知信号と、制御用周波数領域とは異なる通信用周波数領域に割り当てた端末装置向けの信号とを多重し、無線中継装置に対するフィーダリンクの送信を行う。無線中継装置は、制御用周波数領域の既知信号を無線中継装置内でキャンセル又は抑圧して端末装置に対するサービスリンクの送信を行う。
【選択図】図1
特許請求の範囲
【請求項1】
基地局と、前記基地局と端末装置との間の無線信号を中継する非再生型の無線中継装置と、を備える通信システムであって、
前記基地局は、
システム帯域の任意の周波数領域に、前記無線中継装置の制御に利用可能な既知信号を割り当てるための制御用周波数領域を設定し、
前記制御用周波数領域に割り当てた前記既知信号と、前記制御用周波数領域とは異なる通信用周波数領域に割り当てた前記端末装置向けの信号とを多重し、前記無線中継装置に対するフィーダリンクの送信を行い、
前記無線中継装置は、前記制御用周波数領域の前記既知信号を前記無線中継装置内でキャンセル又は抑圧して前記端末装置に対するサービスリンクの送信を行う、
ことを特徴とする通信システム。
続きを表示(約 2,700 文字)
【請求項2】
請求項1の通信システムにおいて、
前記基地局は、基地局装置と、前記基地局装置に接続されたゲートウェイ装置とを有し、
前記無線中継装置は、前記ゲートウェイ装置を介して前記基地局装置と前記端末装置との間の無線信号を中継し、
前記基地局装置は、
システム帯域の任意の周波数領域に、前記無線中継装置の制御に利用可能な既知信号を割り当てるための制御用周波数領域を設定し、
前記システム帯域における前記制御用周波数領域に前記端末装置向けの信号を割り当てないで、前記制御用周波数領域とは異なる通信用周波数領域に前記端末装置向けの信号を割り当てて送信し、
前記ゲートウェイ装置は、前記制御用周波数領域に割り当てる前記既知信号を生成し、前記制御用周波数領域に割り当てた前記既知信号と、前記制御用周波数領域とは異なる通信用周波数領域に割り当てた前記端末装置向けの信号とを多重し、前記無線中継装置に対するフィーダリンクの送信を行い、
前記無線中継装置は、前記ゲートウェイ装置から送信された前記制御用周波数領域の既知信号をキャンセル又は抑圧して前記端末装置に対するサービスリンクの送信を行う、
ことを特徴とする通信システム。
【請求項3】
請求項1の通信システムにおいて、
前記基地局は、基地局装置と、前記基地局装置に接続されたゲートウェイ装置と、を有し、
前記無線中継装置は、前記ゲートウェイ装置を介して前記基地局装置と前記端末装置との間の無線信号を中継し、
前記基地局装置は、
前記システム帯域の任意の周波数領域に、前記無線中継装置の制御に利用可能な既知信号を割り当てるための制御用周波数領域を設定し、
前記制御用周波数領域に割り当てる前記既知信号を生成し、前記制御用周波数領域に割り当てた前記既知信号と、前記制御用周波数領域とは異なる通信用周波数領域に割り当てた前記端末装置向けの信号とを多重して前記ゲートウェイ装置に送信し、
前記ゲートウェイ装置は、前記基地局装置で多重した前記既知信号と前記端末装置向けの信号とを受信し、前記無線中継装置に対するフィーダリンクの送信を行い、
前記無線中継装置は、
前記ゲートウェイ装置を介して前記基地局装置から送信された前記制御用周波数領域の前記既知信号を受信し、
前記既知信号をキャンセル又は抑圧して前記端末装置に対するサービスリンクの送信を行う、
ことを特徴とする通信システム。
【請求項4】
請求項1、2又は3の通信システムにおいて、
前記無線中継装置の制御は、前記基地局から受信して前記端末装置に送信するサービスリンクの信号を増幅する電力増幅器の利得を制御する利得制御であり、
前記無線中継装置は、前記既知信号の受信結果に基づいて前記電力増幅器の利得を制御する、
ことを特徴とする通信システム。
【請求項5】
請求項4の通信システムにおいて、
前記無線中継装置は、
前記システム帯域における時間軸上の観測電力に基づいて前記電力増幅器の利得を制御する第1の利得制御を実行し、
前記第1の利得制御の後、前記既知信号の受信結果に基づいて前記電力増幅器の利得を制御する第2の利得制御を実行する、
ことを特徴とする通信システム。
【請求項6】
請求項1、2又は3の通信システムにおいて、
前記制御用周波数領域は、前記システム帯域の高周波数側の端部の周波数領域、前記システム帯域の高周波数側の端部の周波数領域、又は、前記システム帯域の高周波数側及び低周波数側の両端部の周波数領域である、
ことを特徴とする通信システム。
【請求項7】
請求項1、2又は3の通信システムにおいて、
前記基地局は、
前記既知信号に関する設定情報を動的に変更し、
前記既知信号に関する設定情報を変更したとき、前記無線中継装置に前記変更の情報を通知し、
前記既知信号に関する設定情報は、前記既知信号を割り当てる前記制御用周波数領域の配置位置、前記既知信号の送信電力、前記既知信号と前記端末装置向けの信号の送信電力の比、前記既知信号の信号系列の少なくとも一つの情報を含む、
ことを特徴とする通信システム。
【請求項8】
請求項2又は3の通信システムにおいて、
前記基地局装置は、
前記既知信号に関する設定情報を動的に変更し、
前記既知信号に関する設定情報を変更したとき、前記ゲートウェイ装置及び前記無線中継装置に前記変更の情報を通知し、
前記既知信号に関する設定情報は、前記既知信号を割り当てる前記制御用周波数領域の配置位置、前記既知信号の送信電力、前記既知信号と前記端末装置向けの信号の送信電力の比、前記既知信号の信号系列の少なくとも一つの情報を含む、
ことを特徴とする通信システム。
【請求項9】
請求項2又は3の通信システムにおいて、
前記ゲートウェイ装置は、
前記既知信号に関する設定情報を動的に変更し、
前記既知信号に関する設定情報を変更したとき、前記基地局装置及び前記無線中継装置に前記変更の情報を通知し、
前記既知信号に関する設定情報は、前記既知信号を割り当てる前記制御用周波数領域の配置位置、前記既知信号の送信電力、前記既知信号と前記端末装置向けの信号の送信電力の比、前記既知信号の信号系列の少なくとも一つの情報を含む、
ことを特徴とする通信システム。
【請求項10】
請求項2又は3の通信システムにおいて、
前記無線中継装置は、
前記既知信号に関する設定情報を動的に変更し、
前記既知信号に関する設定情報を変更したとき、前記基地局装置及び前記ゲートウェイ装置に前記変更の情報を通知し、
前記既知信号に関する設定情報は、前記既知信号を割り当てる前記制御用周波数領域の配置位置、前記既知信号の送信電力、前記既知信号と前記端末装置向けの信号の送信電力の比、前記既知信号の信号系列の少なくとも一つの情報を含む、
ことを特徴とする通信システム。
(【請求項11】以降は省略されています)
発明の詳細な説明
【技術分野】
【0001】
本発明は、無線中継装置を介した基地局と端末装置との間の通信の中継に関する。
続きを表示(約 2,500 文字)
【背景技術】
【0002】
従来、移動通信システムの基地局から送信された無線信号を中継する非再生型の無線中継装置において、基地局からの送信された信号の受信電力を測定し、その受信電力の測定結果に基づいて、端末装置に送信する送信信号の電力を増幅する電力増幅器の利得を制御する利得制御(AGC)が知られている。
【0003】
特許文献1には、基地局から受信したLTE(LONG TERM EVOLUTION)システムのシンク信号(同期信号)を検出し、検出したシンク信号の電力サイズを測定し、測定したシンク信号の電力サイズに基づいて中継器(無線中継装置)のカバレッジを一定に維持するための前記中継器の増幅器の利得を算定し、算定された利得によって前記中継器の増幅器を制御する装置が開示されている。
【先行技術文献】
【特許文献】
【0004】
特表2015-500586号公報
【発明の概要】
【発明が解決しようとする課題】
【0005】
しかしながら、上記増幅器の利得制御(AGC)で用いる既知信号(例えば、第4世代や第5世代移動通信システムで用いられる同期信号又は参照信号)は、基地局から比較的長い送信間隔(例えば、第5世代の移動通信システムの場合、5ミリ秒以上)で送信されるため、増幅器の利得の高速制御に不向きであり、基地局と中継局の間のフィーダリンクのチャネル情報を利用した高度な制御(例えば数ミリ秒以下の高速制御)に不向きであるという課題がある。また、移動通信システムで用いられる既知信号ではなく、独自の既知信号を任意のタイミングで配置することで、上記の高速な制御に対応する手法も考えられるが、このような信号は上記中継器の制御だけに用いられるものであり、移動通信システムに対しては干渉信号となる。特に、上記中継器が上空にあり、上空と地上移動通信システムの間で周波数共用を行う場合には、この信号が広範囲にわたって地上移動通信システムへの干渉となり得る。
【課題を解決するための手段】
【0006】
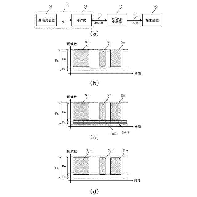
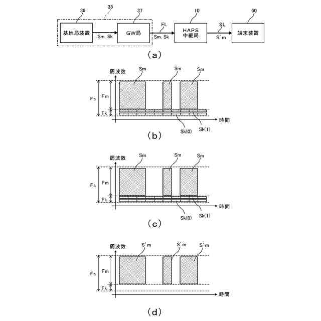
本発明の一態様に係る通信システムは、基地局と、前記基地局と端末装置との間の無線信号を中継する非再生型の無線中継装置と、を備える通信システムである。前記基地局は、システム帯域の任意の周波数領域に、前記無線中継装置の制御に利用可能な既知信号を割り当てるための制御用周波数領域を設定し、前記制御用周波数領域に割り当てた前記既知信号と、前記制御用周波数領域とは異なる通信用周波数領域に割り当てた前記端末装置向けの信号とを多重し、前記無線中継装置に対するフィーダリンクの送信を行う。前記無線中継装置は、前記制御用周波数領域の前記既知信号を前記無線中継装置内でキャンセル又は抑圧して前記端末装置に対するサービスリンクの送信を行う。
【0007】
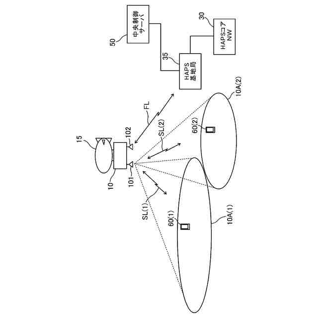
前記通信システムにおいて、前記基地局は、基地局装置と、前記基地局装置に接続されたゲートウェイ装置とを有し、前記無線中継装置は、前記ゲートウェイ装置を介して前記基地局装置と前記端末装置との間の無線信号を中継してもよい。
【0008】
前記基地局装置と前記ゲートウェイ装置とを有する通信システムにおいて、前記基地局装置は、システム帯域の任意の周波数領域に、前記無線中継装置の制御に利用可能な既知信号を割り当てるための制御用周波数領域を設定し、前記システム帯域における前記制御用周波数領域に前記移動通信システムの端末装置向けの信号を割り当てないで、前記制御用周波数領域とは異なる通信用周波数領域に前記端末装置向けの信号を割り当てて送信してもよい。前記ゲートウェイ装置は、前記制御用周波数領域に割り当てる前記既知信号を生成し、前記制御用周波数領域に割り当てた前記既知信号と、前記制御用周波数領域とは異なる通信用周波数領域に割り当てた前記端末装置向けの信号とを多重し、前記無線中継装置に対するフィーダリンクの送信を行ってもよい。
前記無線中継装置は、前記ゲートウェイ装置から送信された前記制御用周波数領域の既知信号をキャンセル又は抑圧して前記端末装置に対するサービスリンクの送信を行ってもよい。
【0009】
前記基地局装置と前記ゲートウェイ装置とを有する通信システムにおいて、前記基地局装置は、前記システム帯域の任意の周波数領域に、前記無線中継装置の制御に利用可能な既知信号を割り当てるための制御用周波数領域を設定し、前記制御用周波数領域に割り当てる前記既知信号を生成し、前記制御用周波数領域に割り当てた前記既知信号と、前記制御用周波数領域とは異なる通信用周波数領域に割り当てた前記端末装置向けの信号とを多重して前記ゲートウェイ装置に送信してもよい。前記ゲートウェイ装置は、前記基地局装置で多重した前記既知信号と前記端末装置向けの信号とを受信し、前記無線中継装置に対するフィーダリンクの送信を行ってもよい。前記無線中継装置は、前記ゲートウェイ装置を介して前記基地局装置から送信された前記制御用周波数領域の前記既知信号を受信し、前記既知信号をキャンセル又は抑圧して前記端末装置に対するサービスリンクの送信を行ってもよい。
【0010】
前記無線中継装置の制御は、前記基地局から受信して前記端末装置に送信するサービスリンクの信号を増幅する電力増幅器の利得を制御する利得制御であり、前記無線中継装置は、前記既知信号の受信結果(例えば、相関処理による推定電力)に基づいて前記電力増幅器の利得を制御してもよい。ここで、前記無線中継装置は、前記システム帯域における時間軸上の観測電力に基づいて、前記基地局から受信して前記端末装置に送信するサービスリンクの信号を増幅する電力増幅器の利得を制御する第1の利得制御を実行し、前記第1の利得制御の後、前記既知信号の受信結果に基づいて前記電力増幅器の利得を制御する第2の利得制御を実行してもよい。
(【0011】以降は省略されています)
この特許をJ-PlatPat(特許庁公式サイト)で参照する
関連特許
ソフトバンク株式会社
通信システム
14日前
ソフトバンク株式会社
システム、装置、及び方法
1日前
ソフトバンク株式会社
情報処理装置及び情報処理プログラム
15日前
ソフトバンク株式会社
情報処理装置及び情報処理プログラム
4日前
ソフトバンク株式会社
情報処理装置及び情報処理プログラム
15日前
ソフトバンク株式会社
電子機器、プログラム、及び制御方法
4日前
ソフトバンク株式会社
電子機器、プログラム、及び制御方法
4日前
ソフトバンク株式会社
システム、プログラム、及び認証方法
4日前
ソフトバンク株式会社
情報処理装置及び情報処理プログラム
4日前
ソフトバンク株式会社
情報処理装置及び情報処理プログラム
1日前
ソフトバンク株式会社
通信システム、水中光通信体、及び制御方法
1日前
ソフトバンク株式会社
画像処理装置、プログラム、及び画像処理方法
4日前
ソフトバンク株式会社
量子コンピュータシステムおよびその制御方法
今日
ソフトバンク株式会社
画像処理装置、プログラム、及び画像処理方法
4日前
ソフトバンク株式会社
画像処理装置、プログラム、及び画像処理方法
4日前
ソフトバンク株式会社
システム、情報処理装置、プログラム、及び方法
7日前
ソフトバンク株式会社
システム、情報処理装置、プログラム、及び方法
7日前
ソフトバンク株式会社
情報処理装置、情報処理方法及び情報処理プログラム
今日
ソフトバンク株式会社
情報処理装置、情報処理方法及び情報処理プログラム
14日前
ソフトバンク株式会社
管理基盤、プログラム、情報処理システム、及び管理方法
1日前
ソフトバンク株式会社
管理基盤、プログラム、情報処理システム、及び管理方法
1日前
ソフトバンク株式会社
情報処理装置、システム、情報処理方法及び制御プログラム
4日前
ソフトバンク株式会社
情報処理装置、情報処理装置の制御方法、及び情報処理装置の制御プログラム
今日
ソフトバンク株式会社
管理システム、管理システムの制御方法、及び管理システムの制御プログラム
8日前
ソフトバンク株式会社
情報処理装置、情報処理装置の制御方法、及び情報処理装置の制御プログラム
今日
ソフトバンク株式会社
管理システム、管理システムの制御方法、及び管理システムの制御プログラム
8日前
ソフトバンク株式会社
情報処理装置、情報処理装置の制御方法、情報処理装置の制御プログラム、通信端末、通信端末の制御方法、及び通信端末の制御プログラム
4日前
理想科学工業株式会社
手話情報生成装置、方法、プログラムおよびシステム
今日
理想科学工業株式会社
手話動画情報収集装置、方法、プログラムおよびシステム
今日
理想科学工業株式会社
手話動画情報収集装置、方法、プログラムおよびシステム
今日
個人
店内配信予約システム
2か月前
WHISMR合同会社
収音装置
22日前
サクサ株式会社
中継装置
2か月前
キヤノン株式会社
撮像装置
1か月前
キヤノン株式会社
電子機器
2か月前
キヤノン株式会社
撮像装置
3か月前
続きを見る
他の特許を見る