TOP
|
特許
|
意匠
|
商標
特許ウォッチ
Twitter
他の特許を見る
公開番号
2025140144
公報種別
公開特許公報(A)
公開日
2025-09-29
出願番号
2024039334
出願日
2024-03-13
発明の名称
情報処理装置、システム、情報処理方法及び制御プログラム
出願人
ソフトバンク株式会社
代理人
弁理士法人 HARAKENZO WORLD PATENT & TRADEMARK
主分類
G08G
1/00 20060101AFI20250919BHJP(信号)
要約
【課題】デジタルツインのシステムに用いられるセンサの設置位置の推定を、比較的少ないコスト及び工数によって高精度で行うことを可能とする。
【解決手段】所定位置に設けられたセンサ(20)が検知した車両の車両位置であって、前記センサ(20)が用いる座標系であるセンサ座標系によって示される車両位置を取得する取得部(11)と、前記車両位置を、前記センサ座標系から、サーバ(1)が用いる座標系であるサーバ座標系に変換する変換部(12)と、前記サーバ座標系に変換された前記車両位置と、前記サーバ座標系における車線位置とを参照して、前記サーバ座標系における前記センサ(20)の設置位置を算出する算出部(13)とを備える。
【選択図】図1
特許請求の範囲
【請求項1】
所定位置に設けられたセンサが検知した車両の車両位置であって、前記センサが用いる座標系であるセンサ座標系によって示される車両位置を取得する取得部と、
前記車両位置を、前記センサ座標系から、サーバが用いる座標系であるサーバ座標系に変換する変換部と、
前記サーバ座標系に変換された前記車両位置と、前記サーバ座標系における車線位置とを参照して、前記サーバ座標系における前記センサの設置位置を算出する算出部と
を備える情報処理装置。
続きを表示(約 1,500 文字)
【請求項2】
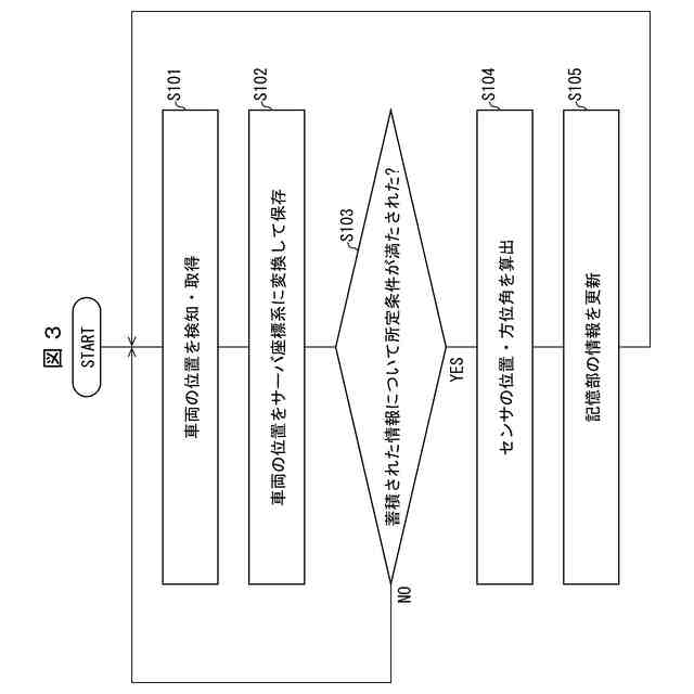
前記サーバ座標系における前記センサの設置位置を記憶する記憶部を備え、
所定条件が満たされる度に、前記記憶部が記憶する前記センサの設置位置を、前記算出部が新たに算出した前記センサの設置位置によって更新する処理を自動的に実行する
請求項1に記載の情報処理装置。
【請求項3】
前記算出部は、
前記サーバ座標系に変換された車両位置を前記サーバ座標系における何れかの車線上の位置に対応付ける処理を、当該車両位置と各車線上の位置との間のマハラノビス距離に応じて行う
請求項1又は2に記載の情報処理装置。
【請求項4】
前記取得部は、或る前記センサが検知した複数の前記車両位置を取得し、
前記算出部は、
前記サーバ座標系に変換された車両位置を前記サーバ座標系における何れかの車線上の位置に対応付ける処理を、各車両位置について行い、
各車両位置と、当該車両位置が対応付けられた車線上の位置との間の各距離に基づいて得られる値が最大又は最小となるような当該センサの設置位置を算出する
請求項1又は2に記載の情報処理装置。
【請求項5】
車線を含む現実世界をデジタルツインによって再現する処理と、
前記センサによって検知された車両であって前記車線上を走行する車両の情報を、デジタルツイン上に反映する処理とを実行する
請求項1又は2に記載の情報処理装置。
【請求項6】
1又は複数のセンサと、サーバとを備えるシステムであって、
前記センサは、所定位置に設けられ、車線上を走行する車両の車両位置を検知し、
前記サーバは、
前記センサから、当該センサが用いる座標系であるセンサ座標系によって示される車両位置を取得する取得部と、
前記車両位置を、前記センサ座標系から、前記サーバが用いる座標系であるサーバ座標系に変換する変換部と、
前記サーバ座標系に変換された前記車両位置と、前記サーバ座標系における車線位置とを参照して、前記サーバ座標系における前記センサの設置位置を算出する算出部と
を備えるシステム。
【請求項7】
前記センサは、車両の一部を、複数の前記車両位置において検知し、
前記センサの複数の検知結果に基づいて、当該車両の車幅を推定する
請求項6に記載のシステム。
【請求項8】
前記センサは、自装置の設置位置を記憶し、
前記算出部が前記サーバ座標系における前記センサの設置位置を算出したことに応答して、前記センサが記憶する自装置の設置位置を、前記算出部が算出した前記センサの設置位置によって更新する
請求項6又は7に記載のシステム。
【請求項9】
前記センサは、
2D-LiDAR、3D-LiDAR、RGBカメラ及びRGBDカメラのうち、少なくとも何れかを含んでいる
請求項6又は7に記載のシステム。
【請求項10】
装置によって実行される情報処理方法であって、
所定位置に設けられたセンサが検知した車両の車両位置であって、前記センサが用いる座標系であるセンサ座標系によって示される車両位置を取得する取得ステップと、
前記車両位置を、前記センサ座標系から、サーバが用いる座標系であるサーバ座標系に変換する変換ステップと、
前記サーバ座標系に変換された前記車両位置と、前記サーバ座標系における車線位置とを参照して、前記サーバ座標系における前記センサの設置位置を算出する算出ステップと、
を含む情報処理方法。
(【請求項11】以降は省略されています)
発明の詳細な説明
【技術分野】
【0001】
本発明は、情報処理装置、システム、情報処理方法及び制御プログラムに関する。
続きを表示(約 1,600 文字)
【背景技術】
【0002】
センサによって検知された車両の情報をデジタルツイン上に反映するシステムが従来技術として知られている。
【0003】
特許文献1では、デジタルツインの精度を落とすことなく、車両とサーバとの間の通信量の低減を実現するデジタルツインシステムが開示されている。
【先行技術文献】
【特許文献】
【0004】
特開2023-145176号公報
【発明の概要】
【発明が解決しようとする課題】
【0005】
前述したシステムにおいては、センサが用いる座標系を、デジタルツインの座標系に変換してキャリブレーションが行われる。前記キャリブレーションを高精度で行うためには、センサの設置位置を精度高く推定する必要があるが、これにはコスト及び工数が嵩むという課題がある。また、センサの設置位置が、風や熱等の影響によって経年変化するという要因もある。
【0006】
本発明の一態様は、上記の課題に鑑みてなされたものであり、デジタルツインのシステムに用いられるセンサの設置位置の推定を、比較的少ないコスト及び工数によって高精度で行うことを可能とすることを目的とする。
【課題を解決するための手段】
【0007】
上記の課題を解決するために、本発明の一態様に係る情報処理装置は、所定位置に設けられたセンサが検知した車両の車両位置であって、前記センサが用いる座標系であるセンサ座標系によって示される車両位置を取得する取得部と、前記車両位置を、前記センサ座標系から、サーバが用いる座標系であるサーバ座標系に変換する変換部と、前記サーバ座標系に変換された前記車両位置と、前記サーバ座標系における車線位置とを参照して、前記サーバ座標系における前記センサの設置位置を算出する算出部とを備える。
【0008】
本発明の他の態様に係るシステムは、1又は複数のセンサと、サーバとを備えるシステムであって、前記センサは、所定位置に設けられ、車線上を走行する車両の車両位置を検知し、前記サーバは、前記センサから、当該センサが用いる座標系であるセンサ座標系によって示される車両位置を取得する取得部と、前記車両位置を、前記センサ座標系から、前記サーバが用いる座標系であるサーバ座標系に変換する変換部と、前記サーバ座標系に変換された前記車両位置と、前記サーバ座標系における車線位置とを参照して、前記サーバ座標系における前記センサの設置位置を算出する算出部とを備える。
【0009】
本発明の他の態様に係る情報処理方法は、装置によって実行される情報処理方法であって、所定位置に設けられたセンサが検知した車両の車両位置であって、前記センサが用いる座標系であるセンサ座標系によって示される車両位置を取得する取得ステップと、前記車両位置を、前記センサ座標系から、サーバが用いる座標系であるサーバ座標系に変換する変換ステップと、前記サーバ座標系に変換された前記車両位置と、前記サーバ座標系における車線位置とを参照して、前記サーバ座標系における前記センサの設置位置を算出する算出ステップと、を含む。
【0010】
本発明の他の態様に係る情報処理装置は、所定位置に設けられたセンサが検知した物体の物体位置であって、前記センサが用いる座標系であるセンサ座標系によって示される物体位置を取得する取得部と、前記物体位置を、前記センサ座標系から、サーバが用いる座標系であるサーバ座標系に変換する変換部と、前記サーバ座標系に変換された前記物体位置と、前記サーバ座標系における経路情報とを参照して、前記サーバ座標系における前記センサの設置位置を算出する算出部とを備える。
(【0011】以降は省略されています)
この特許をJ-PlatPat(特許庁公式サイト)で参照する
関連特許
日本精機株式会社
警報システム
1か月前
個人
自動電動車椅子
15日前
スズキ株式会社
運転支援装置
1か月前
エムケー精工株式会社
車両誘導装置
1か月前
ニッタン株式会社
検知器
25日前
ニッタン株式会社
発信機
1か月前
個人
磁気路上での車両の路線離脱防御
4日前
株式会社国際電気
防災システム
1か月前
ニッタン株式会社
検知器
1日前
ニッタン株式会社
発信機
1か月前
ニッタン株式会社
検知器
23日前
ニッタン株式会社
検知器
23日前
トヨタ自動車株式会社
車両
1か月前
株式会社SUBARU
運転支援装置
2日前
大阪瓦斯株式会社
音声出力システム
今日
株式会社小糸製作所
移動体検出装置
25日前
個人
乗り物の移動を支援する方法及び装置
2か月前
日本信号株式会社
異常走行検出装置
8日前
トヨタ自動車株式会社
サーバ
8日前
株式会社CCT
通信装置及び表示方法
1日前
三菱自動車工業株式会社
制御システム
今日
日本精機株式会社
報知装置及び報知システム
14日前
株式会社小糸製作所
車両検出システム
25日前
個人
現示内容に関する情報放送機能付き信号機
2か月前
能美防災株式会社
火災感知器
28日前
本田技研工業株式会社
物体検出装置
1か月前
本田技研工業株式会社
運転評価装置
2か月前
本田技研工業株式会社
情報提供装置
1か月前
能美防災株式会社
非常伝達装置
1か月前
本田技研工業株式会社
情報提供装置
1か月前
ヨシモトポール株式会社
接近報知システム
28日前
株式会社豊田中央研究所
注意喚起装置
16日前
シャープ株式会社
駐車制御装置
7日前
本田技研工業株式会社
保険料算出装置
2か月前
ALSOK株式会社
警備システム及び警備方法
15日前
古野電気株式会社
航路計画システム及び航路計画方法
1か月前
続きを見る
他の特許を見る