TOP
|
特許
|
意匠
|
商標
特許ウォッチ
Twitter
他の特許を見る
公開番号
2025128468
公報種別
公開特許公報(A)
公開日
2025-09-03
出願番号
2024025111
出願日
2024-02-22
発明の名称
太陽電池モジュール上作業台
出願人
ネグロス電工株式会社
,
光洋機械産業株式会社
代理人
個人
,
個人
主分類
E04D
15/00 20060101AFI20250827BHJP(建築物)
要約
【課題】一つの作業台で都度の角度調整をすることなく太陽電池モジュールの傾斜付架台の角度に対応することができる安全で作業性の良好な太陽電池モジュール上作業台を提供する。
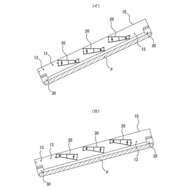
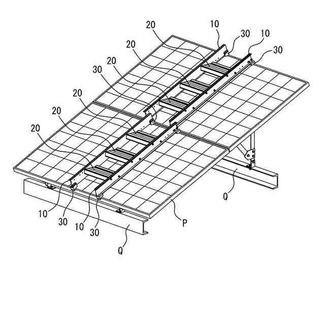
【解決手段】傾斜付架台Qに設置された太陽電池モジュールPの上に設置する作業台を構成する。左右の支持材10と、支持材10間に固定した複数の踏桟20と、で梯子状に構成する。踏桟20は、板面が支持材10の長手方向に対して前後に傾斜する板状を成す。踏桟20の板面の表裏を踏付け面として支持材10ごと反転自在に構成する。踏桟20の表裏面で傾斜角度が変わるように構成する。支持材10は、勾配に沿って設置する載置面側に弾性保護具30を着脱自在に装着する。
【選択図】 図1
特許請求の範囲
【請求項1】
傾斜がついた太陽電池モジュールの上に設置される作業台であって、太陽電池モジュールの勾配に沿って設置する左右の支持材と、支持材間に固定した複数の踏桟とで梯子状を成し、
踏桟は、水平な支持材に対して板面が上下に傾斜する板状を成し、踏桟の表裏面を踏付け面として支持材ごと反転自在に構成すると共に、使用する表裏面で踏桟の傾斜角度が変わるように構成し、
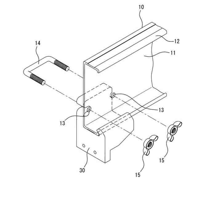
支持材は、太陽電池モジュールに載置する載置面側に弾性保護具を着脱自在に装着することを特徴とする太陽電池モジュール上作業台。
続きを表示(約 1,100 文字)
【請求項2】
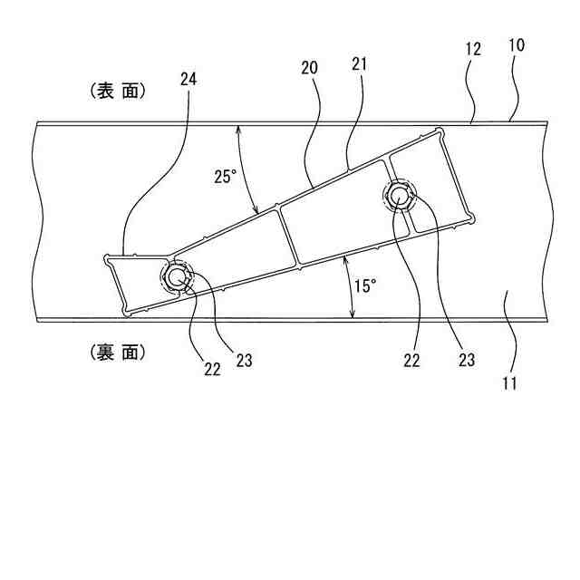
前記踏桟は側面台形状を成し、前記傾斜付架台の傾斜角が10~30゜の角度に対して表裏面の傾斜角度を夫々設定した請求項1記載の太陽電池モジュール上作業台。
【請求項3】
前記支持材は、長手側面に沿って複数の連結孔を備え、前記太陽電池モジュールのサイズに対応する連結孔に前記弾性保護具を連結する請求項1記載の太陽電池モジュール上作業台。
【請求項4】
前記弾性保護具は、弾性材の内部に芯金具を組み込んで成形され、前記太陽電池モジュールの上下端部に係止する形状を成す請求項1記載の太陽電池モジュール上作業台。
【請求項5】
左右一対の長尺部材である支持材と、該支持材間に固定した複数の踏桟とで梯子状を成した作業台を構成し、該踏桟は、水平な前記支持材に対して板面が上下に傾斜する板状を成し、前記踏桟の表裏面を踏付け面として前記支持材ごと反転自在に構成すると共に、使用する表裏面で前記踏付け面の傾斜角度が変わるように構成したことを特徴とする梯子状作業台。
【請求項6】
前記踏桟は、前記踏付け面を形成する表面および裏面がある板状部材であり、該板状部材の長手方向に垂直な断面は台形をしており、該台形は、前記表面および前記裏面に対応し、該台形の脚となる一対の対辺が該台形の上底または下底と各々異なる角度を形成することで、使用する表裏面で前記踏付け面の傾斜角度が変わるように構成した請求項5記載の梯子状作業台。
【請求項7】
前記踏桟は、前記台形の脚となる一対の対辺の内の少なくとも一方の辺が、対峙するもう一方の辺の方向に凹んだ逆への字型の形状をしている請求項6記載の梯子状作業台。
【請求項8】
前記踏桟は、前記表面および前記裏面の少なくとも一方に、前記踏付け面の前方の長手方向にわたって、使用者の足が前方に踏み込み過ぎることを防止する踏み込み制御機構が備えられた請求項6記載の梯子状作業台。
【請求項9】
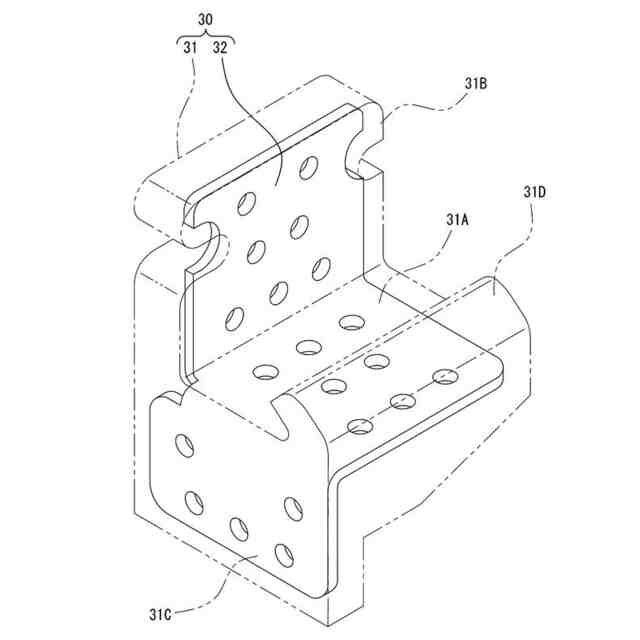
太陽電池モジュール上に作業台を固定するための固定具であって、作業台と太陽電池モジュールとの間に配置され、
弾性材と芯金具とを備え、
前記弾性材は、
作業台を載置する本体と、
該本体から上方に延設され、ボルト等により作業台に連結可能な連結片と、
前記本体から下方に延設され、太陽電池モジュールの端部に係止される係止片と、
を備え、
前記本体、前記連結片、及び前記係止片の内部にまたがって一体形成された前記芯金具が組み込まれたことを特徴とする固定具。
【請求項10】
前記連結片および前記係止片は互いに直角をなすように配置されている請求項9記載の固定具。
(【請求項11】以降は省略されています)
発明の詳細な説明
【技術分野】
【0001】
本発明は、傾斜付きの太陽電池モジュールの上で安全に作業することができる太陽電池モジュール上作業台に関するものである。
続きを表示(約 1,200 文字)
【背景技術】
【0002】
傾斜付きの太陽電池モジュールをメンテナンスする際に、現状はグリップの効く靴でフレームを踏みながら作業を行っており、作業者の落下やパネル破損等の危険がある。このような太陽電池モジュールの上に設置する足場が特許文献1乃至3に記載されている。
【0003】
特許文献1に記載の屋根用足場は、屋根用足場の設置作業性を良好にするために、パネル引っ掛け部40を足場本体20に設けたものである。そして、このパネル引っ掛け部40が足場本体20から突出する位置と突出しない位置とを現場に応じて切り替えるように構成している。
【0004】
特許文献2に記載の屋根用足場は、太陽電池モジュールの上に設置された屋根用足場が風力によって飛散しないようにしている。すなわち、把持部51と板状頭部52によって軒側太陽エネルギー収集パネル200Lの棟側端部及び棟側太陽エネルギー収集パネル200Uの軒側端部を上下から挟み付けるように構成したものである。
【0005】
特許文献3に記載の足場架台は、足場架台の位置変更を容易にするために、第1のガイドローラー8と第2のガイドローラー9とを備えたものである。
【先行技術文献】
【特許文献】
【0006】
特許第6514517号公報
特許第6343414号公報
特開2020-23848号公報
【発明の概要】
【発明が解決しようとする課題】
【0007】
これら従来の作業台は、いずれも太陽電池モジュールをメンテナンスする作業台であっても、太陽電池モジュールの異なる傾斜角度について考慮されたものではなかった。すなわち、太陽電池モジュールを設置する傾斜付架台は、設置条件に応じて角度が変わる。この角度や設置条件次第では太陽電池モジュールが2m以上の高所になる場合もあり、作業者の落下やパネル破損等の危険がある。
【0008】
このような場合、角度調整可能な汎用の作業台を使用することもあるが、角度調整可能な作業台は部品点数が多く嵩張る構造である。そのため運搬に不便な上に、使用する際に角度を調節する手間がかかる不都合もあった。
【0009】
しかも、太陽電池モジュールの角度は、現場によって異なることから、角度に応じた複数の作業台を用意した場合、メンテナンス作業に多くの手間を要することになる。
【0010】
そこで本発明は上述の課題を解消すべく創出されたもので、一つの作業台で太陽電池モジュールの傾斜付架台の角度に対応することができる安全で作業性の良好な太陽電池モジュール上作業台の提供を目的とするものである。
【課題を解決するための手段】
(【0011】以降は省略されています)
この特許をJ-PlatPat(特許庁公式サイト)で参照する
関連特許
ネグロス電工株式会社
太陽電池モジュール上作業台
29日前
ネグロス電工株式会社
ケーブルラック用ベンドラック
1か月前
個人
屋台
13日前
個人
野良猫ハウス
29日前
個人
フェンス
1か月前
個人
転落防止用手摺
23日前
個人
キャチクランプ
4か月前
個人
居住車両用駐車場
1か月前
個人
地下型マンション
3か月前
積水樹脂株式会社
柵体
22日前
個人
筋交自動設定装置
3日前
個人
水害と共にある家
4か月前
ニチハ株式会社
建築板
1か月前
個人
壁断熱パネル
3か月前
個人
津波と共にある漁港
4か月前
個人
熱抵抗多層断熱建材
1か月前
株式会社タナクロ
テント
3か月前
個人
鋼管結合資材
3か月前
個人
柵
1か月前
個人
パーティション
4か月前
積水樹脂株式会社
フェンス
5か月前
個人
補強部材
1か月前
個人
地滑りと共にある山荘
4か月前
個人
身体用シェルター
3日前
個人
身体用シェルター
3日前
個人
循環流水式屋根融雪装置
3か月前
成友建設株式会社
建物
29日前
鹿島建設株式会社
壁体
1か月前
三協立山株式会社
構造体
3か月前
個人
可搬型供養墓
1日前
株式会社熊谷組
木質材料
13日前
三協立山株式会社
構造体
3日前
イワブチ株式会社
組立柱
22日前
株式会社オカムラ
ブース
5か月前
インターマン株式会社
天井構造
1か月前
株式会社オカムラ
ブース
5か月前
続きを見る
他の特許を見る