TOP
|
特許
|
意匠
|
商標
特許ウォッチ
Twitter
他の特許を見る
10個以上の画像は省略されています。
公開番号
2025130307
公報種別
公開特許公報(A)
公開日
2025-09-08
出願番号
2024027408
出願日
2024-02-27
発明の名称
情報処理装置、情報処理方法、プログラム、および情報処理システム
出願人
沖電気工業株式会社
代理人
個人
,
個人
,
個人
主分類
G06Q
40/02 20230101AFI20250901BHJP(計算;計数)
要約
【課題】振込依頼における利用者の負担を軽減すること。
【解決手段】自動取引装置から、振込情報と、限度額超過のため振込不可と判定された旨の情報を取得する取得部と、前記振込情報に基づいて振込依頼書を生成する処理部と、前記振込依頼書の印字出力を制御する出力制御部と、を備える、情報処理装置。
【選択図】図1
特許請求の範囲
【請求項1】
自動取引装置から、振込情報と、限度額超過のため振込不可と判定された旨の情報を取得する取得部と、
前記振込情報に基づいて振込依頼書を生成する処理部と、
前記振込依頼書の印字出力を制御する出力制御部と、
を備える、情報処理装置。
続きを表示(約 1,400 文字)
【請求項2】
前記処理部は、前記振込情報に振込番号を付与し、当該振込番号と対応つけて前記振込情報を記憶部に記憶する処理を行い、
前記出力制御部は、前記自動取引装置が設置されている店舗の窓口内に設置される印字装置から、前記振込番号を含む前記振込依頼書を印字出力させる、
請求項1に記載の情報処理装置。
【請求項3】
前記取得部は、窓口端末から送信される前記振込番号を取得し、
前記処理部は、前記振込番号に基づいて前記記憶部から前記振込情報を抽出し、
前記出力制御部は、抽出された前記振込情報を、前記窓口端末に送信する制御を行う、
請求項2に記載の情報処理装置。
【請求項4】
前記出力制御部は、前記自動取引装置が設置されているエリアに設置される印字装置から、前記振込依頼書を印字出力させる、請求項1に記載の情報処理装置。
【請求項5】
前記処理部は、前記振込情報に振込番号を付与し、
前記出力制御部は、
前記振込番号と前記振込情報を、上位サーバに送信する制御と、
前記自動取引装置が設置されているエリアに設置される印字装置から、前記振込番号を含む前記振込依頼書を印字出力させる制御と、
を行う、請求項1に記載の情報処理装置。
【請求項6】
前記取得部は、窓口端末から送信される前記振込番号を取得し、
前記処理部は、前記振込番号を前記上位サーバに送信し、対応する前記振込情報を前記上位サーバから取得する処理を行い、
前記出力制御部は、取得された前記振込情報を、前記窓口端末に送信する制御を行う、
請求項5に記載の情報処理装置。
【請求項7】
プロセッサが、
自動取引装置から、振込情報と、限度額超過のため振込不可と判定された旨の情報を取得することと、
前記振込情報に基づいて振込依頼書を生成することと、
前記振込依頼書の印字出力を制御することと、
を含む、情報処理方法。
【請求項8】
コンピュータを、
自動取引装置から、振込情報と、限度額超過のため振込不可と判定された旨の情報を取得する取得部と、
前記振込情報に基づいて振込依頼書を生成する処理部と、
前記振込依頼書の印字出力を制御する出力制御部と、
として機能させる、プログラム。
【請求項9】
情報処理装置と、印字装置と、を含み、
前記情報処理装置は、
自動取引装置から、振込情報と、限度額超過のため振込不可と判定された旨の情報を取得する取得部と、
前記振込情報に基づいて振込依頼書を生成する処理部と、
前記印字装置における前記振込依頼書の印字出力を制御する出力制御部と、
を有する、
システム。
【請求項10】
前記システムは、自動取引装置をさらに含み、
前記自動取引装置は、
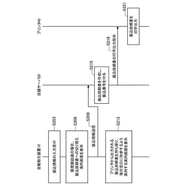
振込情報の入力を受け付け、入力された振込金額と限度額を比較して振込可否を判定し、
前記振込金額が前記限度額を超える場合、前記情報処理装置に、前記振込情報と、限度額超過のため振込不可と判定された旨の情報を送信する、
請求項9に記載のシステム。
(【請求項11】以降は省略されています)
発明の詳細な説明
【技術分野】
【0001】
本発明は、情報処理装置、情報処理方法、プログラム、および情報処理システムに関する。
続きを表示(約 1,400 文字)
【背景技術】
【0002】
金融機関の店舗では、店員による接客が行われる窓口での取引の他、現金の入金および出金を取り扱う現金処理装置で取引を行い得る。現金処理装置は、ATM(Automated Teller Machine)であってもよい。
【0003】
下記特許文献1では、コンビニエンスストア等の振込中継実施店舗に設置されたATMにおいて、振込金の返却する技術、および誤った振込先情報を訂正した再振込依頼書を発行する技術が開示されている。これにより、振込先情報に誤りがあった場合の顧客の手続が簡素化される。
【先行技術文献】
【特許文献】
【0004】
特開2009-238161号公報
【発明の概要】
【発明が解決しようとする課題】
【0005】
特許文献1では、コンビニエンスストア等の振込中継実施店舗に設置されたATMを利用した振込先の銀行への振込み手続きについて開示されており、より具体的には、振込情報の入力と本人確認情報の入力をATMで行い、発行された振込依頼書(振込情報等をコード化したバーコードが印字されている。)を店員に渡し、店員が振込依頼書をPOS(Point Of Sales)端末で読取る。
【0006】
一方、店員への振込依頼書の受け渡しを要さず、装置での操作のみで振込依頼を完了させ得るATMもある。ここで、ATM等の自動取引装置で行われる振込取引には、振込限度額が設定されている場合がある。振込金額が振込限度額を超えている場合、自動取引装置では振込が行えない。この場合、利用者は、振込先情報(振込先金融機関、振込先口座、振込先名義人等)および振込金額を一度入力したにも関わらず、新たに振込依頼書への記入を行って金融機関の窓口に提出しなければならず、自動取引装置での振込情報の入力操作が無駄となっていた。
【0007】
そこで、本発明は、上記問題に鑑みてなされたものであり、本発明の目的とするところは、振込依頼における利用者の負担を軽減することが可能な、新規かつ改良された情報処理装置、情報処理方法、プログラム、および情報処理システムを提供することにある。
【0008】
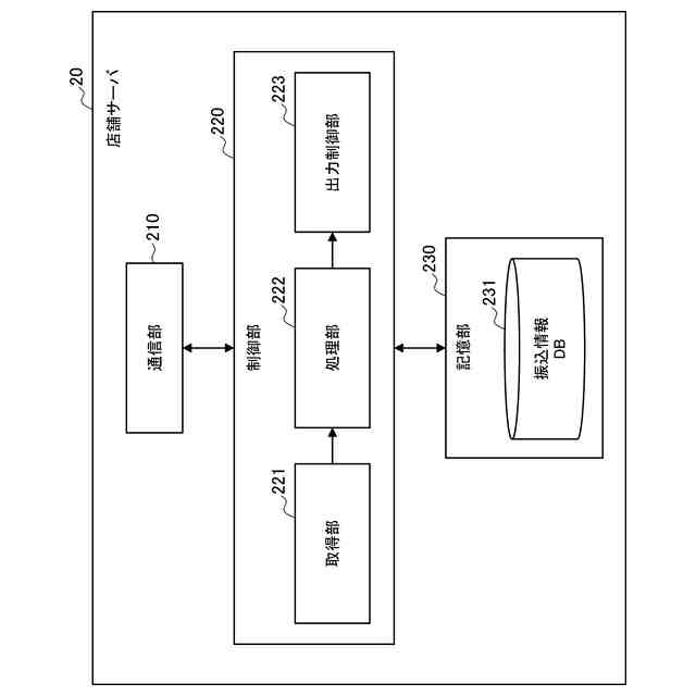
上記課題を解決するために、本発明のある観点によれば、自動取引装置から、振込情報と、限度額超過のため振込不可と判定された旨の情報を取得する取得部と、前記振込情報に基づいて振込依頼書を生成する処理部と、前記振込依頼書の印字出力を制御する出力制御部と、を備える、情報処理装置が提供される。
【0009】
前記処理部は、前記振込情報に振込番号を付与し、当該振込番号と対応つけて前記振込情報を記憶部に記憶する処理を行い、前記出力制御部は、前記自動取引装置が設置されている店舗の窓口内に設置される印字装置から、前記振込番号を含む前記振込依頼書を印字出力させてもよい。
【0010】
前記取得部は、窓口端末から送信される前記振込番号を取得し、前記処理部は、前記振込番号に基づいて前記記憶部から前記振込情報を抽出し、前記出力制御部は、抽出された前記振込情報を、前記窓口端末に送信する制御を行ってもよい。
(【0011】以降は省略されています)
この特許をJ-PlatPat(特許庁公式サイト)で参照する
関連特許
沖電気工業株式会社
筐体
24日前
沖電気工業株式会社
アンテナ
1か月前
沖電気工業株式会社
線材保持具
1か月前
沖電気工業株式会社
レーダ装置
24日前
沖電気工業株式会社
光導波路素子
29日前
沖電気工業株式会社
媒体処理装置
29日前
沖電気工業株式会社
貨幣取扱装置
1か月前
沖電気工業株式会社
媒体処理装置
27日前
沖電気工業株式会社
光導波路素子
29日前
沖電気工業株式会社
画像形成装置
1か月前
沖電気工業株式会社
媒体処理装置
1か月前
沖電気工業株式会社
媒体処理装置
29日前
沖電気工業株式会社
光導波路素子
29日前
沖電気工業株式会社
画像形成装置
1か月前
沖電気工業株式会社
媒体搬送装置
24日前
沖電気工業株式会社
画像形成装置
3日前
沖電気工業株式会社
画像形成装置
3日前
沖電気工業株式会社
紙幣処理装置
1か月前
沖電気工業株式会社
媒体処理装置
29日前
沖電気工業株式会社
画像撮影システム
1か月前
沖電気工業株式会社
定着装置及び画像形成装置
27日前
沖電気工業株式会社
電源装置及び画像形成装置
23日前
沖電気工業株式会社
定着装置及び画像形成装置
1か月前
沖電気工業株式会社
現金処理装置及び印字装置
13日前
沖電気工業株式会社
画像形成装置及び画像処理方法
29日前
沖電気工業株式会社
媒体識別装置及び媒体処理装置
1か月前
沖電気工業株式会社
処理装置、プログラム及び方法
1か月前
沖電気工業株式会社
レーザー振動計及び振動測定方法
29日前
沖電気工業株式会社
紙葉類取扱装置及び現金処理装置
7日前
沖電気工業株式会社
装置、設置方法、およびプログラム
24日前
沖電気工業株式会社
部品管理装置、プログラムおよび方法
3日前
沖電気工業株式会社
情報処理装置、プログラムおよび方法
1か月前
沖電気工業株式会社
通信装置、通信方法およびプログラム
1か月前
沖電気工業株式会社
転写ベルトユニット及び画像形成装置
1か月前
沖電気工業株式会社
反り防止治具および半田リフロー装置
24日前
沖電気工業株式会社
直流電源装置および二次電池充電方法
3日前
続きを見る
他の特許を見る