TOP
|
特許
|
意匠
|
商標
特許ウォッチ
Twitter
他の特許を見る
公開番号
2025130798
公報種別
公開特許公報(A)
公開日
2025-09-09
出願番号
2024028087
出願日
2024-02-28
発明の名称
情報処理装置、情報処理方法およびプログラム
出願人
沖電気工業株式会社
代理人
個人
,
個人
,
個人
主分類
G08G
1/00 20060101AFI20250902BHJP(信号)
要約
【課題】対象に異常が生じているか否かをより精度良く判定することを可能にするための技術が提供されることが望まれる。
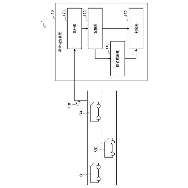
【解決手段】所定の条件を満たすセンサデータが検出された時刻と地点とを各々が含んだ複数の第1の履歴に基づいて、時空間範囲ごとの前記第1の履歴の数を集計する集計部と、所定の時空間範囲に対応する複数の時空間範囲の前記第1の履歴の数である度数分布に対して統計処理を施すことに基づいて、前記所定の時空間範囲において異常が生じているかを判定するための閾値を算出する閾値算出部と、を備える、情報処理装置が提供される。
【選択図】図1
特許請求の範囲
【請求項1】
所定の条件を満たすセンサデータが検出された時刻と地点とを各々が含んだ複数の第1の履歴に基づいて、時空間範囲ごとの前記第1の履歴の数を集計する集計部と、
所定の時空間範囲に対応する複数の時空間範囲の前記第1の履歴の数である度数分布に対して統計処理を施すことに基づいて、前記所定の時空間範囲において異常が生じているかを判定するための閾値を算出する閾値算出部と、
を備える、情報処理装置。
続きを表示(約 920 文字)
【請求項2】
前記閾値算出部は、前記度数分布を統計分布に近似し、前記統計分布に基づいて、前記閾値を算出する、
請求項1に記載の情報処理装置。
【請求項3】
前記閾値算出部は、前記度数分布の平均値を算出し、前記平均値を期待値とする前記統計分布に前記度数分布を近似する、
請求項2に記載の情報処理装置。
【請求項4】
前記閾値算出部は、前記統計分布の標準偏差に基づいて前記閾値を算出する、
請求項2に記載の情報処理装置。
【請求項5】
前記閾値算出部は、前記統計分布の標準偏差に所定の係数を乗じることに基づいて前記閾値を算出する、
請求項4に記載の情報処理装置。
【請求項6】
前記集計部は、ユーザからの変更操作に基づいて、前記時空間範囲の時間幅または空間幅を変更する、
請求項1に記載の情報処理装置。
【請求項7】
前記集計部は、前記第1の履歴の数を前記時空間範囲ごとに計数することに基づいて、前記時空間範囲ごとの前記第1の履歴の数を集計する、
請求項1に記載の情報処理装置。
【請求項8】
前記集計部は、前記センサデータに応じた重み値を前記時空間範囲ごとに足し合わせることに基づいて、前記時空間範囲ごとの前記第1の履歴の数を集計する、
請求項1に記載の情報処理装置。
【請求項9】
前記集計部は、前記所定の条件を満たすセンサデータが検出された時刻と地点とを各々が含んだ複数の第2の履歴に基づいて、前記所定の時空間範囲の前記第2の履歴の数を集計し、
前記情報処理装置は、
前記第2の履歴の数と前記閾値とに基づいて、前記所定の時空間範囲において異常が生じているか否かを判定する判定部を備える、
請求項1に記載の情報処理装置。
【請求項10】
前記判定部は、前記異常が生じているという異常判定を行ったことに基づいて、前記所定の係数を変更する、
請求項9に記載の情報処理装置。
(【請求項11】以降は省略されています)
発明の詳細な説明
【技術分野】
【0001】
本発明は、情報処理装置、情報処理方法およびプログラムに関する。
続きを表示(約 1,200 文字)
【背景技術】
【0002】
近年、センサによって収集されたセンサデータに基づいて対象に異常が生じたか否かを判定する技術が知られている。
【0003】
例えば、特許文献1には、対象に備えられる1または複数のセンサと、対象に備えられる1または複数のセンサそれぞれが検出したセンサデータが異常であるか否かを判定する第1処理部と、第1処理部によって異常であると判定されたセンサデータがある場合に、複数の対象それぞれに備えられるセンサによって過去に検出されたセンサデータに基づいて、異常を発報するか否かを判定する第2処理部とを備える、システムが開示されている。
【0004】
かかるシステムにおいて、第2処理部は、複数の対象それぞれに備えられるセンサによって過去に検出されたセンサデータと、対象に関する異常との関係をあらかじめ学習している。そして、第2処理部は、学習結果を使用して、第1処理部が異常であると判定したセンサデータを検出したセンサを備える対象に関して、異常を発報するか否かを判定する。
【先行技術文献】
【特許文献】
【0005】
特開2023-3226号公報
【発明の概要】
【発明が解決しようとする課題】
【0006】
しかしながら、特許文献1に記載された技術において、異常が生じているか否かが判定される対象は、一つの対象に備えられるセンサから得られたセンサデータである。すなわち、特許文献1に記載された技術では、単一の時刻および単一の地点の状況と、学習結果とに基づいて、異常が生じているか否かが判定される。このように、他の時刻および他の地点の状況が考慮されずに、異常が生じているか否かが判定される場合には、判定精度が向上しない。
【0007】
そこで、対象に異常が生じているか否かをより精度良く判定することを可能にするための技術が提供されることが望まれる。
【課題を解決するための手段】
【0008】
上記課題を解決するために、本発明のある観点によれば、所定の条件を満たすセンサデータが検出された時刻と地点とを各々が含んだ複数の第1の履歴に基づいて、時空間範囲ごとの前記第1の履歴の数を集計する集計部と、所定の時空間範囲に対応する複数の時空間範囲の前記第1の履歴の数である度数分布に対して統計処理を施すことに基づいて、前記所定の時空間範囲において異常が生じているかを判定するための閾値を算出する閾値算出部と、を備える、情報処理装置が提供される。
【0009】
前記閾値算出部は、前記度数分布を統計分布に近似し、前記統計分布に基づいて、前記閾値を算出してもよい。
【0010】
前記閾値算出部は、前記度数分布の平均値を算出し、前記平均値を期待値とする前記統計分布に前記度数分布を近似してもよい。
(【0011】以降は省略されています)
この特許をJ-PlatPat(特許庁公式サイト)で参照する
関連特許
沖電気工業株式会社
画像形成装置
2日前
沖電気工業株式会社
画像形成装置
2日前
沖電気工業株式会社
紙葉類取扱装置及び現金処理装置
6日前
沖電気工業株式会社
部品管理装置、プログラムおよび方法
2日前
沖電気工業株式会社
直流電源装置および二次電池充電方法
2日前
沖電気工業株式会社
ナビゲーションシステム
1日前
日本精機株式会社
警報システム
1か月前
個人
自動電動車椅子
13日前
エムケー精工株式会社
車両誘導装置
1か月前
スズキ株式会社
運転支援装置
29日前
ニッタン株式会社
発信機
1か月前
個人
磁気路上での車両の路線離脱防御
2日前
株式会社国際電気
防災システム
1か月前
ニッタン株式会社
検知器
23日前
ニッタン株式会社
検知器
21日前
ニッタン株式会社
検知器
21日前
ニッタン株式会社
発信機
1か月前
トヨタ自動車株式会社
車両
1か月前
株式会社小糸製作所
移動体検出装置
23日前
日本信号株式会社
異常走行検出装置
6日前
トヨタ自動車株式会社
サーバ
6日前
個人
乗り物の移動を支援する方法及び装置
2か月前
日本信号株式会社
情報提供システム
2か月前
株式会社SUBARU
運転支援装置
今日
株式会社小糸製作所
車両検出システム
23日前
日本精機株式会社
報知装置及び報知システム
12日前
トヨタ自動車株式会社
回避動作判別装置
2か月前
日本信号株式会社
交通信号制御システム
2か月前
能美防災株式会社
火災感知器
26日前
個人
現示内容に関する情報放送機能付き信号機
2か月前
ヨシモトポール株式会社
接近報知システム
26日前
本田技研工業株式会社
情報提供装置
1か月前
本田技研工業株式会社
物体検出装置
1か月前
本田技研工業株式会社
情報提供装置
1か月前
能美防災株式会社
非常伝達装置
29日前
本田技研工業株式会社
運転評価装置
2か月前
続きを見る
他の特許を見る