TOP
|
特許
|
意匠
|
商標
特許ウォッチ
Twitter
他の特許を見る
公開番号
2025132713
公報種別
公開特許公報(A)
公開日
2025-09-10
出願番号
2024030463
出願日
2024-02-29
発明の名称
ニッケル水素電池及びニッケル水素電池の製造方法
出願人
FDK株式会社
代理人
弁理士法人扶桑国際特許事務所
主分類
H01M
10/30 20060101AFI20250903BHJP(基本的電気素子)
要約
【課題】電池内圧の上昇が抑えられるニッケル水素電池を実現する。
【解決手段】ニッケル水素電池は、ニッケルを含む正極と水素吸蔵合金を含む負極22とがセパレータを介して負極22が最外周となるように巻回された電池要素が、円筒状の外装缶に収容される。負極22は、芯体200の第1面200a側の第1層210と、第2面200b側の第2層220とを含み、電池要素の最外周となる第1部分230において、第1層210が外装缶と対向し、第2層220がセパレータを介して正極と対向する。第1部分230に含まれる水素吸蔵合金の第1平均粒径は、それ以外の第2部分240に含まれる水素吸蔵合金の第2平均粒径よりも10μm以上小さく、第1部分230の第1層210の厚みは、第1部分230の第2層220の厚みよりも小さく、且つ、第1平均粒径の1倍以上3倍以下の範囲とされる。
【選択図】図2
特許請求の範囲
【請求項1】
円筒状の外装缶と、
前記外装缶に収容され、ニッケルを含む正極と水素吸蔵合金を含む負極とがセパレータを介して前記負極が最外周となるように巻回された電池要素と、
を含み、
前記負極は、第1面と前記第1面とは反対側の第2面とを有する芯体と、前記第1面側に設けられた第1層と、前記第2面側に設けられた第2層とを含み、前記最外周となる第1部分において、前記第1層が前記外装缶と対向し、前記第2層が前記セパレータを介して前記正極と対向し、
前記負極の前記第1部分に含まれる前記水素吸蔵合金の第1平均粒径は、前記負極の前記第1部分以外の第2部分に含まれる前記水素吸蔵合金の第2平均粒径よりも10μm以上小さく、
前記第1部分における前記第1層の厚みは、前記第1部分における前記第2層の厚みよりも小さく、且つ、前記第1平均粒径の1倍以上3倍以下の範囲である、ニッケル水素電池。
続きを表示(約 1,100 文字)
【請求項2】
前記第1部分における前記第1層の厚みは、前記第2部分における前記第1層の厚みよりも小さい、請求項1に記載のニッケル水素電池。
【請求項3】
ニッケルを含む正極を準備する工程と、
水素吸蔵合金を含む負極を準備する工程と、
セパレータを準備する工程と、
前記正極と前記負極とが前記セパレータを介して前記負極が最外周となるように巻回された電池要素を形成する工程と、
前記電池要素を円筒状の外装缶に収容する工程と、
を含み、
前記負極を準備する工程は、
芯体を準備する工程と、
第1平均粒径の前記水素吸蔵合金を含有する第1ペーストが貯留された第1区画と、前記第1平均粒径よりも大きい第2平均粒径の前記水素吸蔵合金を含有する第2ペーストが貯留された第2区画とを有するホッパーを準備する工程と、
前記芯体を前記ホッパーに対し、前記芯体の前記最外周となる第1部分が前記第1区画を通り、且つ、前記芯体の前記第1部分以外の第2部分が前記第2区画を通るように通過させ、前記第1部分への前記第1ペーストの塗工と、前記第2部分への前記第2ペーストの塗工とを同時に行う工程と、
を含む、ニッケル水素電池の製造方法。
【請求項4】
前記芯体は、第1面と前記第1面とは反対側の第2面とを有し、
前記負極は、前記第1面側に設けられた第1層と、前記第2面側に設けられた第2層とを含み、前記最外周となる前記第1部分において、前記第1層が前記外装缶と対向し、前記第2層が前記セパレータを介して前記正極と対向し、
前記負極を準備する工程は、
前記第1平均粒径が前記第2平均粒径よりも10μm以上小さい前記第1ペースト及び前記第2ペーストの塗工を同時に行う工程と、
前記第1ペースト及び前記第2ペーストの塗工後の前記芯体をスリット刃に対して通過させることによって、前記第1部分における前記第1層の厚みを、前記第1部分における前記第2層の厚みよりも小さくし、且つ、前記第1平均粒径の1倍以上3倍以下の範囲とする工程と、
を含む、請求項3に記載のニッケル水素電池の製造方法。
【請求項5】
前記負極を準備する工程は、
前記第1ペースト及び前記第2ペーストの塗工後の前記芯体を前記スリット刃に対して通過させることによって、前記第1部分における前記第1層の厚みを、前記第2部分における前記第1層の厚みよりも小さくする工程を含む、請求項4に記載のニッケル水素電池の製造方法。
発明の詳細な説明
【技術分野】
【0001】
本発明は、ニッケル水素電池及びニッケル水素電池の製造方法に関する。
続きを表示(約 1,500 文字)
【背景技術】
【0002】
電池の1種として、正極にニッケルを用い、負極に水素吸蔵合金を用いたニッケル水素電池(「ニッケル水素二次電池」等とも称される)が知られている。例えば、正極と負極とをセパレータを介して負極が最外周となるように巻回した電池要素を円筒状の外装缶内に収容したものや、内面側でのみ正極と対向する負極の最外周部分にそれ以外の部分よりも平均粒径の大きい水素吸蔵合金を用いたものが知られている(特許文献1)。
【先行技術文献】
【特許文献】
【0003】
特開2012-256522号公報
【発明の概要】
【発明が解決しようとする課題】
【0004】
ニッケル水素電池では、過充電時に正極で発生する酸素ガスに起因して電池内圧が上昇し得る。このような電池内圧の上昇を抑えるための一手法として、正極と負極とがセパレータを介して負極が最外周となるように巻回された電池要素のうち、内面側で酸素ガスが発生する正極と対向する負極の最外周部分における、正極と対向する内面側を厚くし、正極と対向しない外面側を薄くすることが考えられている。しかし、これまでの技術では、負極の最外周部分に部分的にそのような領域を形成し、電池内圧の上昇を十分に抑えることが難しい場合があった。
【0005】
1つの側面では、本発明は、電池内圧の上昇が抑えられるニッケル水素電池を実現することを目的とする。
【課題を解決するための手段】
【0006】
1つの態様では、円筒状の外装缶と、前記外装缶に収容され、ニッケルを含む正極と水素吸蔵合金を含む負極とがセパレータを介して前記負極が最外周となるように巻回された電池要素と、を含み、前記負極は、第1面と前記第1面とは反対側の第2面とを有する芯体と、前記第1面側に設けられた第1層と、前記第2面側に設けられた第2層とを含み、前記最外周となる第1部分において、前記第1層が前記外装缶と対向し、前記第2層が前記セパレータを介して前記正極と対向し、前記負極の前記第1部分に含まれる前記水素吸蔵合金の第1平均粒径は、前記負極の前記第1部分以外の第2部分に含まれる前記水素吸蔵合金の第2平均粒径よりも10μm以上小さく、前記第1部分における前記第1層の厚みは、前記第1部分における前記第2層の厚みよりも小さく、且つ、前記第1平均粒径の1倍以上3倍以下の範囲である、ニッケル水素電池が提供される。
【0007】
また、別の態様では、上記のようなニッケル水素電池の製造方法が提供される。
【発明の効果】
【0008】
1つの側面では、電池内圧の上昇が抑えられるニッケル水素電池を実現することが可能になる。
【図面の簡単な説明】
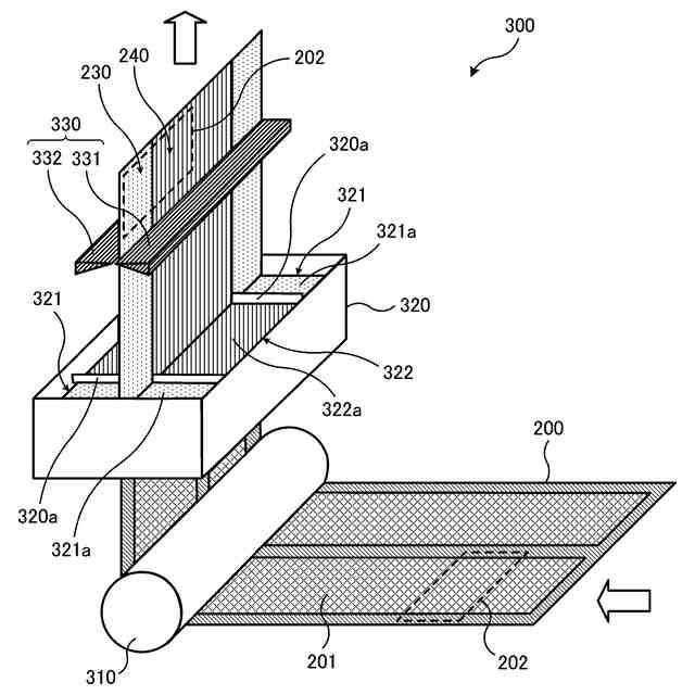
【0009】
ニッケル水素電池の一例について説明する図である。
ニッケル水素電池の電池要素に用いられる負極の一例について説明する図である。
負極の形成に用いる方法及び装置の一例について説明する図(その1)である。
負極の形成に用いる方法及び装置の一例について説明する図(その2)である。
【発明を実施するための形態】
【0010】
図1はニッケル水素電池の一例について説明する図である。図1(A)には、ニッケル水素電池の一例の要部断面図を模式的に示している。図1(B)には、ニッケル水素電池を図1(A)のI-I線の位置で切断した時の断面図の一例を模式的に示している。
(【0011】以降は省略されています)
この特許をJ-PlatPat(特許庁公式サイト)で参照する
関連特許
FDK株式会社
駆動装置
12日前
FDK株式会社
捲回型電池
1か月前
FDK株式会社
アルカリ電池
今日
FDK株式会社
アルカリ電池
2日前
FDK株式会社
リチウム電池
1か月前
FDK株式会社
リチウムイオン電池
21日前
FDK株式会社
リチウムイオン電池
29日前
FDK株式会社
リチウムイオン電池
29日前
FDK株式会社
挿入実装部品用台座
1か月前
FDK株式会社
固体電解質及び固体電池
28日前
FDK株式会社
全固体電池及びその製造方法
12日前
FDK株式会社
電極、電池及び電極の製造方法
12日前
FDK株式会社
ニッケル水素電池及びニッケル水素電池の製造方法
21日前
個人
安全なNAS電池
26日前
東レ株式会社
多孔質炭素シート
21日前
個人
フリー型プラグ安全カバー
1か月前
日本発條株式会社
積層体
2日前
ローム株式会社
半導体装置
今日
エイブリック株式会社
半導体装置
23日前
エイブリック株式会社
半導体装置
23日前
個人
防雪防塵カバー
2日前
ローム株式会社
半導体装置
今日
ローム株式会社
半導体装置
21日前
キヤノン株式会社
電子機器
21日前
ローム株式会社
半導体装置
今日
ニチコン株式会社
コンデンサ
14日前
株式会社GSユアサ
蓄電装置
1か月前
ニチコン株式会社
コンデンサ
14日前
東レ株式会社
ガス拡散層の製造方法
21日前
株式会社ティラド
面接触型熱交換器
13日前
個人
半導体パッケージ用ガラス基板
1日前
株式会社GSユアサ
蓄電装置
1か月前
沖電気工業株式会社
アンテナ
1か月前
株式会社GSユアサ
蓄電装置
2日前
オムロン株式会社
電磁継電器
1か月前
株式会社GSユアサ
蓄電装置
29日前
続きを見る
他の特許を見る