TOP
|
特許
|
意匠
|
商標
特許ウォッチ
Twitter
他の特許を見る
公開番号
2025132885
公報種別
公開特許公報(A)
公開日
2025-09-10
出願番号
2024030750
出願日
2024-02-29
発明の名称
電力変換装置
出願人
Astemo株式会社
代理人
弁理士法人サンネクスト国際特許事務所
主分類
H02M
3/28 20060101AFI20250903BHJP(電力の発電,変換,配電)
要約
【課題】コモンモードノイズを低減できる。
【解決手段】電力変換装置は、ブリッジ方式のDCDCコンバータである第1コンバータおよび第2コンバータを備え、第1コンバータは、第1スイッチング回路および第1トランスを含み、第2コンバータは、第2スイッチング回路および第2トランスを含み、第1コンバータおよび第2コンバータは並列または直列に接続され、第1トランスと第2トランスは、単一のコアで結合された統合トランスで構成され、第1トランスの極性と、第2トランスの極性とは、互いに逆向きである。
【選択図】図1
特許請求の範囲
【請求項1】
ブリッジ方式のDCDCコンバータである第1コンバータおよび第2コンバータを備える電力変換装置であって、
前記第1コンバータは、第1スイッチング回路および第1トランスを含み、
前記第2コンバータは、第2スイッチング回路および第2トランスを含み、
前記第1コンバータおよび前記第2コンバータは並列または直列に接続され、
前記第1トランスと前記第2トランスは、単一のコアで結合された統合トランスで構成され、
前記第1トランスの極性と、前記第2トランスの極性とは、互いに逆向きである、電力変換装置。
続きを表示(約 390 文字)
【請求項2】
請求項1に記載の電力変換装置であって、
前記第1コンバータの巻線方向と、前記第2コンバータの巻線方向とが逆巻方向である、電力変換装置。
【請求項3】
請求項1に記載の電力変換装置であって、
前記単一のコアに対する前記第1トランスの巻線方向と、前記単一のコアに対する前記第2トランスの巻線方向とが同一方向であり、
前記第1トランスの両端に対する前記第1スイッチング回路の接続と、前記第2トランスの両端に対する前記第2スイッチング回路の接続とが逆である、電力変換装置。
【請求項4】
請求項1から請求項3までのいずれか一項に記載の電力変換装置であって、
前記第1コンバータのスイッチング回路および前記第2コンバータのスイッチング回路は、オンとオフが逆極性となるように相補的にスイッチングする、電力変換装置。
発明の詳細な説明
【技術分野】
【0001】
本発明は、電力変換装置に関する。
続きを表示(約 1,600 文字)
【背景技術】
【0002】
電力変換装置には、高効率、小型、低発熱、低ノイズなどの様々な要求がされている。特許文献1には、複数のスイッチング素子から成るスイッチ回路と、第1のリアクトルと第2のリアクトルと共振コンデンサの直列回路からなる第1の共振回路と、前記第1のリアクトルと前記共振コンデンサと整流平滑回路からなる第2の共振回路と、前記スイッチ回路はトランスの一次巻線に接続され、前記第1の共振回路と前記第2の共振回路は前記トランスの二次巻線に接続され、入力された第1の直流電圧を前記スイッチ回路で交流に変換し、前記トランスの二次巻線に発生した電圧を整流平滑して第2の直流電圧を出力することを特徴とする共振型DC-DCコンバータが開示されている。
【先行技術文献】
【特許文献】
【0003】
特開2022-006847号公報
【発明の概要】
【発明が解決しようとする課題】
【0004】
特許文献1に記載されている発明では、ノイズ低減について検討の余地がある。
【課題を解決するための手段】
【0005】
本発明の第1の態様による電力変換装置は、ブリッジ方式のDCDCコンバータである第1コンバータおよび第2コンバータを備える電力変換装置であって、前記第1コンバータは、第1スイッチング回路および第1トランスを含み、前記第2コンバータは、第2スイッチング回路および第2トランスを含み、前記第1コンバータおよび前記第2コンバータは並列または直列に接続され、前記第1トランスと前記第2トランスは、単一のコアで結合された統合トランスで構成され、前記第1トランスの極性と、前記第2トランスの極性とは、互いに逆向きである。
【発明の効果】
【0006】
本発明によれば、コモンモードノイズを低減できる。
【図面の簡単な説明】
【0007】
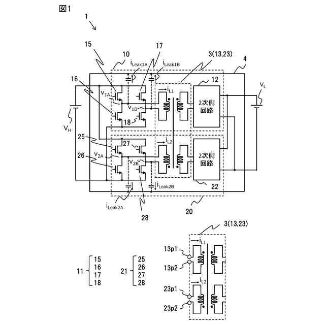
電力変換装置の回路図
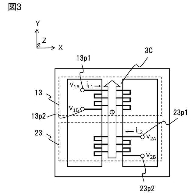
第1コンバータおよび第2コンバータにおける電圧および電流の時系列変化を示す図
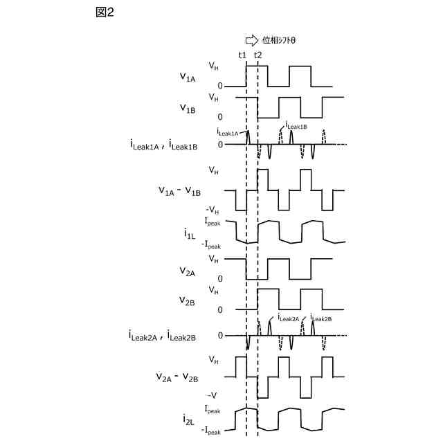
統合トランスの第1の例を示す図
統合トランスの第2の例を示す図
【発明を実施するための形態】
【0008】
―第1の実施の形態―
以下、図1~図4を参照して、電力変換装置の第1の実施の形態を説明する。
【0009】
図1は、電力変換装置1の回路図である。電力変換装置1は、第1コンバータ10と第2コンバータ20の2系統からなる統合トランス方式DC/DCコンバータであり、外周をケース4で囲っている。電力変換装置1は、図示左側の高電圧バッテリVHと、図示右側の低電圧バッテリVLとの間で電力を相互に変換する。第1コンバータ10は、1次側DC/ACコンバータである1次側第1回路11と、1次側と2次側とを磁気結合する第1トランス13と、2次側AC/DCコンバータである2次側第1コンバータ12と、を備える。第2コンバータ20は、1次側DC/ACコンバータである1次側第2回路21と、1次側と2次側とを磁気結合する第2トランス23と、2次側AC/DCコンバータである2次側第2コンバータ22と、を備える。
【0010】
1次側第1回路11および1次側第2回路21は、半導体スイッチを用いたハーフブリッジ回路もしくはフルブリッジ回路などで構成される。2次側第1コンバータ12および2次側第2コンバータ22は、半導体スイッチを用いたハーフブリッジ回路もしくはフルブリッジ回路や、ダイオードを用いた半波整流回路もしくは全波整流回路などで構成される。図1に示す1次側第1回路11は、半導体スイッチ15~18を備えるフルブリッジ回路である。図1に示す1次側第2回路21は、半導体スイッチ25~28を備えるフルブリッジ回路である。
(【0011】以降は省略されています)
この特許をJ-PlatPat(特許庁公式サイト)で参照する
関連特許
Astemo株式会社
樹脂筐体
1日前
Astemo株式会社
電池監視装置
1日前
Astemo株式会社
電流検出装置
3日前
Astemo株式会社
電動駆動装置
1日前
Astemo株式会社
電圧検出装置
3日前
Astemo株式会社
電動モータ装置
今日
Astemo株式会社
緩衝装置、懸架装置
1日前
Astemo株式会社
バッテリー充電装置
3日前
Astemo株式会社
支持ユニット、懸架装置
3日前
Astemo株式会社
バンプストッパ、緩衝器
3日前
Astemo株式会社
放電装置及び電力変換装置
今日
Astemo株式会社
インジェクタ故障検出装置
3日前
Astemo株式会社
制御装置及び鍵情報秘匿方法
3日前
Astemo株式会社
タスク処理方法および制御装置
3日前
Astemo株式会社
ナット部材、緩衝装置、加圧工具
今日
Astemo株式会社
電池監視装置及び電池管理システム
1日前
Astemo株式会社
車両制御装置及びセンサデータ処理方法
1日前
Astemo株式会社
自動車用電子制御装置およびメモリ管理装置
3日前
Astemo株式会社
車両制御システム
2日前
Astemo株式会社
改善システム、改善方法
7日前
Astemo株式会社
サスペンション制御装置、サスペンション制御方法、およびサスペンション制御プログラム
1日前
個人
電源装置
14日前
個人
バッテリ内蔵直流電源
13日前
株式会社FUJI
制御盤
3日前
オムロン株式会社
電源回路
7日前
オムロン株式会社
電源回路
7日前
オムロン株式会社
電源回路
7日前
ニデック株式会社
モータの制御方法
21日前
トヨタ自動車株式会社
回転子
14日前
日産自動車株式会社
電子機器
24日前
東京応化工業株式会社
発電装置
7日前
大豊工業株式会社
モータ
13日前
井関農機株式会社
充電システム
24日前
トヨタ自動車株式会社
溶接装置
27日前
ミサワホーム株式会社
居住設備
3日前
株式会社リコー
拡張アンテナ装置
6日前
続きを見る
他の特許を見る