TOP
|
特許
|
意匠
|
商標
特許ウォッチ
Twitter
他の特許を見る
公開番号
2025140748
公報種別
公開特許公報(A)
公開日
2025-09-29
出願番号
2024040314
出願日
2024-03-14
発明の名称
電圧検出装置
出願人
Astemo株式会社
代理人
弁理士法人志賀国際特許事務所
主分類
H01M
10/48 20060101AFI20250919BHJP(基本的電気素子)
要約
【課題】温度センサが故障した場合における経路抵抗値の温度特性の補償精度の低下を抑制することが可能な電圧検出装置を提供する。
【解決手段】組電池のセル電圧を所定の電圧検出線を介して検出する電圧検出装置であって、電圧検出線の温度を検出線温度として検出する複数の温度センサと、検出線温度の検出温度差が所定のしきい値を上回ると、検出線温度の平均値を補正用温度に設定する補正用温度設定部と、補正用温度に基づいてセル電圧を補正することにより補正セル電圧を取得する補正温度取得部とを備える。
【選択図】図1
特許請求の範囲
【請求項1】
組電池のセル電圧を所定の電圧検出線を介して検出する電圧検出装置であって、
前記電圧検出線の温度を検出線温度として検出する複数の温度センサと、
前記検出線温度の検出温度差が所定のしきい値を上回ると、前記検出線温度の平均値を補正用温度に設定する補正用温度設定部と、
前記補正用温度に基づいて前記セル電圧を補正することにより補正セル電圧を取得する補正温度取得部と
を備えることを特徴とする電圧検出装置。
続きを表示(約 170 文字)
【請求項2】
前記補正用温度設定部は、複数の前記温度センサのうち、異常でない複数の前記温度センサの検出値の平均値を前記補正用温度に設定することを特徴とする請求項1に記載の電圧検出装置。
【請求項3】
前記温度センサは、前記組電池を構成する電池モジュールに対応して設けられることを特徴とする請求項1又は2に記載の電圧検出装置。
発明の詳細な説明
【技術分野】
【0001】
本発明は、電圧検出装置に関する。
続きを表示(約 1,400 文字)
【背景技術】
【0002】
下記特許文献1には、二次電池を含むバッテリーシステムに設けられる温度センサの故障を確実に検出する故障検出技術が開示されている。この故障検出技術は、定期的の温度センサの温度測定値を取り込むことによって、温度センサによる温度測定値の時間変化率を求め、この時間変化率に基づいて故障を検出するものである。具体的には、温度測定値が予め定めた温度範囲から逸脱し、かつ、温度測定値の時間変化率が所定のしきい値を超えたときに温度センサの故障と判断する。
【先行技術文献】
【特許文献】
【0003】
特開2004-325110号公報
【発明の概要】
【発明が解決しようとする課題】
【0004】
ところで、バッテリーシステムにおいて二次電池のセル電圧の検出精度を向上させるためには、二次電池に接続される電圧検出線の抵抗値(経路抵抗値)の温度特性をキャンセルする必要がある。この場合、温度センサで検出された電圧検出線の温度に基いて温度特性をキャンセルすることになるが、温度センサが温度ドリフト故障すると温度特性のキャンセル精度を確保することができない。
【0005】
本発明は、上述した事情に鑑みてなされたものであり、温度センサが故障した場合における経路抵抗値の温度特性の補償精度の低下を抑制することが可能な電圧検出装置の提供を目的とする。
【課題を解決するための手段】
【0006】
上記目的を達成するために、本発明では、電圧検出装置に係る第1の解決手段として、組電池のセル電圧を所定の電圧検出線を介して検出する電圧検出装置であって、前記電圧検出線の温度を検出線温度として検出する複数の温度センサと、前記検出線温度の検出温度差が所定のしきい値を上回ると、前記検出線温度の平均値を補正用温度に設定する補正用温度設定部と、前記補正用温度に基づいて前記セル電圧を補正することにより補正セル電圧を取得する補正温度取得部とを備える、という手段を採用する。
【0007】
本発明では、電圧検出装置に係る第2の解決手段として、上記第1の解決手段において、前記補正用温度設定部は、複数の前記温度センサのうち、異常でない複数の前記温度センサの検出値の平均値を前記補正用温度に設定する、という手段を採用する。
【0008】
本発明では、電圧検出装置に係る第3の解決手段として、上記第1又は第2の解決手段において、前記温度センサは、前記組電池を構成する電池モジュールに対応して設けられる、という手段を採用する。
【発明の効果】
【0009】
本発明によれば、温度センサが故障した場合における経路抵抗値の温度特性の補償精度の低下を抑制することが可能な電圧検出装置を提供することが可能である。
【図面の簡単な説明】
【0010】
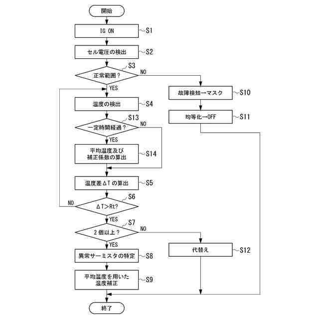
本発明の一実施形態に係る電圧検出装置の構成を示す回路図である。
本発明の一実施形態に係る電圧検出装置の動作を示す第1のフローチャートである。
本発明の一実施形態に係る電圧検出装置の動作を示す模式図である。
本発明の一実施形態に係る電圧検出装置の動作を示す第2のフローチャートである。
【発明を実施するための形態】
(【0011】以降は省略されています)
この特許をJ-PlatPat(特許庁公式サイト)で参照する
関連特許
Astemo株式会社
緩衝器
22日前
Astemo株式会社
樹脂筐体
1日前
Astemo株式会社
半導体装置
7日前
Astemo株式会社
電動駆動装置
1日前
Astemo株式会社
電力変換装置
22日前
Astemo株式会社
電圧検出装置
3日前
Astemo株式会社
電流検出装置
3日前
Astemo株式会社
電池監視装置
1日前
Astemo株式会社
電動モータ装置
今日
Astemo株式会社
バッテリー充電装置
3日前
Astemo株式会社
インバータ制御装置
13日前
Astemo株式会社
緩衝装置、懸架装置
1日前
Astemo株式会社
支持ユニット、懸架装置
3日前
Astemo株式会社
バンプストッパ、緩衝器
3日前
Astemo株式会社
放電装置及び電力変換装置
今日
Astemo株式会社
インジェクタ故障検出装置
3日前
Astemo株式会社
制御装置及び鍵情報秘匿方法
3日前
Astemo株式会社
めっき部材およびその製造方法
14日前
Astemo株式会社
地絡検出装置及び地絡検出方法
7日前
Astemo株式会社
車両制御装置及び車両制御方法
7日前
Astemo株式会社
タスク処理方法および制御装置
3日前
Astemo株式会社
ナット部材、緩衝装置、加圧工具
今日
Astemo株式会社
過電圧検知装置及び電圧検出装置
14日前
Astemo株式会社
電池監視装置及び電池管理システム
1日前
Astemo株式会社
車両制御装置及びセンサデータ処理方法
1日前
Astemo株式会社
ダイナミックダンパ及びプロペラシャフト
21日前
Astemo株式会社
自動車用電子制御装置およびメモリ管理装置
3日前
Astemo株式会社
サーバ装置
13日前
Astemo株式会社
走行支援装置
13日前
Astemo株式会社
車両制御システム
2日前
Astemo株式会社
改善システム、改善方法
7日前
Astemo株式会社
サスペンション制御装置、サスペンション制御方法、およびサスペンション制御プログラム
1日前
個人
安全なNAS電池
27日前
個人
フリー型プラグ安全カバー
1か月前
日本発條株式会社
積層体
3日前
東レ株式会社
多孔質炭素シート
22日前
続きを見る
他の特許を見る