TOP
|
特許
|
意匠
|
商標
特許ウォッチ
Twitter
他の特許を見る
公開番号
2025143012
公報種別
公開特許公報(A)
公開日
2025-10-01
出願番号
2024042679
出願日
2024-03-18
発明の名称
電池監視装置
出願人
Astemo株式会社
代理人
弁理士法人志賀国際特許事務所
主分類
G01R
31/54 20200101AFI20250924BHJP(測定;試験)
要約
【課題】直列接続された複数の電池セルの各々のセル電圧を検出する電池監視装置にて、断線と検知される故障の原因をより詳しく特定可能とする。
【解決手段】直列接続された複数の電池セルCの各々のセル電圧Vcを検出する電池監視装置1であって、各々の電池セルCの電極に接続された接続線2と、各々の電池セルCに設けられて電池セルCに放電させる放電経路5と、接続線2の途中部位に設けられるフィルタ回路4と、故障を判定する制御処理部8とを備え、制御処理部8が、放電経路5の電圧と、複数のセル電圧の平均値であるセル平均電圧と、セル電圧とに基づいて、電池セルC、接続線2及びフィルタ回路4のいずれで故障が発生しているかを特定する。
【選択図】図1
特許請求の範囲
【請求項1】
直列接続された複数の電池セルの各々のセル電圧を検出する電池監視装置であって、
各々の前記電池セルの電極に接続された伝送線路と、
各々の前記電池セルに設けられて前記電池セルに放電させる放電部と、
前記伝送線路の途中部位に設けられるフィルタ回路と、
故障を判定する故障判定部と
を備え、
前記故障判定部は、前記放電部の電圧と、複数のセル電圧の平均値であるセル平均電圧と、前記セル電圧とに基づいて、前記電池セル、前記伝送線路及び前記フィルタ回路のいずれで故障が発生しているかを特定する
ことを特徴とする電池監視装置。
続きを表示(約 680 文字)
【請求項2】
前記故障判定部は、複数の前記電池セルの1つである対象電池セルの前記セル電圧と、前記対象電池セルに設けられた前記放電部の電圧との差分が有る場合に、前記フィルタ回路で故障が発生していると判定することを特徴とする請求項1記載の電池監視装置。
【請求項3】
前記故障判定部は、複数の前記電池セルの1つである対象電池セルの前記セル電圧と、前記セル平均電圧との差分が有る場合に、前記対象電池セルまたは前記対象電池セルに接続された前記伝送線路で故障が発生していると判定することを特徴とする請求項2記載の電池監視装置。
【請求項4】
前記故障判定部は、
前記対象電池セルの前記セル電圧と前記セル平均電圧との差分が予め定められた閾値よりも小さな場合に、前記対象電池セルで故障が発生していると判定し、
前記対象電池セルの前記セル電圧と前記セル平均電圧との差分が前記閾値よりも大きな場合に、前記対象電池セルに接続された前記伝送線路で故障が発生していると判定する
ことを特徴とする請求項3記載の電池監視装置。
【請求項5】
前記故障判定部は、
前記セル電圧に基づいて、複数の前記電池セルの1つである対象電池セルからの給電が停止した状態である断線が生じているか否かを判定し、
前記断線が生じていると判定した場合に、前記電池セル、前記伝送線路及び前記フィルタ回路のいずれで故障が発生しているかを特定する
ことを特徴とする請求項1~4のいずれか一項に記載の電池監視装置。
発明の詳細な説明
【技術分野】
【0001】
本発明は、電池監視装置に関するものである。
続きを表示(約 1,600 文字)
【背景技術】
【0002】
例えば、特許文献1には、組電池の電圧検出装置が開示されている。特許文献1に開示された電圧検出装置は、個別のセル電圧とセルの総電圧とを用いて故障診断を行う。このような特許文献1に開示された電圧検出装置は、単位電池ごとに2つの単位電圧検出回路を設ける必要をなくし、部品数を削減しようとするものである。
【先行技術文献】
【特許文献】
【0003】
特開2003-134675号公報
【発明の概要】
【発明が解決しようとする課題】
【0004】
ところで、特許文献1に開示された電圧検出装置のような電池セルの状態を検出する電池監視装置では、各々の電池セルの電圧であるセル電圧を比較することで、断線検知を行うことができる。このような断線検知は、対象の電池セルのセル電圧をこの電池セルに隣接する他の電池セルのセル電圧と比較することで行われる。しかしながら、隣接する2つの電池セルのセル電圧は、上記電池セルの電極に接続された伝送線路の故障のみならず、伝送線路に接続されたフィルタ回路の故障や、電池セルそのものの故障であっても、大きく変動する。このため、2つの電池セルのセル電圧の比較のみでは、どのような故障によって断線が生じているかを把握することはできなかった。
【0005】
本発明は、上述する問題点に鑑みてなされたもので、直列接続された複数の電池セルの各々のセル電圧を検出する電池監視装置にて、断線と検知される故障の原因をより詳しく特定可能とすることを目的とする。
【課題を解決するための手段】
【0006】
本発明は、上記課題を解決するための手段として、以下の構成を採用する。
【0007】
本発明の第1の態様は、直列接続された複数の電池セルの各々のセル電圧を検出する電池監視装置であって、各々の上記電池セルの電極に接続された伝送線路と、各々の上記電池セルに設けられて上記電池セルに放電させる放電部と、上記伝送線路の途中部位に設けられるフィルタ回路と、故障を判定する故障判定部とを備え、上記故障判定部が、上記放電部の電圧と、複数のセル電圧の平均値であるセル平均電圧と、上記セル電圧とに基づいて、上記電池セル、上記伝送線路及び上記フィルタ回路のいずれで故障が発生しているかを特定するという構成を採用する。
【発明の効果】
【0008】
本発明によれば、放電部の電圧と、複数のセル電圧の平均値であるセル平均電圧と、セル電圧とに基づいて、電池セル、伝送線路及びフィルタ回路のいずれで故障が発生しているかを特定する。このため、本発明によれば、断線と検知される故障の原因をより詳しく特定することが可能となる。
【図面の簡単な説明】
【0009】
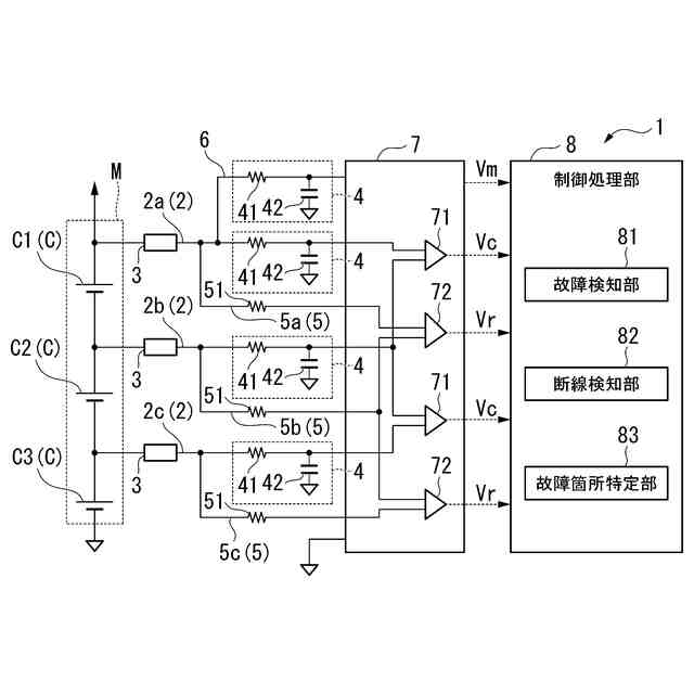
本発明の一実施形態における電池監視装置の概略構成図である。
本発明の一実施形態における電池監視装置においてフィルタ回路が故障した状態を説明する説明図である。
フィルタ回路が故障した場合の電圧変化を示す模式図である。
本発明の一実施形態における電池監視装置において電池セルが故障した状態を説明する説明図である。
電池セルが故障した場合の電圧変化を示す模式図である。
本発明の一実施形態における電池監視装置において接続線が故障した状態を説明する説明図である。
接続線が故障した場合の電圧変化を示す模式図である。
本発明の一実施形態における電池監視装置の動作を説明するためのフローチャートである。
【発明を実施するための形態】
【0010】
以下、図面を参照して、本発明に係る電池監視装置の一実施形態について説明する。
(【0011】以降は省略されています)
この特許をJ-PlatPat(特許庁公式サイト)で参照する
関連特許
Astemo株式会社
樹脂筐体
2日前
Astemo株式会社
電動駆動装置
2日前
Astemo株式会社
電圧検出装置
今日
Astemo株式会社
電池監視装置
2日前
Astemo株式会社
電動モータ装置
1日前
Astemo株式会社
電池管理システム
今日
Astemo株式会社
緩衝装置、懸架装置
2日前
Astemo株式会社
インジェクタ駆動装置
今日
Astemo株式会社
回転電機のロータ構造
今日
Astemo株式会社
放電装置及び電力変換装置
1日前
Astemo株式会社
インジェクタ故障検出装置
今日
Astemo株式会社
温度検出装置及び電圧検出装置
今日
Astemo株式会社
ナット部材、緩衝装置、加圧工具
1日前
Astemo株式会社
電池監視装置及び電池管理システム
2日前
Astemo株式会社
電池監視装置及び電池管理システム
今日
Astemo株式会社
車両制御装置及びセンサデータ処理方法
2日前
Astemo株式会社
半導体装置
今日
Astemo株式会社
被牽引車用制御装置及び被牽引車バッテリ充電率調整システム
今日
個人
計量スプーン
24日前
個人
微小振動検出装置
1か月前
株式会社イシダ
X線検査装置
1か月前
日本精機株式会社
位置検出装置
2日前
日本精機株式会社
位置検出装置
2日前
日本精機株式会社
位置検出装置
2日前
大和製衡株式会社
組合せ秤
7日前
大和製衡株式会社
組合せ秤
7日前
アズビル株式会社
圧力センサ
1日前
トヨタ自動車株式会社
表示装置
16日前
株式会社東芝
センサ
7日前
株式会社東芝
センサ
7日前
トヨタ自動車株式会社
検査装置
4日前
エイブリック株式会社
磁気センサ回路
1日前
ダイハツ工業株式会社
測定用具
28日前
アンリツ株式会社
分光器
1か月前
株式会社ユーシン
操作検出装置
4日前
アンリツ株式会社
分光器
1か月前
続きを見る
他の特許を見る