TOP
|
特許
|
意匠
|
商標
特許ウォッチ
Twitter
他の特許を見る
公開番号
2025144398
公報種別
公開特許公報(A)
公開日
2025-10-02
出願番号
2024044149
出願日
2024-03-19
発明の名称
放電装置及び電力変換装置
出願人
Astemo株式会社
代理人
弁理士法人志賀国際特許事務所
主分類
H02M
7/48 20070101AFI20250925BHJP(電力の発電,変換,配電)
要約
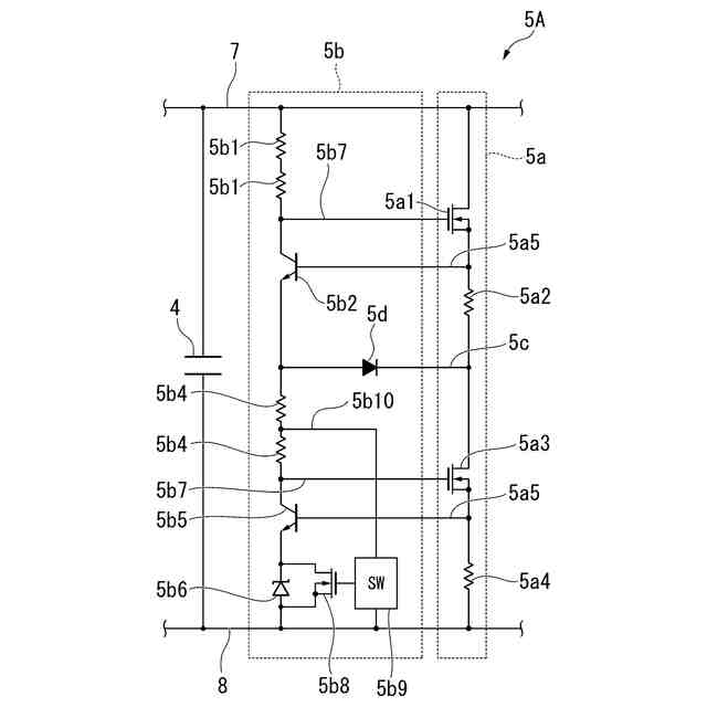
【課題】トランジスタを有する電流調整部が放電部の放電電流の大きさを調整する放電装置及び電力変換装置において、温度変化による放電電流の変化を抑制可能とする。
【解決手段】平滑コンデンサ4に並列に接続され、平滑コンデンサ4に蓄積された電荷を放電電流として放電させる放電装置5であって、放電電流が流れる放電部5aと、放電部5aに流れる放電電流の大きさを調整する放電電流調整部5bとを備え、放電部5aと放電電流調整部5bとが平滑コンデンサ4に対して並列に接続され、放電電流調整部5bは、第2放電電流調整部用半導体スイッチ5b5と、第2放電電流調整部用半導体スイッチ5b5よりも低電位側に位置すると共に第2放電電流調整部用半導体スイッチ5b5と直列に接続された第2ツェナーダイオード5b6とを有する。
【選択図】図2
特許請求の範囲
【請求項1】
容量素子に並列に接続され、前記容量素子に蓄積された電荷を放電電流として放電させる放電装置であって、
前記放電電流が流れる放電部と、
前記放電部に流れる前記放電電流の大きさを調整する放電電流調整部と
を備え、
前記放電部と前記放電電流調整部とが前記容量素子に対して並列に接続され、
前記放電電流調整部は、
放電電流調整用トランジスタと、
前記放電電流調整用トランジスタよりも低電位側に位置すると共に前記放電電流調整用トランジスタと直列に接続されたツェナーダイオードと
を有する
ことを特徴とする放電装置。
続きを表示(約 590 文字)
【請求項2】
前記放電電流調整部は、
前記ツェナーダイオードに並列に接続されたスイッチング素子と、
前記スイッチング素子を制御するスイッチング素子制御部と
を有することを特徴とする請求項1記載の放電装置。
【請求項3】
前記スイッチング素子制御部は、
前記放電電流調整用トランジスタの高電位側に接続され、
前記放電電流調整用トランジスタの高電位側に流れる電流の大きさが予め定められた閾値を超えた場合に前記スイッチング素子を通電状態とし、
前記放電電流調整用トランジスタの高電位側に流れる電流の大きさが前記閾値を超えない場合に前記スイッチング素子を非導通状態とする
ことを特徴とする請求項2記載の放電装置。
【請求項4】
前記スイッチング素子制御部は、前記容量素子の電圧が予め定められた基準値よりも高い場合に、前記容量素子の電圧が前記基準値よりも低い場合と比較して、単位時間あたりにおける前記通電状態とする期間を短くすることを特徴とする請求項3記載の放電装置。
【請求項5】
バッテリと負荷との間で電力変換を行う電力変換装置であって、
前記容量素子と、
請求項1~4のいずれか一項に記載の放電装置と
を備える
ことを特徴とする電力変換装置。
発明の詳細な説明
【技術分野】
【0001】
本発明は、放電装置及び電力変換装置に関するものである。
続きを表示(約 1,600 文字)
【背景技術】
【0002】
例えば、特許文献1には、小型化が可能な放電装置が開示されている。この放電装置は、車両の車輪を回転させるモータの駆動装置に設けられた平滑コンデンサの電荷を放電するためのものであり、平滑コンデンサと並列に接続される放電用回路部品と、放電用回路部品の電流を調整する電流調整用回路部品とを備え、放電用回路部品及び電流調整用回路部品が1組となるように構成され、複数組が直列に接続されたものである。
【先行技術文献】
【特許文献】
【0003】
特開2018-160954号公報
【発明の概要】
【発明が解決しようとする課題】
【0004】
上述のような特許文献1の放電装置は、複数の放電用回路部品が直列に接続された放電部と、複数の電流調整用回路部品が直列接続された放電電流調整部とを備えていると言える。ところで、放電電流調整部が備える電流調整用部品には、トランジスタが含まれている。トランジスタは、温度に依存して入力端と出力端との間の電圧が変化する。このため、特許文献1の放電装置では、放電電流が温度によって変化してしまう。
【0005】
本発明は、上述する問題点に鑑みてなされたもので、トランジスタを有する電流調整部が放電部の放電電流の大きさを調整する放電装置及び電力変換装置において、温度変化による放電電流の変化を抑制可能とすることを目的とする。
【課題を解決するための手段】
【0006】
本発明は、上記課題を解決するための手段として、以下の構成を採用する。
【0007】
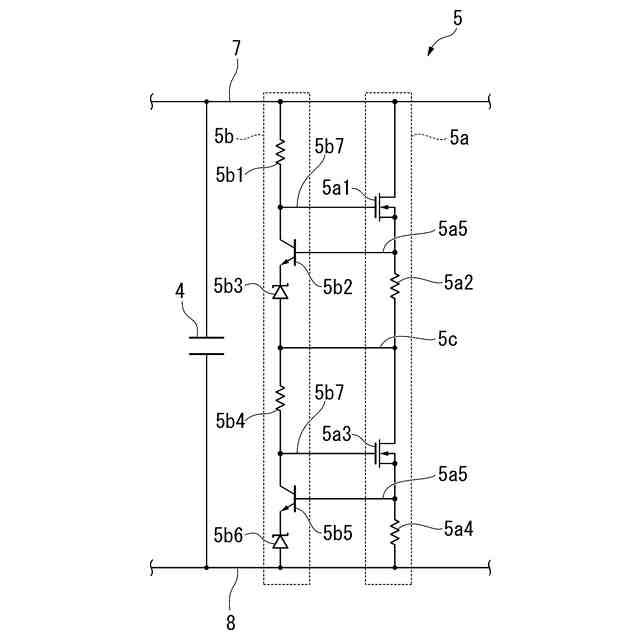
本発明の第1の態様は、容量素子に並列に接続され、上記容量素子に蓄積された電荷を放電電流として放電させる放電装置であって、上記放電電流が流れる放電部と、上記放電部に流れる上記放電電流の大きさを調整する放電電流調整部とを備え、上記放電部と上記放電電流調整部とが上記容量素子に対して並列に接続され、上記放電電流調整部が、放電電流調整用トランジスタと、上記放電電流調整用トランジスタよりも低電位側に位置すると共に上記放電電流調整用トランジスタと直列に接続されたツェナーダイオードとを有するという構成を採用する。
【0008】
本発明の第2の態様は、バッテリと負荷との間で電力変換を行う電力変換装置であって、上記容量素子と、上記第1の態様における放電装置とを備えるという構成を採用する。
【発明の効果】
【0009】
本発明によれば、放電電流調整部が、放電電流調整用トランジスタに直列に接続されたツェナーダイオードを有している。放電電流調整用トランジスタとツェナーダイオードとは、反対の温度特性を有する。つまり、温度上昇により放電電流調整用トランジスタの端子間電圧が下がると、ツェナーダイオードの端子間電圧が上がる。一方で、温度低下により放電電流調整用トランジスタの端子間電圧が上がると、ツェナーダイオードの端子間電圧が下がる。このため、本発明によれば、放電電流調整用トランジスタとツェナーダイオードとによって、温度による放電電流の変化を抑制することが可能となる。
【図面の簡単な説明】
【0010】
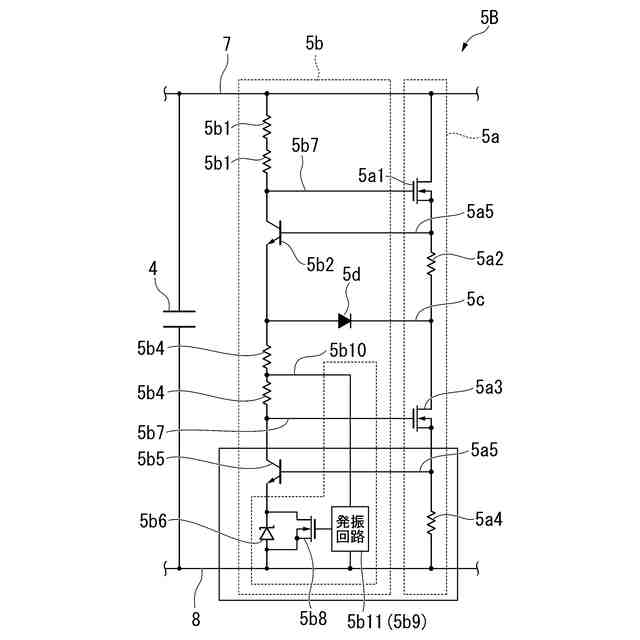
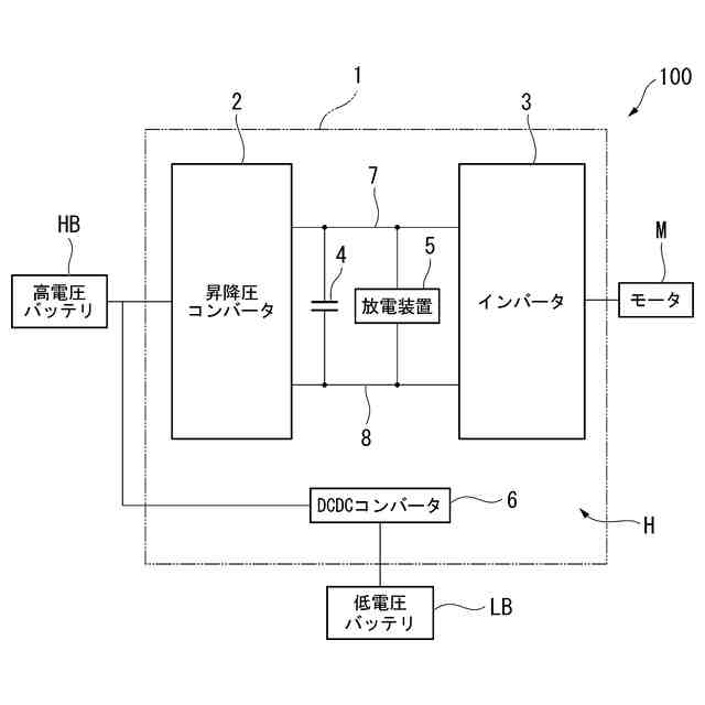
本発明の第1実施形態における放電装置が備えられる車両の概略構成図である。
本発明の第1実施形態における放電装置の回路図である。
本発明の第2実施形態における放電装置の回路図である。
本発明の第3実施形態における放電装置の回路図である。
本発明の第3実施形態における放電装置が備える発振回路の回路図である。
【発明を実施するための形態】
(【0011】以降は省略されています)
この特許をJ-PlatPat(特許庁公式サイト)で参照する
関連特許
Astemo株式会社
緩衝器
23日前
Astemo株式会社
樹脂筐体
2日前
Astemo株式会社
半導体装置
8日前
Astemo株式会社
電流検出装置
4日前
Astemo株式会社
電池監視装置
2日前
Astemo株式会社
電動駆動装置
2日前
Astemo株式会社
電力変換装置
23日前
Astemo株式会社
電圧検出装置
4日前
Astemo株式会社
電動モータ装置
1日前
Astemo株式会社
バッテリー充電装置
4日前
Astemo株式会社
緩衝装置、懸架装置
2日前
Astemo株式会社
インバータ制御装置
14日前
Astemo株式会社
支持ユニット、懸架装置
4日前
Astemo株式会社
バンプストッパ、緩衝器
4日前
Astemo株式会社
放電装置及び電力変換装置
1日前
Astemo株式会社
インジェクタ故障検出装置
4日前
Astemo株式会社
制御装置及び鍵情報秘匿方法
4日前
Astemo株式会社
タスク処理方法および制御装置
4日前
Astemo株式会社
めっき部材およびその製造方法
15日前
Astemo株式会社
地絡検出装置及び地絡検出方法
8日前
Astemo株式会社
車両制御装置及び車両制御方法
8日前
Astemo株式会社
ナット部材、緩衝装置、加圧工具
1日前
Astemo株式会社
過電圧検知装置及び電圧検出装置
15日前
Astemo株式会社
電池監視装置及び電池管理システム
2日前
Astemo株式会社
ディスクブレーキのキャリパボディ
23日前
Astemo株式会社
車両制御装置及びセンサデータ処理方法
2日前
Astemo株式会社
ダイナミックダンパ及びプロペラシャフト
22日前
Astemo株式会社
自動車用電子制御装置およびメモリ管理装置
4日前
Astemo株式会社
サーバ装置
14日前
Astemo株式会社
走行支援装置
14日前
Astemo株式会社
車両制御システム
3日前
Astemo株式会社
改善システム、改善方法
8日前
Astemo株式会社
サスペンション制御装置、サスペンション制御方法、およびサスペンション制御プログラム
2日前
個人
電源装置
15日前
個人
永久磁石モーター
1か月前
個人
バッテリ内蔵直流電源
14日前
続きを見る
他の特許を見る