TOP
|
特許
|
意匠
|
商標
特許ウォッチ
Twitter
他の特許を見る
公開番号
2025133096
公報種別
公開特許公報(A)
公開日
2025-09-10
出願番号
2025031061
出願日
2025-02-28
発明の名称
緯糸の脱離を制御する電磁石群に統合される独立光学ユニットを備える織機用緯糸供給装置
出願人
ロイ エス.アール.エル.
,
ROJ S.R.L.
代理人
個人
,
個人
,
個人
主分類
D03D
47/34 20060101AFI20250903BHJP(織成)
要約
【課題】織機の脱離を制御する緯糸供給装置の電磁石群に統合される独立の光学ユニットを備える新たな織機用-特にエアジェット用及び水ジェット用-緯糸供給装置を提供する。
【解決手段】織機用緯糸供給装置は、緯糸供給装置ドラム(D)に緯糸を巻きつける巻取り群(W)と、前記ドラム(D)に巻きつけられている前記緯糸、及び該緯糸の前記ドラム(D)からの離脱を監視する1つ以上の光センサを備える光学ユニット(P)と、前記緯糸の前記ドラム(D)からの離脱を防止するストップピン(15)の運動を制御すると共に前記ストップピンが前記ドラム(D)と干渉するように突出するカップ形状の殻状体(11)の内部で取り囲まれる電磁石群(E)と、当該緯糸供給装置の論理機能を制御する緯糸供給装置処理基板を備える。
【選択図】図1
特許請求の範囲
【請求項1】
織機用緯糸供給装置であって、
緯糸供給装置ドラムに緯糸を巻きつける巻取り群と、前記ドラムに巻きつけられている前記緯糸、及び該緯糸の前記ドラムからの離脱を監視する1つ以上の光センサを備える光学ユニットと、前記緯糸の前記ドラムからの離脱を防止するストップピンの運動を制御すると共に前記ストップピンが前記ドラムと干渉するように突出するカップ形状の殻状体の内部で取り囲まれる電磁石群と、当該緯糸供給装置の論理機能を制御する緯糸供給装置処理基板を備え、
前記光学ユニットは保護箱内に収容されると共に直接配線によって前記緯糸供給装置処理基板に電気的に接続され、かつ、前記保護箱は、前記カップ形状の殻状体の内部に収容されると共に取り外し可能に固定されることを特徴とする織機用緯糸供給装置。
続きを表示(約 910 文字)
【請求項2】
請求項1に記載の織機用緯糸供給装置であって、前記光学ユニットの機能は、前記カップ形状の殻状体の内部で取り囲まれている前記電磁石群の機能に関して独立かつ自律的である、織機用緯糸供給装置。
【請求項3】
請求項1に記載の織機用緯糸供給装置であって、前記保護箱は、相互に接合される上側半箱と下側半箱を有する、織機用緯糸供給装置。
【請求項4】
請求項3に記載の織機用緯糸供給装置であって、前記保護箱は、埃及び液体が侵入しないように封止される、織機用緯糸供給装置。
【請求項5】
請求項1に記載の織機用緯糸供給装置であって、前記光学ユニットは、前記光センサの発光及び受光素子がはんだ付けされるプリント回路基板を有する、織機用緯糸供給装置。
【請求項6】
請求項5に記載の織機用緯糸供給装置であって、前記プリント回路基板は、発光及び受光素子がはんだ付けされる2つの剛性部を含むリジッドフレックスプリント回路基板である、織機用緯糸供給装置。
【請求項7】
請求項5又は6に記載の織機用緯糸供給装置であって、前記発光及び受光素子上に配置される発泡材料の暗化部材がさらに供される、織機用緯糸供給装置。
【請求項8】
請求項6に記載の織機用緯糸供給装置であって、前記プリント回路基板の前記2つの剛性部は、各異なる傾斜を有すると共に、内部に前記2つの剛性部上に取り付けられる部品を相互接続する銅線を含む前記プリント回路基板の可撓性部によって接続される、織機用緯糸供給装置。
【請求項9】
請求項5に記載の織機用緯糸供給装置であって、前記配線は、プラグ接続を介して前記プリント回路基板及び前記緯糸供給装置処理基板に電気的に接続される配線ケーブルで構成される、織機用緯糸供給装置。
【請求項10】
請求項9に記載の織機用緯糸供給装置であって、前記保護箱から出ている前記配線ケーブルの出口孔を封止するゴム製ガスケットをさらに有する、織機用緯糸供給装置。
(【請求項11】以降は省略されています)
発明の詳細な説明
【技術分野】
【0001】
本発明は、現在利用可能な既知の織機用緯糸供給装置によって既に提供されている通常の機能に加えて、織機の脱離を制御する緯糸供給装置の電磁石群に統合される独立の光学ユニットを備える新たな織機用-特にエアジェット用及び水ジェット用-緯糸供給装置に関する。
続きを表示(約 3,400 文字)
【背景技術】
【0002】
周知の通り、緯糸供給装置は、織機と糸巻きの間にある緯糸供給装置である。これは、緯糸の予備部を生成するように、円筒形ドラムに連続的に-可能な限り一定の速さで糸の特性に応じて時計回りまたは反時計回りに-巻き取ることによって織機に緯糸を供給する。前記緯糸の予備部はその後、格納部内での緯糸の挿入操作中において軸方向に可変速さでドラムから取り出され、そのため緯糸における張力ピーク-これは糸自体の強度と織物の品質を損なう-を生じさせない。
【0003】
緯糸供給装置は、織物工場で長年使用されてきた装置である。その進化の過程で、上記の基本機能に加え、緯糸供給装置の特定の重要地点で緯糸の継続的な存在を確認する追加の制御機能が追加された。緯糸の蓄積量を調整し、必要に応じて個々のコイル間の距離を調整する機能、突然の引き出し加速による動的効果を抑制するように緯糸の排出速度を遅らせる機能、挿入装置によって引き出される緯糸の部分の長さを測定する機能、そして最後に、経糸の格納部内での挿入用の緯糸の解放を事前に設定された長さで制御する機能である。
【0004】
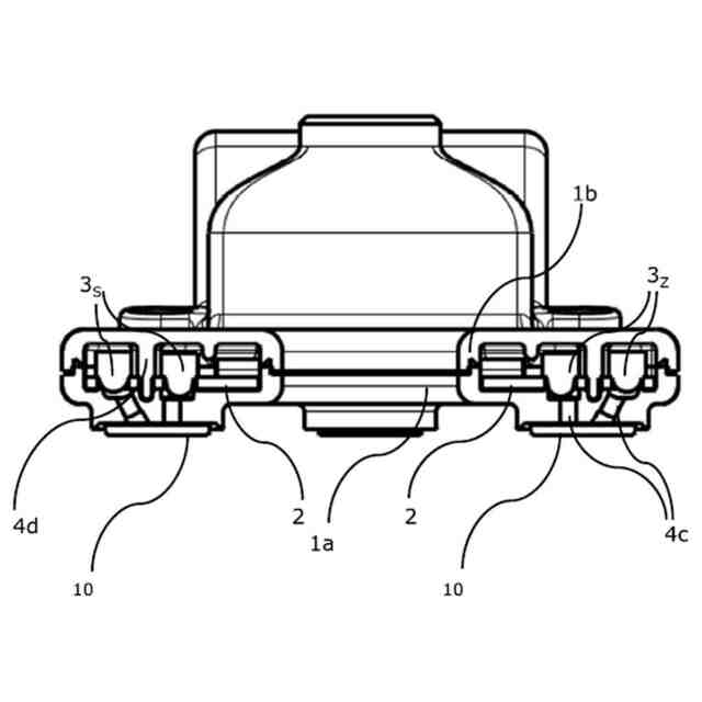
上記の機能を適切に実行するため、緯糸供給装置(図1)は、緯糸供給装置のベースボディCに搭載された光学ユニットPと電磁石群E(以下「ELM群」とも呼ぶ)を備えている。光学ユニットPは1つ以上の光学センサーを含み、緯糸給糸装置の中空シャフトAと一体化した巻取り群WによるドラムDへの緯糸の巻き取りを、緯糸給糸装置の電動機のフィードバック制御を通じて監視する機能を果たす。したがって光学ユニットPは、ドラムDへの新しい緯糸コイルの巻き付けを制御し、また、ドラムDから緯糸挿入装置へ解放されるコイルの数をカウントする機能も有する。電磁石群Eは、前進位置と後退位置との間でのストップピン15の直線運動を制御する。前進位置では、ストップピンの自由端が織物供給装置ドラムDに設けられた対応する場所に挿入されることで、緯糸がドラムから脱離されるのが防止され、後退位置では、代わりに希望の数の緯糸のコイルが解放される。電磁石群Eの作用により、緯糸は実際、織機から事前に定義されたコイル数で引き出され、その数は光学ユニットPによってカウントされる。
【0005】
単一の光学ユニットには、異なる機能を有する複数の光学センサーが含まれる。具体的には以下のとおりである。
- 入力光学センサーT:緯糸給糸巻取群Wの回転ごとに、緯糸がドラムに正常に巻き込まれることを確認し、緯糸の断線を検出する。
- 2つの出口光学センサーSとZ:織り糸が巻き取り群WによってドラムDに巻き取られる2つの回転方向に対応し、ドラムから出る織り糸を検出し、織機から引き出されたコイルの数をカウントし、これに対応する引き出された織り糸の長さを特定する。
- 予備確認光学センサーR:ドラムの事前設定された高さにおけるコイルの存在を検出するセンサーで、これによりドラムに蓄積されるコイルの最大数を一定に維持する。
【0006】
各光学ユニットに搭載される光学センサーの数は、その機能の種類に応じて異なり、したがって緯糸供給装置のコストにも影響する。基本的な光学ユニットは、最もシンプルな操作に適した最小構成を採用し、入口センサーTと出口センサーSの2つのセンサーのみを使用する。一方、最も先進的な技術を搭載した光学ユニットは、上記で説明した4種類の光学センサーすべてを装備している。 すなわち、TとSのセンサーに加え、2つ目の出口センサーZと予備検証用光学センサーRも搭載する。
【0007】
組み立てと接続の利便性と容易さを考慮し、光学ユニットPは通常、電磁石群Eと一緒に組み立てられる。しかし、この光学ユニットとELM群の一緒の組み立ては、これまで実質的に異なる2つの実施形態を採用してきた。第1の実施形態では、実際、光学ユニットPは自立型であり、電磁石群Eの外側に搭載されている。一方、第2の実施形態では、光学ユニットPは電磁石群Eの内側に搭載され、すなわち、ELM群が収納されている同じ金属製カップ形状の殻状体11内に封入され、機械的および電気的にELM群と接続されている。
【0008】
第1の実施形態では、電磁石群Eは、各光学センサーのケーブルの組み立てと通過のための適切な場所を備えており、これらの場所は、各光学センサーの特定の検証機能に対応して、ELM群のカップ状殻状体11の外部表面の適切な領域に配置されている。この第1の解決策では、光学センサーは通常、伝統的な電子部品(いわゆる「スルーホール」で、手動でハンダ付けされ、その後樹脂ブロックに封入される)から構成されている。この第1の実施形態の利点は、光学ユニットがELM群から完全に独立しているため、関連するメンテナンス、テスト、交換が簡単で迅速かつ経済的な作業である点にある。さらに、製造時において、これらの光学ユニットはELM群への組み立て前に個別にテスト可能である。しかし、このような利点にもかかわらず、上記で説明した最初の実施例は、使用される部品が大型であるため、その設置と関連配線に十分なスペースを要するという欠点を有する。したがって、上記で説明した4種類の光学センサーをすべて装備した緯糸供給装置を製造することは非常に困難であり、この技術的解決策は通常、基本光学センサーTとSのみを備えた緯糸供給装置に限定される。さらに、ELM群を囲むカップ形状の殻状体11の外部表面に光学ユニットを装着することは、テキスタイル上の欠点を生じる。これは、光学ユニットがELM群のカップ形状の殻状体の外部表面の均一性を損なうため、緯糸が緯糸供給装置から緯糸を解放する際に、その緯糸供給装置中でもつれる可能性が大幅に増加するからである。
【0009】
第2の実施形態では、光学ユニットPは、プリント基板(PCB)への自動表面実装技術(SMT)に適した小型化された電子部品で構成されている。当該プリント基板には適切なダイアフラムと光学スクリーンが追加され、ELM群のカップ形状の殻状体11内に固定、樹脂封止、密封される。この第2の解決策の利点は、まず第一に、光学ユニットPと電磁石群Eのすべての部材が同じカップ形状の殻状体11内に封入されている点にある。これにより、殻状体11の外部表面はより清潔で均一になり、織物工学の観点から緯糸供給装置の動作が向上する。さらに、PCB上の小型化部品の使用とPCBをカップ形状の殻状体11内に挿入することで、上記で説明した4種類の光学センサー(TとSだけでなく、RとZも)を、カップ形状の殻状体11の適切な位置に形成された適切な窓を介して、コストの大幅な増加なしに実装することが可能になる。この第2の解決策の唯一の欠点は、第1の解決策の唯一の利点と完全に逆の点であり、光学ユニットPがカップ形状の殻状体に永久に組み込まれ、ELM群の他の部材と相互接続されているため、製造時に各部材を個別にテストできず、使用中に光学センサーの1つが故障した場合、光学ユニットPを含む全体パッケージの交換が必要となる点である。電磁石群Eおよび関連する保護用金属カップ形状の殻状体11を含む全体を交換する必要があり、これにより保守または交換コストに重大な影響を及ぼす。EP-3620561(同一の出願人名義)は、上記の第2の実施例に従って製造された光学ユニットを備えた緯糸供給装置を開示している。
【発明の概要】
【発明が解決しようとする課題】
【0010】
本発明が解決する技術的課題は、現在知られている2つの光学ユニットの形態の両方の利点を有しつつ、関連する欠点を伴わない織糸供給装置を製造することである。この光学ユニットは、電磁石群が収納されている同じカップ形状の殻状体内に配置されており、製造時に独立してテスト可能であり、電磁石群を巻き込むことを要することなく保守及び場合によっては交換が可能となるように設計されている。
(【0011】以降は省略されています)
この特許をJ-PlatPat(特許庁公式サイト)で参照する
関連特許
川端有限会社
織物
2か月前
東レ株式会社
炭素繊維織物
4か月前
東レ株式会社
織物および繊維製品
2か月前
山崎産業株式会社
織物及び拭布
17日前
東レ株式会社
織物およびシート表皮材
25日前
東レ・デュポン株式会社
交織織物
2か月前
東レ株式会社
織物および織物プリプレグ
26日前
帝人株式会社
織物および繊維製品
5か月前
帝人株式会社
布帛および繊維製品
5か月前
東レ株式会社
織物および織物の製造方法
4か月前
東レ株式会社
織編物、衣類及び織編物の製造方法
3か月前
帝人株式会社
高視認性難燃布帛および繊維製品
2日前
日清紡テキスタイル株式会社
高通気性ストレッチ織物
5か月前
株式会社豊田自動織機
エアジェット織機
4か月前
株式会社豊田自動織機
エアジェット織機
3か月前
個人
リバーシブル対応ダブルパイル仕立てのタオル生地
2か月前
帝人株式会社
熱履歴を検知できる布帛および繊維製品
2か月前
合名会社安田商店
内装織物および内装織物の製造方法
3か月前
トヨタ紡織株式会社
織物、表皮材及び内装部品
2か月前
株式会社豊田自動織機
エアジェット織機の緯入れ装置
3か月前
トヨタ紡織株式会社
織物、表皮材及び内装部品
2か月前
トヨタ紡織株式会社
織物、表皮材及び内装部品
2か月前
丸井織物株式会社
織物生地、織物製品、及び、織物生地の製造方法
4か月前
株式会社豊田自動織機
エアジェット織機における張力付与装置
3か月前
小杉織物株式会社
織物およびそれを用いた帯
5か月前
クラレトレーディング株式会社
立毛布帛およびその製造方法
2か月前
東レ株式会社
エアバッグ用織物およびエアバッグ用織物の製造方法ならびにエアバッグ
2か月前
東レ株式会社
織物およびその製造方法ならびにアルカリ水電解用隔膜、アルカリ水電解用電解槽
2か月前
株式会社ヒル・トップ・リラックス
織物、織物を用いた安全帯、スリングまたはラッシング
5か月前
旭化成株式会社
ガラスクロス、プリプレグ、及びプリント配線板
6日前
新興細巾織物株式会社
織物構造体の製造方法、製造システム、コンピュータプログラム、及び記録媒体
5か月前
日本電気硝子株式会社
補強用メッシュ巻回体
2か月前
倉敷紡績株式会社
制電性織物及び制電性衣服
2か月前
旭化成株式会社
ガラスクロス、プリプレグ、及びプリント配線板
5か月前
デヴァラージ ヴィクラム クリシュナ
超長パイル高さがある速乾タオルを生成する方法
5か月前
イテマ・ソチエタ・ペル・アツィオーニ
緯糸を保持するためのブラシ手段を備えたエア織機の主発射ノズル用の支持体
10日前
続きを見る
他の特許を見る