TOP
|
特許
|
意匠
|
商標
特許ウォッチ
Twitter
他の特許を見る
公開番号
2025133144
公報種別
公開特許公報(A)
公開日
2025-09-11
出願番号
2024030901
出願日
2024-03-01
発明の名称
電源推定装置、電源推定装置用コンピュータプログラムおよび電源推定方法
出願人
東芝エネルギーシステムズ株式会社
,
中部電力パワーグリッド株式会社
,
中部電力株式会社
代理人
個人
,
個人
,
個人
,
個人
主分類
H02J
3/00 20060101AFI20250904BHJP(電力の発電,変換,配電)
要約
【課題】電力系統から解列されることにより電力系統の過渡安定度が改善する電源をより精度よく推定する電源推定装置、方法及びプログラムを提供する。
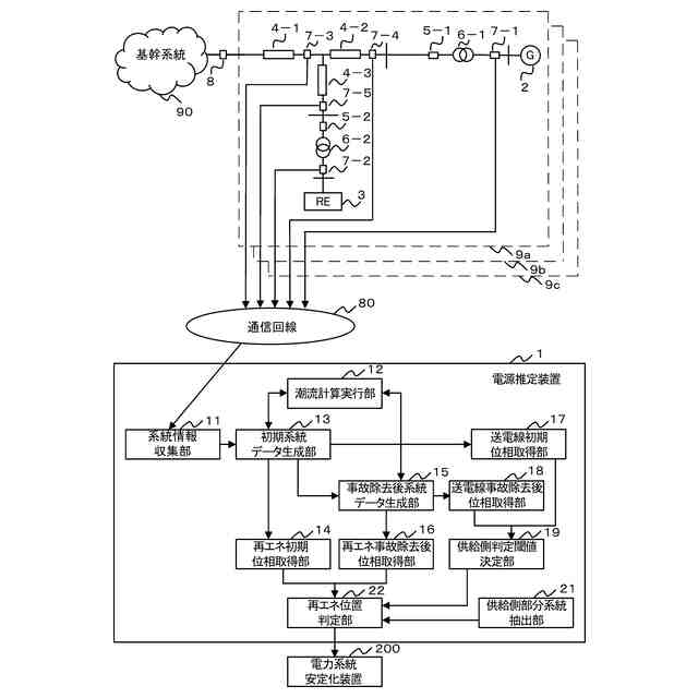
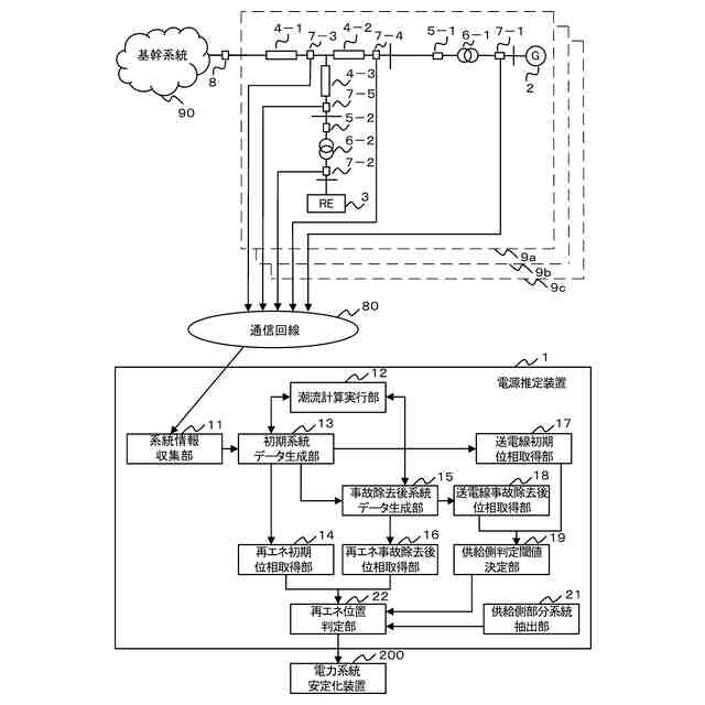
【解決手段】事前演算型の系統安定化システムにおいて、電源推定装置1は、電力を発電する発電機2及び再エネ電源3が接続された電力系統9a~9cの系統情報に基づき、無事故である場合の初期状態における系統データである初期系統データを作成する初期系統データ生成部13と、初期系統データ生成部13が作成した初期系統データに基づき、電力系統において発生すると想定される事故を除去した後の系統データである事故除去後系統データを作成する事故除去後系統データ生成部15と、前記初期系統データと、前記事故除去後系統データとの差分に基づき、電力系統から解列されることにより電力系統の過渡安定度が改善する再エネ電源を推定する再エネ位置判定部22と、を有する。
【選択図】図1
特許請求の範囲
【請求項1】
電力を発電する同期発電機、および再エネ電源が接続された電力系統の系統情報に基づき、無事故である場合の初期状態における系統データである初期系統データを、潮流計算により作成する初期系統データ生成部と、
前記初期系統データ生成部により作成された前記初期系統データに基づき、前記電力系統において発生すると想定される事故を除去した後の系統データである事故除去後系統データを、潮流計算により作成する事故除去後系統データ生成部と、
前記初期系統データ生成部により作成された前記初期系統データと、前記事故除去後系統データ生成部により作成された前記事故除去後系統データとの差分に基づき、前記電力系統から解列されることにより前記電力系統の過渡安定度が改善する前記再エネ電源を推定する再エネ位置判定部と、
を有する、電源推定装置。
続きを表示(約 2,000 文字)
【請求項2】
前記再エネ位置判定部は、前記再エネ電源の、
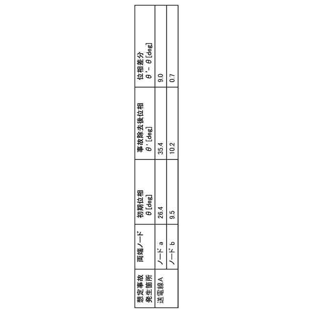
前記初期系統データ生成部により作成された前記初期系統データにかかる、無事故である場合の位相と、前記事故除去後系統データ生成部により作成された前記事故除去後系統データにかかる、想定される事故を除去した後の位相との差分が、設けられた閾値を超えている場合に、前記再エネ電源が前記電力系統から解列されることにより前記電力系統の過渡安定度が改善すると推定する、
請求項1に記載の電源推定装置。
【請求項3】
前記電力系統に配置された送電線における、想定される前記事故の発生箇所または想定される前記事故に起因して遮断される箇所を挟む位置にある、複数のノードそれぞれの、
前記初期系統データ生成部により作成された前記初期系統データにかかる、無事故である場合の位相と、前記事故除去後系統データ生成部により作成された前記事故除去後系統データにかかる、想定される事故を除去した後の位相との差分のうち、より小さい数値を、前記閾値として算出する供給側判定閾値決定部を有する、
請求項2に記載の電源推定装置。
【請求項4】
前記電力系統における、予め定められた電圧階級にかかる送電線を遮断した場合に構成される分離系統を抽出し、抽出した前記分離系統のうち脱調する前記同期発電機が含まれる前記分離系統を、前記電力系統から前記再エネ電源が解列されることにより前記電力系統の過渡安定度が改善する部分系統であると判断する供給側部分系統抽出部を有し、
前記再エネ位置判定部は、前記供給側部分系統抽出部により判断された前記部分系統における、前記電力系統から解列されることにより前記電力系統の過渡安定度が改善する再エネ電源を推定する、
請求項2に記載の電源推定装置。
【請求項5】
前記電力系統における、予め定められた電圧階級にかかる送電線を遮断した場合に構成される分離系統を抽出し、内部相差角、内部相差角偏差、角速度、角速度偏差のうち少なくとも一つが予め定められた規定値を超過する、または前記電力系統において、より大きい数値となる、前記同期発電機、または前記再エネ電源が含まれる前記分離系統を、前記電力系統から前記再エネ電源が解列されることにより前記電力系統の過渡安定度が改善する部分系統であると判断する供給側部分系統抽出部を有し、
前記再エネ位置判定部は、前記供給側部分系統抽出部により判断された前記部分系統における、前記電力系統から解列されることにより前記電力系統の過渡安定度が改善する再エネ電源を推定する、
請求項2に記載の電源推定装置。
【請求項6】
前記初期系統データ、前記事故除去後系統データは、交流法に基づく潮流計算、または直流法に基づく潮流計算により作成される、
請求項2に記載の電源推定装置。
【請求項7】
コンピュータに、
電力を発電する同期発電機、および再エネ電源が接続された電力系統の系統情報に基づき、無事故である場合の初期状態における系統データである初期系統データを、潮流計算により作成する初期系統データ生成ステップと、
前記初期系統データ生成ステップにより作成された前記初期系統データに基づき、前記電力系統において発生すると想定される事故を除去した後の系統データである事故除去後系統データを、潮流計算により作成する事故除去後系統データ生成ステップと、
前記初期系統データ生成ステップにより作成された前記初期系統データと、前記事故除去後系統データ生成ステップにより作成された前記事故除去後系統データとに基づき、前記電力系統から解列されることにより前記電力系統の過渡安定度が改善する前記再エネ電源を推定する再エネ位置判定ステップと、
を実行させる、電源推定装置用コンピュータプログラム。
【請求項8】
電力を発電する同期発電機、および再エネ電源が接続された電力系統の系統情報に基づき、無事故である場合の初期状態における系統データである初期系統データを、潮流計算により作成する初期系統データ生成手順と、
前記初期系統データ生成手順により作成された前記初期系統データに基づき、電力系統において発生すると想定される事故を除去した後の系統データである事故除去後系統データを、潮流計算により作成する事故除去後系統データ生成手順と、
前記初期系統データ生成手順により作成された前記初期系統データと、前記事故除去後系統データ生成手順により作成された前記事故除去後系統データとに基づき、前記電力系統から解列されることにより前記電力系統の過渡安定度が改善する前記再エネ電源を推定する再エネ位置判定手順と、
を有する、電源推定方法。
発明の詳細な説明
【技術分野】
【0001】
本実施形態は、電力系統から解列されることにより電力系統の過渡安定度が改善する電源の推定を行う電源推定装置、電源推定装置用コンピュータプログラムおよび電源推定方法に関する。
続きを表示(約 1,600 文字)
【背景技術】
【0002】
系統事故時の電力系統の過渡安定度を確保するため、電力系統に電力を供給する複数の発電機の制御を行う電力系統安定化装置が知られている。
【先行技術文献】
【特許文献】
【0003】
特開2020-096472号公報
特開平08-182199号公報
【発明の概要】
【発明が解決しようとする課題】
【0004】
近年、電力系統への再生可能エネルギー電源(以下、「再エネ電源」と呼ぶ場合がある)の導入が拡大している。従来の電力系統における主な電源は、同期発電機であった。再エネ電源は、同期発電機とは異なる動特性を有しているため、従来の電源とは異なるモデルが求められる場合がある。
【0005】
例えば、再エネ電源が電力系統において単独運転された場合、再エネ電源は、速やかに電力系統から解列されることが好ましい。また、電力系統において電圧、または周波数が規定の閾値を超えて変動した場合、機器を保護することを目的として、再エネ電源は、出力を抑制されること、または解列されることが好ましい。
【0006】
事前演算型の系統安定化システムは、電力系統の安定化を目的として設置されている。従来の、事前演算型の系統安定化システムは、系統に事故が発生した場合に対応した制御テーブルを作成するものが一般的であった。事前演算型の系統安定化システムは、事故発生前の電力系統の状態に基づき、想定事故が発生した場合の過渡安定度計算を行い、解列対象となる発電機を予め選択して制御テーブルを作成する。制御テーブルは、過渡安定度計算が、例えば30秒等の一定の周期で実行され作成される。
【0007】
安定化のために発電機を電力系統から解列する制御を、電源制限(以下「電制」と呼ぶ場合がある)と称する。実際に電力系統に事故が発生した場合に、制御テーブルから事故に対応した制御内容が選択され、速やかに電制が実施される。
【0008】
再エネ電源の導入が拡大した電力系統では、再エネ電源が解列されることにより電力系統の安定度が影響を受けることになる。このため、系統安定化システムは、より高精度なシミュレーションが行われることが好ましい。高精度なシミュレーションが行われるためには、過渡安定度計算を実行する際に、再エネ電源の解列や出力抑制に関わる動特性についても模擬することが好ましい。
【0009】
本実施形態は、同期発電機と再エネ電源の両者を含む電力系統を、より確実に安定させるために、電力系統から解列されることにより電力系統の過渡安定度が改善する電源をより精度よく推定する電源推定装置、電源推定装置用コンピュータプログラムおよび電源推定方法を提供することを目的とする。
【課題を解決するための手段】
【0010】
本実施形態の電源推定装置は、次のような特徴を有する。
(1)電力を発電する同期発電機、および再エネ電源が接続された電力系統の系統情報に基づき、無事故である場合の初期状態における系統データである初期系統データを、潮流計算により作成する初期系統データ生成部を有する。
(2)前記初期系統データ生成部により作成された前記初期系統データに基づき、前記電力系統において発生すると想定される事故を除去した後の系統データである事故除去後系統データを、潮流計算により作成する事故除去後系統データ生成部を有する。
(3)前記初期系統データ生成部により作成された前記初期系統データと、前記事故除去後系統データ生成部により作成された前記事故除去後系統データとの差分に基づき、前記電力系統から解列されることにより前記電力系統の過渡安定度が改善する前記再エネ電源を推定する再エネ位置判定部を有する。
【図面の簡単な説明】
(【0011】以降は省略されています)
特許ウォッチbot のツイートを見る
この特許をJ-PlatPat(特許庁公式サイト)で参照する
関連特許
個人
電源装置
13日前
個人
永久磁石モーター
29日前
個人
バッテリ内蔵直流電源
12日前
株式会社FUJI
制御盤
2日前
オムロン株式会社
電源回路
6日前
オムロン株式会社
電源回路
6日前
オムロン株式会社
電源回路
6日前
個人
移動体を用いる駐車場発電所
1か月前
トヨタ自動車株式会社
回転子
13日前
日産自動車株式会社
電子機器
23日前
エイブリック株式会社
バッテリ装置
1か月前
ニデック株式会社
モータの制御方法
20日前
井関農機株式会社
充電システム
23日前
東京応化工業株式会社
発電装置
6日前
トヨタ自動車株式会社
溶接装置
26日前
大豊工業株式会社
モータ
12日前
ミサワホーム株式会社
居住設備
2日前
株式会社リコー
拡張アンテナ装置
5日前
三菱ケミカル株式会社
電池
29日前
株式会社ダイヘン
移動装置
1か月前
トヨタ自動車株式会社
ロータ
今日
愛知電機株式会社
巻線方法および巻線装置
28日前
富士電子工業株式会社
電力変換装置
14日前
ユタカ電業株式会社
ケーブルダクト
2日前
株式会社正興電機製作所
地絡確認装置
5日前
NTN株式会社
モータユニット
2日前
株式会社ダイヘン
電力管理装置
21日前
株式会社ミツバ
巻線装置
5日前
株式会社ダイヘン
電力変換装置
28日前
株式会社アイシン
直流回転電機
26日前
志幸技研工業株式会社
ケーブル布設工法
12日前
株式会社ダイヘン
変換装置集積体
28日前
カヤバ株式会社
アクチュエータユニット
12日前
住友電装株式会社
ワイヤハーネス
22日前
株式会社豊田自動織機
車両用機器
2日前
株式会社アイシン
駆動装置
今日
続きを見る
他の特許を見る