TOP
|
特許
|
意匠
|
商標
特許ウォッチ
Twitter
他の特許を見る
公開番号
2025133350
公報種別
公開特許公報(A)
公開日
2025-09-11
出願番号
2024031248
出願日
2024-03-01
発明の名称
研削装置及び研削装置のメンテナンス方法
出願人
株式会社ディスコ
代理人
弁理士法人愛宕綜合特許事務所
主分類
B24B
55/06 20060101AFI20250904BHJP(研削;研磨)
要約
【課題】研削ホイールによってチャックテーブルの保持面を研削する平坦化作業の頻度を低減し、研削装置の稼働率を向上させることができる研削装置を提供する。
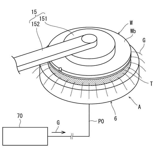
【解決手段】ウエーハを吸引保持するチャックテーブル6と、チャックテーブル6に保持されたウエーハを研削する研削砥石を環状に配設した研削ホイールを回転可能に装着した研削手段と、チャックテーブル6に保持されたウエーハと研削砥石との接触領域に研削水を供給する研削水供給手段と、を含み、チャックテーブル6は、ウエーハを吸引保持する保持面を有するポーラス板6aと、ポーラス板6aの保持面を囲繞する枠体6bと、枠体6bに連通し、ポーラス板6aの保持面に吸引力を生成する吸引手段80と、枠体6bに連通しポーラス板6aの保持面に流体を噴出させる流体供給手段70と、を含み構成され、流体供給手段70は、界面活性剤、分散剤のいずれか、又は界面活性剤及び分散剤を含む洗浄液Gをポーラス板6aの保持面から噴出させる。
【選択図】図2
特許請求の範囲
【請求項1】
ウエーハを研削する研削装置であって、
ウエーハを吸引保持するチャックテーブルと、該チャックテーブルに保持されたウエーハを研削する研削砥石を環状に配設した研削ホイールを回転可能に装着した研削手段と、
該チャックテーブルに保持されたウエーハと研削砥石との接触領域に研削水を供給する研削水供給手段と、を含み、
該チャックテーブルは、ウエーハを吸引保持する保持面を有するポーラス板と、該ポーラス板の保持面を囲繞する枠体と、該枠体に連通し該ポーラス板の保持面に吸引力を生成する吸引手段と、該枠体に連通し該ポーラス板の保持面に流体を噴出させる流体供給手段と、を含み構成され、
該流体供給手段は、界面活性剤、分散剤のいずれか、又は界面活性剤及び分散剤を含む洗浄液を該ポーラス板の保持面から噴出させる研削装置。
続きを表示(約 860 文字)
【請求項2】
該流体供給手段は、水を供給して該ポーラス板の保持面から噴出させる水源を備え、該水源から供給される水に該洗浄液が混入している請求項1に記載の研削装置。
【請求項3】
該流体供給手段は、水を供給する水源と、該洗浄液を供給する洗浄液源と、該水源から供給される水と該洗浄液源から供給される該洗浄液とを混合する混合部と、を備える請求項1に記載の研削装置。
【請求項4】
該流体供給手段は、エアー供給源を含み、該ポーラス板の保持面にエアーを単体で噴出させるか、又は該流体供給手段から供給可能な他の流体と該エアーとを混合して該ポーラス板の保持面から噴出させる請求項1~3のいずれかに記載の研削装置。
【請求項5】
ウエーハを吸引保持するチャックテーブルと、該チャックテーブルに保持されたウエーハを研削する研削砥石を環状に配設した研削ホイールを回転可能に装着した研削手段と、該チャックテーブルに保持されたウエーハと研削砥石との接触領域に研削水を供給する研削水供給手段と、を含み構成された研削装置のメンテナンス方法であって、
該チャックテーブルは、ウエーハを吸引保持する保持面を有するポーラス板と、該ポーラス板の保持面を囲繞する枠体と、該枠体に連通し該ポーラス板の保持面に吸引力を生成する吸引手段と、該枠体に連通し、該ポーラス板の保持面に流体を噴出する流体供給手段と、を備え、
ウエーハを該チャックテーブルの保持面に載置して該吸引手段を作動してウエーハを保持する保持工程と、
該チャックテーブルに保持されたウエーハと研削砥石との接触領域に研削水を供給してウエーハを研削する研削工程と、
該研削工程が終了した後、該流体供給手段を作動して該ポーラス板の保持面に、界面活性剤、分散剤のいずれか、又は界面活性剤及び分散剤が混入した洗浄液を噴出させて洗浄し、研削屑をポーラス板から排除する洗浄工程と、を含み構成される研削装置のメンテナンス方法。
発明の詳細な説明
【技術分野】
【0001】
本発明は、ウエーハを研削する研削装置、及び研削装置のメンテナンス方法に関する。
続きを表示(約 2,100 文字)
【背景技術】
【0002】
IC、LSI等の複数のデバイスが分割予定ラインによって区画され表面に形成されたウエーハは、研削装置によって裏面が研削され、所定の厚みに形成された後、ダイシング装置によって個々のデバイスチップに分割され、携帯電話、パソコン等の電気機器に利用される。
【0003】
研削装置は、ウエーハを吸引保持するチャックテーブルと、該チャックテーブルに保持されたウエーハを研削する研削砥石を環状に配設した研削ホイールを回転可能に装着した研削手段と、該チャックテーブルに保持されたウエーハと研削砥石との接触領域に研削水を供給する研削水供給手段と、を含み構成されていて、ウエーハを高精度に所望の厚みに加工することができる。
【0004】
また、ウエーハを保持するチャックテーブルの保持面は、研削屑が混入した研削水を吸引し、保持面が汚れて吸引力の低下を招くと共に、吸引した研削屑によって保持面に凹凸が生じてウエーハの厚みを高精度に加工することが出来なくなることから、必要に応じて研削ホイールによってチャックテーブルの保持面を研削して平坦化している(例えば特許文献1を参照)。
【先行技術文献】
【特許文献】
【0005】
特開2008-114336号公報
【発明の概要】
【発明が解決しようとする課題】
【0006】
しかし、チャックテーブルの保持面を研削して平坦化する平坦化作業は、長時間を要し(例えば半日~1日)、平坦化作業を実施している間は、研削装置の稼働を停止しなければならず、研削装置の稼働率が低下して、生産性が悪化するという問題がある。
【0007】
本発明は、上記事実に鑑みなされたものであり、その主たる技術課題は、研削ホイールによってチャックテーブルの保持面を研削する平坦化作業の頻度を低減し、研削装置の稼働率を向上させることができる研削装置、及び研削装置のメンテナンス方法を提供することにある。
【課題を解決するための手段】
【0008】
上記主たる技術課題を解決するため、本発明によれば、ウエーハを研削する研削装置であって、ウエーハを吸引保持するチャックテーブルと、該チャックテーブルに保持されたウエーハを研削する研削砥石を環状に配設した研削ホイールを回転可能に装着した研削手段と、該チャックテーブルに保持されたウエーハと研削砥石との接触領域に研削水を供給する研削水供給手段と、を含み、該チャックテーブルは、ウエーハを吸引保持する保持面を有するポーラス板と、該ポーラス板の保持面を囲繞する枠体と、該枠体に連通し、該ポーラス板の保持面に吸引力を生成する吸引手段と、該枠体に連通し該ポーラス板の保持面に流体を噴出させる流体供給手段と、を含み構成され、該流体供給手段は、界面活性剤、分散剤のいずれか、又は界面活性剤及び分散剤を含む洗浄液を該ポーラス板の保持面から噴出させる研削装置が提供される。
【0009】
該流体供給手段は、水を供給して該ポーラス板の保持面から噴出させる水源を備え、該水源から供給される水に、該洗浄液が混入していることが好ましい。また、該流体供給手段は、水を供給する水源と、該洗浄液を供給する洗浄液源と、該水源から供給される水と、該洗浄液源から供給される該洗浄液を混合する混合部を備えることが好ましい。さらに、該流体供給手段は、エアー供給源を含み、該ポーラス板の保持面にエアーを単体で噴出させるか、又は該流体供給手段から供給可能な他の流体と該エアーとを混合して該ポーラス板の保持面から噴出させるようにしてもよい。
【0010】
また、本発明によれば、ウエーハを吸引保持するチャックテーブルと、該チャックテーブルに保持されたウエーハを研削する研削砥石を環状に配設した研削ホイールを回転可能に装着した研削手段と、該チャックテーブルに保持されたウエーハと研削砥石との接触領域に研削水を供給する研削水供給手段と、を含み構成された研削装置のメンテナンス方法であって、該チャックテーブルは、ウエーハを吸引保持する保持面を有するポーラス板と、該ポーラス板の保持面以外を囲繞する枠体と、該枠体に連通し該ポーラス板の保持面に吸引力を生成する吸引手段と、該枠体に連通し、該ポーラス板の保持面に流体を噴出する流体供給手段と、を備え、ウエーハを該チャックテーブルの保持面に載置して該吸引手段を作動してウエーハを保持する保持工程と、該チャックテーブルに保持されたウエーハと研削砥石との接触領域に研削水を供給してウエーハを研削する研削工程と、該研削工程が終了した後、該流体供給手段を作動して該ポーラス板の保持面に、界面活性剤、分散剤のいずれか、又は界面活性剤及び分散剤が混入した洗浄液を噴出させて洗浄し、研削屑をポーラス板から排除する洗浄工程と、を含み構成される研削装置のメンテナンス方法が提供される。
【発明の効果】
(【0011】以降は省略されています)
この特許をJ-PlatPat(特許庁公式サイト)で参照する
関連特許
株式会社ディスコ
ノズル
17日前
株式会社ディスコ
加工装置
1か月前
株式会社ディスコ
診断方法
7日前
株式会社ディスコ
フレーム
17日前
株式会社ディスコ
加工装置
17日前
株式会社ディスコ
加工装置
26日前
株式会社ディスコ
切削装置
10日前
株式会社ディスコ
加工方法
18日前
株式会社ディスコ
切削装置
17日前
株式会社ディスコ
研削装置
1か月前
株式会社ディスコ
加工装置
19日前
株式会社ディスコ
研磨装置
4日前
株式会社ディスコ
研削装置
3日前
株式会社ディスコ
搬送システム
3日前
株式会社ディスコ
ノズルユニット
7日前
株式会社ディスコ
加工水供給装置
10日前
株式会社ディスコ
シート貼着装置
18日前
株式会社ディスコ
接合強度検査方法
27日前
株式会社ディスコ
液体供給システム
17日前
株式会社ディスコ
チャックテーブル
27日前
株式会社ディスコ
ブレーキング装置
3日前
株式会社ディスコ
ドレッシング方法
1か月前
株式会社ディスコ
切削ブレード治具
7日前
株式会社ディスコ
被加工物の加工方法
17日前
株式会社ディスコ
ウェーハの製造方法
25日前
株式会社ディスコ
被加工物の加工方法
25日前
株式会社ディスコ
洗浄液供給システム
27日前
株式会社ディスコ
ウエーハの加工方法
28日前
株式会社ディスコ
洗浄装置及び洗浄方法
4日前
株式会社ディスコ
測定方法及び測定治具
1か月前
株式会社ディスコ
洗浄装置及び洗浄方法
1か月前
株式会社ディスコ
切削方法及び切削装置
25日前
株式会社ディスコ
搬送機構および搬送方法
4日前
株式会社ディスコ
積層ウェーハの加工方法
7日前
株式会社ディスコ
押圧試験装置の評価方法
17日前
株式会社ディスコ
異常予知方法及び加工装置
28日前
続きを見る
他の特許を見る