TOP
|
特許
|
意匠
|
商標
特許ウォッチ
Twitter
他の特許を見る
10個以上の画像は省略されています。
公開番号
2025134213
公報種別
公開特許公報(A)
公開日
2025-09-17
出願番号
2024031975
出願日
2024-03-04
発明の名称
静翼セグメント、及びこれを備える蒸気タービン
出願人
三菱重工業株式会社
代理人
個人
,
個人
,
個人
,
個人
,
個人
主分類
F01D
9/02 20060101AFI20250909BHJP(機械または機関一般;機関設備一般;蒸気機関)
要約
【課題】蒸気タービンのコンパクト化を図る。
【解決手段】静翼セグメントは、第一静翼列及び第二静翼列を含む複数の静翼列と、前記複数の静翼列を保持する翼環と、を備える。複数の静翼列が有する複数の静翼の外側シュラウドは、径方向内側を向くガスパス面と、周方向第一側を向く第一側面と、周方向第二側を向く第二側面と、を有する。前記第二静翼列が有する複数の前記外側シュラウドは、ドレン回収溝と、ドレン移送溝と、を有する。前記ドレン回収溝は、前記外側シュラウドの前記ガスパス面から径方向外側に向かって凹み前記周方向に延びる。前記ドレン移送溝は、前記ドレン回収溝と連通し、前記外側シュラウドの前記第一側面から前記周方向第二側に凹み、前記外側シュラウドの前記径方向外側の縁まで延びる。
【選択図】図3
特許請求の範囲
【請求項1】
第一静翼列及び第二静翼列を含む複数の静翼列と、
前記複数の静翼列を保持する翼環と、
を備え、
前記複数の静翼列は、軸線が延びる軸線方向に並び、
前記複数の静翼列は、いずれも、前記軸線に対する周方向に並ぶ複数の静翼を有し、
前記複数の静翼列のそれぞれが有する前記複数の静翼は、いずれも、前記軸線に対する径方向に延びる翼体と、前記翼体の前記径方向における径方向内側と径方向外側とのうちの径方向外側に設けられている外側シュラウドと、を有し、
前記外側シュラウドは、前記径方向内側を向くガスパス面と、前記周方向における周方向第一側と周方向第二側とのうち前記周方向第一側を向く第一側面と、前記周方向第二側を向く第二側面と、を有し、
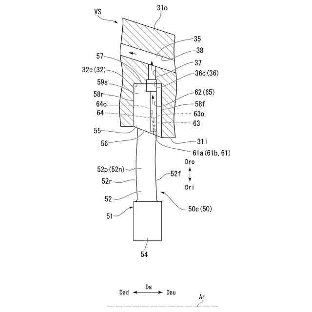
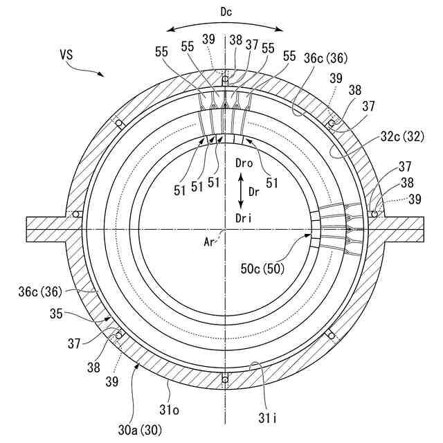
前記翼環は、前記軸線を中心として環状を成し、
前記翼環は、前記径方向内側を向く内周面と、前記径方向外側を向く外周面と、前記内周面から前記径方向外側に向かって凹み前記周方向に延びている前記複数の静翼列ごとの翼溝と、ドレン排出流路と、を有し、
前記第一静翼列が有する前記複数の静翼の前記外側シュラウドは、前記複数の静翼列ごとの翼溝のうち、第一翼溝に嵌り込み、
前記第二静翼列が有する前記複数の静翼の前記外側シュラウドは、前記複数の静翼列ごとの翼溝のうち、前記第一翼溝に対する、前記軸線方向における軸線上流側と軸線下流側とのうち前記軸線下流側に隣接している第二翼溝に嵌り込み、
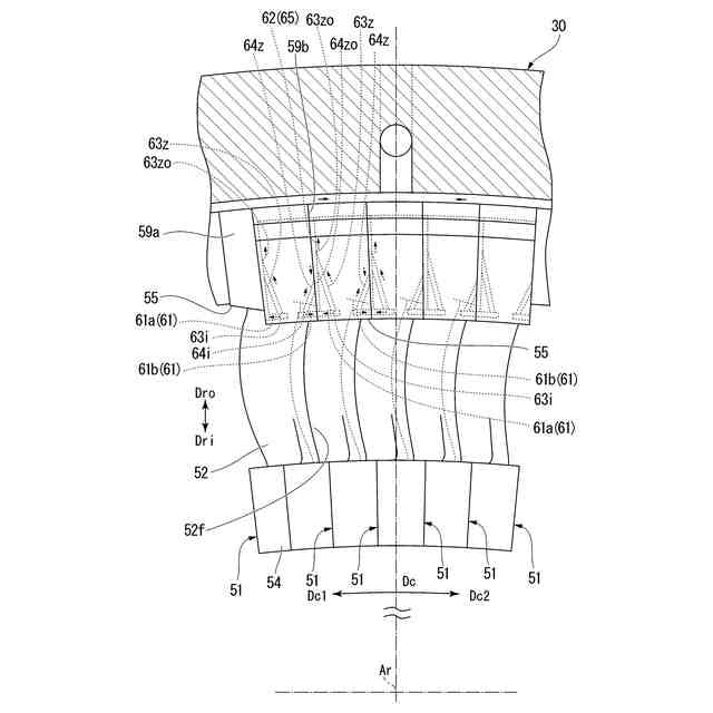
前記第二静翼列が有する前記複数の静翼の前記外側シュラウドは、いずれも、ドレン回収溝と、ドレン移送溝と、を有し、
前記ドレン回収溝は、前記外側シュラウドの前記ガスパス面から前記径方向外側に向かって凹み前記周方向に延び、
前記ドレン移送溝は、前記ドレン回収溝と連通し、前記外側シュラウドの前記第一側面から前記周方向第二側に凹み、前記外側シュラウドの前記径方向外側の縁まで延び、
前記翼環の前記ドレン排出流路は、前記第二静翼列が有する前記複数の静翼の前記外側シュラウドの前記ドレン移送溝に連通し、前記外周面で開口し、
前記第二静翼列が有する前記複数の静翼で、前記周方向で隣り合っている二つの静翼のうち、前記周方向第二側に位置する静翼の前記ドレン移送溝は、前記周方向第一側に位置する静翼の前記第二側面と共同して、前記ドレン回収溝からのドレンを前記ドレン排出流路に導くことができるドレン移送流路を形成し、
前記翼環の前記ドレン排出流路は、前記ドレン移送流路と連通し、前記ドレン移送流路からのドレンを前記翼環の外周側に排出可能である、
静翼セグメント。
続きを表示(約 2,000 文字)
【請求項2】
請求項1に記載の静翼セグメントにおいて、
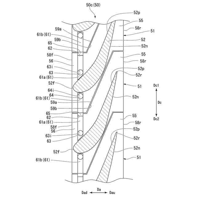
前記ドレン回収溝は、前記外側シュラウド中で、前記翼体の前記軸線方向における中間位置よりも前記軸線上流側に配置されている、
静翼セグメント。
【請求項3】
請求項1に記載の静翼セグメントにおいて、
前記ドレン移送溝中で前記外側シュラウドの前記径方向外側の縁における溝幅は、前記ドレン移送溝中で前記ドレン回収溝と連通している位置での溝幅より広い、
静翼セグメント。
【請求項4】
請求項1に記載の静翼セグメントにおいて、
前記第二静翼列が有する前記複数の静翼の前記外側シュラウドは、いずれも、第一側補助移送流路を有し、
前記第二静翼列が有する前記複数の静翼の前記外側シュラウドにおける前記ドレン回収溝は、いずれも、前記翼体を基準にして前記周方向第一側に位置する第一ドレン回収溝を有し、
前記第一側補助移送流路は、前記第一ドレン回収溝を画定する面で開口している入口と、前記ドレン移送溝を画定する面で開口している出口と、を有し、前記第一ドレン回収溝内のドレンを前記ドレン移送溝内に導くことが可能ある、
静翼セグメント。
【請求項5】
請求項1に記載の静翼セグメントにおいて、
前記第二静翼列が有する前記複数の静翼の前記外側シュラウドは、いずれも、第二側補助移送流路を有し、
前記第二静翼列が有する前記複数の静翼の前記外側シュラウドにおける前記ドレン回収溝は、いずれも、前記翼体を基準にして前記周方向第二側に位置する第二ドレン回収溝を有し、
前記第二側補助移送流路は、前記第二ドレン回収溝を画定する面で開口している入口と、前記第二側面中で前記ドレン移送溝が存在する前記軸線方向の位置で開口している出口と、を有し、前記第二ドレン回収溝内のドレンを前記第二側面上に導くことが可能である、
静翼セグメント。
【請求項6】
請求項1に記載の静翼セグメントにおいて、
前記第二静翼列が有する前記複数の静翼の前記外側シュラウドは、いずれも、第一側補助移送流路と、第二側補助移送流路と、を有し、
前記第二静翼列が有する前記複数の静翼の前記外側シュラウドにおける前記ドレン回収溝は、いずれも、前記翼体を基準にして前記周方向第一側に位置する第一ドレン回収溝と、前記翼体を基準にして前記周方向第二側に位置する第二ドレン回収溝と、を有し、
前記第一側補助移送流路は、前記第一ドレン回収溝を画定する面で開口している入口と、前記ドレン移送溝を画定する面で開口している出口と、を有し、前記第一ドレン回収溝内のドレンを前記ドレン移送溝内に導くことが可能あり、
前記第二側補助移送流路は、前記第二ドレン回収溝を画定する面で開口している入口と、前記第二側面中で前記ドレン移送溝が存在する前記軸線方向の位置で開口している出口と、を有し、前記第二ドレン回収溝内のドレンを前記第二側面上に導くことが可能である、
静翼セグメント。
【請求項7】
請求項6に記載の静翼セグメントにおいて、
前記翼体は、前記周方向第一側と前記周方向第二側とのうちの一方側を向き且つ他方側に凹んでいる正圧面と、前記正圧面に対して背合わせの関係を成し、前記他方側を向き前記他方側に突出している負圧面と、を有し、
前記第一側補助移送流路と前記第二側補助移送流路とのうち、前記一方側に位置する補助移送流路の出口は、前記他方側に位置する補助移送流路の出口より、前記径方向内側に位置する、
静翼セグメント。
【請求項8】
請求項6に記載の静翼セグメントにおいて、
前記第二ドレン回収溝は、前記第一ドレン回収溝とつながっている、
静翼セグメント。
【請求項9】
請求項8に記載の静翼セグメントにおいて、
前記第一側補助移送流路の入口における圧力が前記第二側補助移送流路の入口における圧力より高い場合、前記第一側補助移送流路の出口は、前記第二側補助移送流路の出口より前記径方向内側に位置し、
前記第二側補助移送流路の入口における圧力が前記第一側補助移送流路の入口における圧力より高い場合、前記第二側補助移送流路の出口は、前記第一側補助移送流路の出口より前記径方向内側に位置する、
静翼セグメント。
【請求項10】
請求項4に記載の静翼セグメントにおいて、
前記ドレン移送流路の流路断面積は、前記第一側補助移送流路の流路断面積より大きい、
静翼セグメント。
(【請求項11】以降は省略されています)
発明の詳細な説明
【技術分野】
【0001】
本開示は、複数の静翼を有する静翼セグメント、この静翼セグメントを備える蒸気タービンに関する。
続きを表示(約 2,500 文字)
【背景技術】
【0002】
蒸気タービンは、ロータと、複数の静翼列と、これらを覆うタービンケーシングと、を備える。
【0003】
ロータは、軸線を中心として回転可能なロータ軸と、軸線が延びる軸線方向に並んでロータ軸に取り付けられている複数の動翼列と、を有する。複数の動翼列は、軸線方向に並んでいる。また、複数の静翼列も軸線方向に並んでいる。複数の静翼列のそれぞれは、複数の動翼列のうちいずれか一の動翼列の軸線上流側に配置されている。
【0004】
蒸気タービン内の蒸気流路中に蒸気のドレンが存在すると、このドレンによる湿り損失が生じるため、例えば、以下の特許文献1に開示されている蒸気タービンは、このドレンを排出する構造を有する。
【0005】
この蒸気タービンは、複数の静翼列のうちの一の静翼列を保持する一の外輪と、この一の静翼列の軸線上流側に隣接する一の静翼列を保持する上流側外輪と、を有する。軸線方向で、一の外輪と上流側外輪との間には隙間があり、この隙間が蒸気流路中のドレンを二つの外輪の外周側に排出するためのドレン排出流路を形成している。
【先行技術文献】
【特許文献】
【0006】
特開平06-123202号公報
【発明の概要】
【発明が解決しようとする課題】
【0007】
蒸気タービンでは、蒸気タービンの性能を維持しつつも、そのコンパクト化が求められている。
【0008】
そこで、本開示は、蒸気タービンの性能を維持しつつも、そのコンパクト化を図ることができる技術を提供することを目的とする。
【課題を解決するための手段】
【0009】
前記目的を達成するための開示に係る一態様の静翼セグメントは、
第一静翼列及び第二静翼列を含む複数の静翼列と、前記複数の静翼列を保持する翼環と、を備える。前記複数の静翼列は、軸線が延びる軸線方向に並んでいる。前記複数の静翼列は、いずれも、前記軸線に対する周方向に並ぶ複数の静翼を有する。 前記複数の静翼列のそれぞれが有する前記複数の静翼は、いずれも、前記軸線に対する径方向に延びる翼体と、前記翼体の前記径方向における径方向内側と径方向外側とのうちの径方向外側に設けられている外側シュラウドと、を有する。前記外側シュラウドは、前記径方向内側を向くガスパス面と、前記周方向における周方向第一側と周方向第二側とのうち前記周方向第一側を向く第一側面と、前記周方向第二側を向く第二側面と、を有する。前記翼環は、前記軸線を中心として環状を成す。前記翼環は、前記径方向内側を向く内周面と、前記径方向外側を向く外周面と、前記内周面から前記径方向外側に向かって凹み前記周方向に延びている前記複数の動翼列ごとの翼溝と、ドレン排出流路と、を有する。前記第一静翼列が有する前記複数の静翼の前記外側シュラウドは、前記複数の動翼列ごとの翼溝のうち、第一翼溝に嵌り込んでいる。前記第二静翼列が有する前記複数の静翼の前記外側シュラウドは、前記複数の動翼列ごとの翼溝のうち、前記第一翼溝に対する、前記軸線方向における軸線上流側と軸線下流側とのうち前記軸線下流側に隣接している第二翼溝に嵌り込んでいる。前記第二静翼列が有する前記複数の静翼の前記外側シュラウドは、いずれも、ドレン回収溝と、ドレン移送溝と、を有する。前記ドレン回収溝は、前記外側シュラウドの前記ガスパス面から前記径方向外側に向かって凹み前記周方向に延びている。前記ドレン移送溝は、前記ドレン回収溝と連通し、前記外側シュラウドの前記第一側面から前記周方向第二側に凹み、前記外側シュラウドの前記径方向外側の縁まで延びている。前記翼環の前記ドレン排出流路は、前記第二静翼列が有する前記複数の静翼の前記外側シュラウドの前記ドレン移送溝に連通し、前記外周面で開口している。前記第二静翼列が有する前記複数の静翼で、前記周方向で隣り合っている二つの静翼のうち、前記周方向第二側に位置する静翼の前記ドレン移送溝は、前記周方向第一側に位置する静翼の前記第二側面と共同して、前記ドレン回収溝からのドレンを前記ドレン排出流路に導くことができるドレン移送流路を形成する。前記翼環の前記ドレン排出流路は、前記ドレン移送流路と連通し、前記ドレン移送流路からのドレンを翼環の外周側に排出可能である。
【0010】
本態様における静翼セグメントでは、第二静翼列の軸線上流側に隣接する動翼列を通過したドレンの一部を、この第二静翼列が有する複数の静翼ごとのドレン回収溝で捕捉することができる。ドレン回収溝内のドレンの一部は、このドレン回収溝内を周方向第一側に流れ、ドレン回収溝内のドレンの他の一部は、このドレン回収溝内を周方向第二側に流れる。ドレン回収溝内を周方向第一側に流れたドレンは、このドレン回収溝の周方向第一側の端に接続しているドレン移送流路に流入し、ドレン回収溝内を周方向第二側に流れたドレンは、このドレン回収溝の周方向第二側の端に接続しているドレン移送流路に流入する。なお、ドレン回収溝の周方向第一側の端に接続しているドレン移送流路は、このドレン回収溝が形成されている外側シュラウドの第一側面に形成されているドレン移送溝と、この外側シュラウドの周方向第一側に隣接している外側シュラウドの第二側面とで形成される流路である。また、ドレン回収溝の周方向第二側の端に接続しているドレン移送流路は、このドレン回収溝が形成されている外側シュラウドの第二側面と、この外側シュラウドの周方向第二側に隣接している外側シュラウドの第一側面に形成されているドレン移送溝とで形成される流路である。各ドレン移送流路内に流入したドレンは、各ドレン移送流路内を径方向外側に向かって流れて、翼環のドレン排出流路に流入する。このドレン排出流路に流入したドレンは、翼環の外周側に排出される。
(【0011】以降は省略されています)
この特許をJ-PlatPat(特許庁公式サイト)で参照する
関連特許
三菱重工業株式会社
容器解体装置
2日前
三菱重工業株式会社
排熱回収システム
21日前
三菱重工業株式会社
炉内構造物の解体方法
2日前
三菱重工業株式会社
造形プロセスの監視方法
6日前
三菱重工業株式会社
ウエハステージ冷却システム
6日前
三菱重工業株式会社
水素供給システムおよび方法
2日前
三菱重工業株式会社
計測装置、及び積層造形装置
20日前
三菱重工業株式会社
計測装置、及び積層造形装置
20日前
三菱重工業株式会社
排気設備、及びこれを備えるガスタービン
今日
三菱重工業株式会社
アンモニア分解触媒および排ガス処理方法
21日前
三菱重工業株式会社
ガスタービン起動方法、及び、ガスタービン
12日前
三菱重工業株式会社
除去装置、除去装置の制御装置および除去方法
2日前
三菱重工業株式会社
静翼セグメント、及びこれを備える蒸気タービン
14日前
三菱重工業株式会社
液滴噴霧ユニット、および、蒸気タービンシステム
6日前
三菱重工業株式会社
弁装置及び固体燃料粉砕装置並びに弁装置の運転方法
21日前
三菱重工業株式会社
治具モデル作成装置、治具モデル作成方法及びプログラム
20日前
三菱重工業株式会社
圧縮機静翼、これを備える圧縮機、及びガスタービン設備
21日前
三菱重工業株式会社
スピレージホッパ及び粉砕機並びにスピレージホッパの運転方法
5日前
三菱重工業株式会社
電解装置の運転方法、電解装置の制御装置、および電解システム
21日前
三菱重工業株式会社
電解装置、電解装置の制御方法および電解装置の制御プログラム
21日前
三菱重工業株式会社
予備品保有数量算出装置、予備品保有数量算出方法及びプログラム
2日前
三菱重工業株式会社
水電解システム、水電解システムにおける水電解セルの差圧調整方法
2日前
三菱重工業株式会社
メタン酸化触媒装置の換気システム及びメタン酸化触媒装置の換気方法
21日前
三菱重工業株式会社
故障診断システム、故障診断方法、及び故障診断プログラム並びに移動体
6日前
三菱重工業株式会社
ガスケット接続部信頼性評価システム、ガスケット接続部信頼性評価方法及びプログラム
12日前
三菱重工業株式会社
ボイラの制御装置、これを備えたボイラシステム、ボイラの制御方法及びボイラの制御プログラム
21日前
株式会社三五
消音器
23日前
個人
ジェットエンジンタービン羽根
21日前
株式会社三五
排気装置
28日前
ダイハツ工業株式会社
冷却装置
1か月前
トヨタ自動車株式会社
車両
21日前
株式会社クボタ
トラクタ
1か月前
スズキ株式会社
排気装置
22日前
スズキ株式会社
排気装置
22日前
ダイハツ工業株式会社
内燃機関
23日前
トヨタ自動車株式会社
エンジンシステム
20日前
続きを見る
他の特許を見る