TOP
|
特許
|
意匠
|
商標
特許ウォッチ
Twitter
他の特許を見る
10個以上の画像は省略されています。
公開番号
2025134392
公報種別
公開特許公報(A)
公開日
2025-09-17
出願番号
2024032273
出願日
2024-03-04
発明の名称
学習モデル生成装置、推定システム、学習モデル生成方法、及びプログラム
出願人
旭化成株式会社
代理人
弁理士法人RYUKA国際特許事務所
主分類
G06N
20/00 20190101AFI20250909BHJP(計算;計数)
要約
【課題】センサの検出結果を示す信号に基づいて対象物の特性を推定する場合に、推定結果を出力するまでの時間を短縮する学習モデルを提供する。
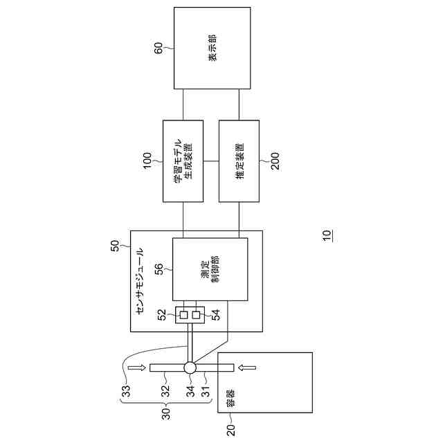
【解決手段】学習モデル生成装置100において、制御部は、センサが、対象物に曝されていない第1状態から、対象物に曝される第2状態に切り替わってから、再び第2状態から第1状態に切り替わるまでの検出期間に、センサから出力される信号の波形の特徴量に基づいて、対象物の特性を推定する学習モデルを生成する生成部と、学習モデルを生成する前に信号に対して前処理を行う前処理部と、を備える。前処理部は、学習モデルの教師データとして利用する信号の対象期間を検出期間内で設定する設定部と、設定した対象期間の信号を検出期間の信号からクリップするクリップ部とを有し、生成部は、対象期間の信号の波形の特徴量を説明変数として、対象物の特性を目的変数として機械学習することで、学習モデルを生成する。
【選択図】図5
特許請求の範囲
【請求項1】
対象物から発生する少なくとも1つの物質に反応して物理的に変化し、物理的な変化に応じた信号を出力する感応部を有するセンサが、対象物に曝されていない第1状態から、前記対象物に曝される第2状態に切り替わってから、再び前記第2状態から前記第1状態に切り替わるまでの検出期間において、前記センサから出力される信号の波形の特徴量に基づいて、前記対象物の特性を推定する学習モデルを生成する生成部と、
前記学習モデルを生成する前に前記信号に対して前処理を行う前処理部と
を備え、
前記前処理部は、
前記学習モデルの教師データとして利用する信号の対象期間を前記検出期間内で設定する設定部と、
設定された前記対象期間の信号を前記検出期間の前記信号からクリップするクリップ部と
を有し、
前記生成部は、前記対象期間の信号の波形の特徴量を説明変数、前記対象物の特性を目的変数として機械学習することで、前記学習モデルを生成する、学習モデル生成装置。
続きを表示(約 1,900 文字)
【請求項2】
前記学習モデルの教師データとして利用する信号の対象期間の入力を受け付ける期間受付部をさらに備え、
前記設定部は、前記期間受付部で受け付けられた前記対象期間に基づいて、前記学習モデルの教師データとして利用する信号の対象期間を設定する、請求項1に記載の学習モデル生成装置。
【請求項3】
前記前処理部は、
学習モデルに要求する信頼度を受け付ける信頼度受付部と、
前記生成部により生成された前記学習モデルの信頼度を導出する導出部と、
前記設定部に候補の対象期間を設定させ、前記クリップ部に前記候補の対象期間の前記信号をクリップさせ、前記生成部に前記候補の対象期間の信号の波形の特徴量を説明変数、前記対象物の特性を目的変数として機械学習させることで候補の学習モデルを生成させる生成処理を実行し、さらに、前記導出部に前記候補の学習モデルの信頼度を導出させ、前記信頼度受付部で受け付けられた前記信頼度と、前記候補の学習モデルの前記信頼度とに基づいて前記候補の学習モデルを利用対象の学習モデルとするか決定する決定部と
をさらに有する、請求項1に記載の学習モデル生成装置。
【請求項4】
前記決定部は、前記候補の学習モデルの前記信頼度が前記信頼度受付部で受け付けられた前記信頼度以上である場合、前記候補の学習モデルを利用対象の学習モデルと決定し、
前記決定部は、前記候補の学習モデルの前記信頼度が前記信頼度受付部で受け付けられた前記信頼度より低い場合、前記設定部に前回の前記候補の対象期間より長い新たな候補の対象期間を設定させ、前記新たな候補の対象期間について前記生成処理を実行することで、前記生成部に新たな候補の学習モデルを生成させ、さらに前記導出部に前記新たな候補の学習モデルの信頼度を導出させ、前記新たな候補の学習モデルの前記信頼度が前記信頼度受付部で受け付けられた前記信頼度以上である場合、前記新たな候補の学習モデルを利用対象の学習モデルと決定する、請求項3に記載の学習モデル生成装置。
【請求項5】
前記決定部は、前記設定部に複数の候補の対象期間を設定させ、前記複数の候補の対象期間について前記生成処理を実行することで、前記生成部に複数の候補の学習モデルを生成させ、さらに、前記導出部に前記複数の候補の学習モデルの信頼度を導出させ、前記複数の候補の学習モデルのうち、前記信頼度受付部で受け付けられた前記信頼度を満たし、かつ対象期間が最短の候補の学習モデルを前記利用対象の学習モデルと決定する、請求項3に記載の学習モデル生成装置。
【請求項6】
前記前処理部は、
前記生成部により生成された前記学習モデルの信頼度を導出する導出部と、
前記設定部に候補の対象期間を設定させ、前記クリップ部に前記候補の対象期間の前記信号をクリップさせ、前記生成部に前記候補の対象期間の信号の波形の特徴量を説明変数、前記対象物の特性を目的変数として機械学習させることで候補の学習モデルを生成させる生成処理を複数の候補の対象期間について実行することで、前記生成部に複数の候補学習モデルを生成させ、前記複数の候補の学習モデルのそれぞれの対象期間及び信頼度の組み合わせを提示する提示部と、
前記提示部により提示されたそれぞれの前記対象期間及び前記信頼度の組み合わせの中から利用対象の学習モデルとする対象期間及び信頼度の組み合わせの選択を受け付ける選択受付部と
をさらに有する、請求項1に記載の学習モデル生成装置。
【請求項7】
前記前処理部は、
推定対象の候補の特性を受け付ける特性受付部をさらに有し、
前記生成部は、前記センサから出力される信号の波形の特徴量を説明変数、複数の候補の特性のそれぞれを目的変数として、前記センサから出力される信号の波形の特徴量に基づいて前記特性受付部で受け付けられた複数の候補の特性の中から前記対象物の特性を推定する前記学習モデルを生成する、請求項1に記載の学習モデル生成装置。
【請求項8】
前記対象物の特性は、物質の種類及び物質の状態の少なくとも一方である、請求項1に記載の学習モデル生成装置。
【請求項9】
前記感応部は、前記少なくとも1つの物質が吸着し、内部に拡散することで変形する感応膜を含む、請求項1に記載の学習モデル生成装置。
【請求項10】
前記感応膜は、有機無機ハイブリッド材料を含む、請求項9に記載の学習モデル生成装置。
(【請求項11】以降は省略されています)
発明の詳細な説明
【技術分野】
【0001】
本発明は、学習モデル生成装置、推定システム、学習モデル生成方法、及びプログラムに関する。
続きを表示(約 2,500 文字)
【背景技術】
【0002】
特許文献1には、検索物名詞、検索物形容詞および検索物数値を組合せデータと照合し、組合せデータに基づいて、検索物形容詞および検索物数値の香りの品質を示す検索物名詞を有する物体を特定することが記載されている。特許文献2には、特定の推定対象の値が既知の複数の試料に対する化学センサからの出力から、推定対象の値とそれに対応する出力との関係を機械学習することが記載されている。
[先行技術文献]
[特許文献]
[特許文献1] 特許第7074365号
[特許文献2] 特許第6663151号
【発明の概要】
【発明が解決しようとする課題】
【0003】
センサの検出結果を示す信号に基づいて対象物の特性を推定する場合に、推定結果の信頼度が所望の信頼度を満たしつつ、推定結果が出力されるまでの時間を短縮することが可能な学習モデルを提供することが望まれている。
【課題を解決するための手段】
【0004】
本発明の一態様に係る学習モデル生成装置は、対象物から発生する少なくとも1つの物質に反応して物理的に変化し、物理的な変化に応じた信号を出力する感応部を有するセンサが、対象物に曝されていない第1状態から、前記対象物に曝される第2状態に切り替わってから、再び前記第2状態から前記第1状態に切り替わるまでの検出期間において、前記センサから出力される信号の波形の特徴量に基づいて、前記対象物の特性を推定する学習モデルを生成する生成部を備えてよい。前記学習モデル生成装置は、前記学習モデルを生成する前に前記信号に対して前処理を行う前処理部を備えてよい。前記前処理部は、前記学習モデルの教師データとして利用する信号の対象期間を前記検出期間内で設定する設定部を有してよい、前記前処理部は、設定された前記対象期間の信号を前記検出期間の前記信号からクリップするクリップ部を有してよい。前記生成部は、前記対象期間の信号の波形の特徴量を説明変数、前記対象物の特性を目的変数として機械学習することで、前記学習モデルを生成してよい。
【0005】
前記学習モデル生成装置は、前記学習モデルの教師データとして利用する信号の対象期間の入力を受け付ける期間受付部をさらに備えてよい。前記設定部は、前記期間受付部で受け付けられた前記対象期間に基づいて、前記学習モデルの教師データとして利用する信号の対象期間を設定してよい。
【0006】
いずれかの前記学習モデル生成装置において、前記前処理部は、学習モデルに要求する信頼度を受け付ける信頼度受付部を有してよい。前記前処理部は、前記生成部により生成された前記学習モデルの信頼度を導出する導出部を有してよい。前記前処理部は、前記設定部に候補の対象期間を設定させ、前記クリップ部に前記候補の対象期間の前記信号をクリップさせ、前記生成部に前記候補の対象期間の信号の波形の特徴量を説明変数、前記対象物の特性を目的変数として機械学習させることで候補の学習モデルを生成させる生成処理を実行し、さらに、前記導出部に前記候補の学習モデルの信頼度を導出させ、前記信頼度受付部で受け付けられた前記信頼度と、前記候補の学習モデルの前記信頼度とに基づいて前記候補の学習モデルを利用対象の学習モデルとするか決定する決定部を有してよい。
【0007】
いずれかの前記学習モデル生成装置において、前記決定部は、前記候補の学習モデルの前記信頼度が前記信頼度受付部で受け付けられた前記信頼度以上である場合、前記候補の学習モデルを利用対象の学習モデルと決定してよい。
【0008】
いずれかの前記学習モデル生成装置において、前記決定部は、前記候補の学習モデルの前記信頼度が前記信頼度受付部で受け付けられた前記信頼度より低い場合、前記設定部に前回の前記候補の対象期間より長い新たな候補の対象期間を設定させ、前記新たな候補の対象期間について前記生成処理を実行することで、前記生成部に新たな候補の学習モデルを生成させ、さらに前記導出部に前記新たな候補の学習モデルの信頼度を導出させ、前記新たな候補の学習モデルの前記信頼度が前記信頼度受付部で受け付けられた前記信頼度以上である場合、前記新たな候補の学習モデルを利用対象の学習モデルと決定してよい。
【0009】
いずれかの前記学習モデル生成装置において、前記決定部は、前記設定部に複数の候補の対象期間を設定させ、前記複数の候補の対象期間について前記生成処理を実行することで、前記生成部に複数の候補の学習モデルを生成させ、さらに、前記導出部に前記複数の候補の学習モデルの信頼度を導出させ、前記複数の候補の学習モデルのうち、前記信頼度受付部で受け付けられた前記信頼度を満たし、かつ対象期間が最短の候補の学習モデルを前記利用対象の学習モデルと決定してよい。
【0010】
いずれかの前記学習モデル生成装置において、前記前処理部は、前記生成部により生成された前記学習モデルの信頼度を導出する導出部を有してよい。前記前処理部は、前記設定部に候補の対象期間を設定させ、前記クリップ部に前記候補の対象期間の前記信号をクリップさせ、前記生成部に前記候補の対象期間の信号の波形の特徴量を説明変数、前記対象物の特性を目的変数として機械学習させることで候補の学習モデルを生成させる生成処理を複数の候補の対象期間について実行することで、前記生成部に複数の候補学習モデルを生成させ、前記複数の候補の学習モデルのそれぞれの対象期間及び信頼度の組み合わせを提示する提示部を有してよい。前記前処理部は、前記提示部により提示されたそれぞれの前記対象期間及び前記信頼度の組み合わせの中から利用対象の学習モデルとする対象期間及び信頼度の組み合わせの選択を受け付ける選択受付部を有してよい。
(【0011】以降は省略されています)
この特許をJ-PlatPat(特許庁公式サイト)で参照する
関連特許
旭化成株式会社
収納箱
1か月前
旭化成株式会社
検査装置
今日
旭化成株式会社
研磨パッド
1か月前
旭化成株式会社
ゴム組成物
27日前
旭化成株式会社
紫外線照射装置
7日前
旭化成株式会社
青果物輸送方法
1か月前
旭化成株式会社
積層体の製造方法
1か月前
旭化成株式会社
レーザダイオード
1か月前
旭化成株式会社
積層体及び光学部材
3日前
旭化成株式会社
紫外線照射システム
2か月前
旭化成株式会社
深紫外線光源検査装置
2か月前
旭化成株式会社
ポリアミドの製造方法
1か月前
旭化成株式会社
再生ABS系樹脂組成物
1か月前
旭化成株式会社
硬化性組成物及び合成皮革
1か月前
旭化成株式会社
硬化性組成物及び合成皮革
1か月前
旭化成株式会社
ポリアセタール樹脂組成物
1か月前
旭化成株式会社
樹脂製偏光ビームスプリッタ
1か月前
旭化成株式会社
検査装置および検査システム
13日前
旭化成株式会社
硬化性組成物、及びその硬化物
27日前
旭化成株式会社
車両用シートとその振動低減方法
1か月前
旭化成株式会社
ホルムアルデヒドガスの製造方法
1か月前
旭化成株式会社
イソシアネート化合物の製造方法
今日
旭化成株式会社
イソシアネート化合物の製造方法
今日
旭化成株式会社
水素製造システム及び水素製造方法
3日前
旭化成株式会社
塗料組成物、及び樹脂膜の製造方法
1か月前
旭化成株式会社
解析装置、システムおよびプログラム
6日前
旭化成株式会社
CNSLを用いたフェノールの製造方法
29日前
旭ファイバーグラス株式会社
断熱箱体
2か月前
旭化成株式会社
設計支援プログラムおよび設計支援装置
1か月前
旭化成株式会社
ポリアセタール樹脂組成物及びその成形品
3日前
旭化成株式会社
予測システム、プログラム、及び予測方法
27日前
旭化成株式会社
ポリアセタール樹脂組成物及び医療器具部品
3日前
旭化成株式会社
セルロース微細繊維ウェットケークの梱包体
3日前
旭化成株式会社
フィルム、成形体、及びフィルムの貼替方法
13日前
旭化成株式会社
ポリアミド樹脂組成物、成形体および摺動部材
1か月前
旭化成株式会社
半導体デバイスの製造方法及び半導体デバイス
1か月前
続きを見る
他の特許を見る