TOP
|
特許
|
意匠
|
商標
特許ウォッチ
Twitter
他の特許を見る
10個以上の画像は省略されています。
公開番号
2025134533
公報種別
公開特許公報(A)
公開日
2025-09-17
出願番号
2024032505
出願日
2024-03-04
発明の名称
リードフレーム及びその製造方法
出願人
大日本印刷株式会社
代理人
個人
,
個人
,
個人
主分類
H01L
23/50 20060101AFI20250909BHJP(基本的電気素子)
要約
【課題】リードフレームを封止樹脂により封止する際、リードフレーム本体上に樹脂が回り込みにくくなることを抑制可能な、リードフレーム及びその製造方法を提供する。
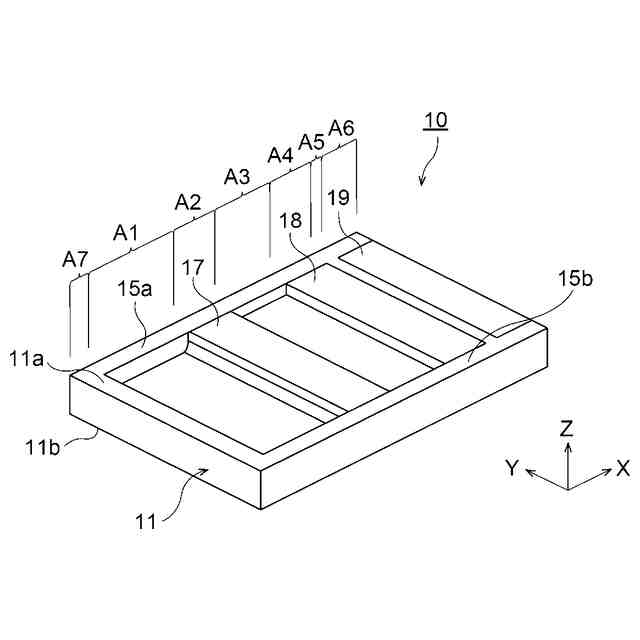
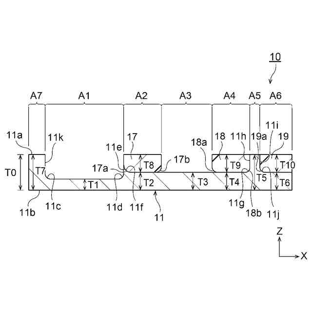
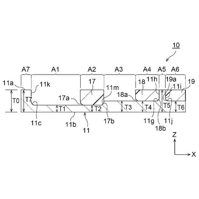
【解決手段】半導体装置用リードフレーム10は、第1面11aと第2面11bとを有するリードフレーム本体11と、リードフレーム本体11に配置された第1樹脂部17と、を備える。リードフレーム本体11は、第1面11a及び第2面11bの面方向に沿って順に配置された、第1領域A1と、第2領域A2と、第3領域A3と、を有する。第1領域A1、第2領域A2及び第3領域A3は、第1面11a側から薄肉化されている。第1領域A1の厚みT1よりも第3領域A3の厚みT3の方が厚く、第1樹脂部17は、第2領域A2に位置する。
【選択図】図2
特許請求の範囲
【請求項1】
半導体装置用リードフレームにおいて、
第1面と、前記第1面の反対側の第2面と、を有するリードフレーム本体と、
前記リードフレーム本体に配置された第1樹脂部と、を備え、
前記リードフレーム本体は、前記第1面及び前記第2面の面方向に沿って順に配置された、第1領域と、第2領域と、第3領域と、を有し、
前記第1領域、前記第2領域及び前記第3領域は、それぞれ前記第1面側から薄肉化され、
前記第1領域の厚みよりも前記第3領域の厚みの方が厚く、
前記第1樹脂部は、前記第2領域に位置する、リードフレーム。
続きを表示(約 790 文字)
【請求項2】
前記リードフレーム本体は、前記第3領域に対して前記第2領域の反対側に位置する第4領域を有し、
前記第4領域は、前記第1面側から薄肉化され、
前記第4領域に、第2樹脂部が位置している、請求項1に記載のリードフレーム。
【請求項3】
前記リードフレーム本体は、前記第3領域に対して前記第2領域の反対側に位置する第5領域を有し、
前記第5領域は、薄肉化されていない、請求項1に記載のリードフレーム。
【請求項4】
前記リードフレーム本体は、前記第3領域に対して前記第2領域の反対側に位置する第6領域を有し、
前記第6領域は、前記第1面側から薄肉化され、
前記第6領域に第3樹脂部が位置している、請求項1に記載のリードフレーム。
【請求項5】
前記リードフレーム本体は、前記第1領域に対して前記第2領域の反対側に位置する第7領域を有し、
前記第7領域は、薄肉化されていない、請求項1に記載のリードフレーム。
【請求項6】
前記第2領域のうち、前記第1領域側の端部には、前記第1面側に向けて突出する突起部が形成されている、請求項1に記載のリードフレーム。
【請求項7】
前記第2領域の厚みは、前記第1領域の厚みと同一である、請求項1に記載のリードフレーム。
【請求項8】
前記第2領域の厚みは、前記第1領域の厚みよりも厚い、請求項1に記載のリードフレーム。
【請求項9】
前記第3領域の厚みは、前記第2領域の厚みよりも薄い、請求項1に記載のリードフレーム。
【請求項10】
前記第3領域の厚みは、前記第2領域の厚みと同一である、請求項1に記載のリードフレーム。
(【請求項11】以降は省略されています)
発明の詳細な説明
【技術分野】
【0001】
本開示は、リードフレーム及びその製造方法に関する。
続きを表示(約 1,100 文字)
【背景技術】
【0002】
近年、例えば大電流用の電気機器に用いられる半導体装置には、厚みの異なる複数の半導体素子をリードフレームに搭載したものがある(特許文献1参照)。
【先行技術文献】
【特許文献】
【0003】
特開2021-40113号公報
【発明の概要】
【発明が解決しようとする課題】
【0004】
このようなリードフレームは、厚みの異なる半導体素子を搭載するために厚みの異なる段状の部分を有している。この場合、リードフレームを封止樹脂により封止する際、例えば段状の部分に樹脂が回り込みにくいという課題がある。
【0005】
本開示は、リードフレームを封止樹脂により封止する際、リードフレーム本体上に樹脂が回り込みにくくなることを抑制することが可能な、リードフレーム及びその製造方法を提供する。
【課題を解決するための手段】
【0006】
本開示の実施の形態は、以下の[1]~[12]に関する。
【0007】
[1]半導体装置用リードフレームにおいて、第1面と、前記第1面の反対側の第2面と、を有するリードフレーム本体と、前記リードフレーム本体に配置された第1樹脂部と、を備え、前記リードフレーム本体は、前記第1面及び前記第2面の面方向に沿って順に配置された、第1領域と、第2領域と、第3領域と、を有し、前記第1領域、前記第2領域及び前記第3領域は、それぞれ前記第1面側から薄肉化され、前記第1領域の厚みよりも前記第3領域の厚みの方が厚く、前記第1樹脂部は、前記第2領域に位置する、リードフレーム。
【0008】
[2]前記リードフレーム本体は、前記第3領域に対して前記第2領域の反対側に位置する第4領域を有し、前記第4領域は、前記第1面側から薄肉化され、前記第4領域に、第2樹脂部が位置している、[1]に記載のリードフレーム。
【0009】
[3]前記リードフレーム本体は、前記第3領域に対して前記第2領域の反対側に位置する第5領域を有し、前記第5領域は、薄肉化されていない、[1]又は[2]に記載のリードフレーム。
【0010】
[4]前記リードフレーム本体は、前記第3領域に対して前記第2領域の反対側に位置する第6領域を有し、前記第6領域は、前記第1面側から薄肉化され、前記第6領域に第3樹脂部が位置している、[1]乃至[3]のいずれか1つに記載のリードフレーム。
(【0011】以降は省略されています)
この特許をJ-PlatPat(特許庁公式サイト)で参照する
関連特許
大日本印刷株式会社
額縁
25日前
大日本印刷株式会社
移動体
16日前
大日本印刷株式会社
移動体
16日前
大日本印刷株式会社
写真撮影装置
17日前
大日本印刷株式会社
反射型マスク
1か月前
大日本印刷株式会社
熱転写システム
26日前
大日本印刷株式会社
熱転写システム
26日前
大日本印刷株式会社
発電モジュール
6日前
大日本印刷株式会社
パネルの固定方法
3日前
大日本印刷株式会社
積層体及び包装容器
4日前
大日本印刷株式会社
積層体および包装容器
6日前
大日本印刷株式会社
積層体および包装容器
6日前
大日本印刷株式会社
積層体および包装容器
6日前
大日本印刷株式会社
積層体および包装容器
6日前
大日本印刷株式会社
包装装置および包装方法
18日前
大日本印刷株式会社
レンズアレイ及び表示装置
26日前
大日本印刷株式会社
シール型熱転写受像シート
24日前
大日本印刷株式会社
シール型熱転写受像シート
24日前
大日本印刷株式会社
シール型熱転写受像シート
24日前
大日本印刷株式会社
情報処理装置及びプログラム
6日前
大日本印刷株式会社
撮影システム及び画像提供方法
1か月前
大日本印刷株式会社
類似文書検索装置及びプログラム
25日前
大日本印刷株式会社
リードフレーム及びその製造方法
18日前
大日本印刷株式会社
リードフレーム及びその製造方法
18日前
大日本印刷株式会社
再封機能を有する蓋付き紙カップ
1か月前
大日本印刷株式会社
熱転写シートおよび中間転写媒体
24日前
大日本印刷株式会社
ポリエステルフィルム及び積層体
16日前
大日本印刷株式会社
クランプ装置及びウェブ搬送装置
6日前
大日本印刷株式会社
作業装置、作業システム、作業方法
2日前
大日本印刷株式会社
ウェブ搬送装置及びウェブ搬送方法
2日前
大日本印刷株式会社
光学部材、ヘッドマウントディスプレイ
25日前
大日本印刷株式会社
バリア性フィルム、積層体および包装容器
6日前
大日本印刷株式会社
バリア性フィルム、積層体および包装容器
6日前
大日本印刷株式会社
電子部品包装用カバーテープおよび包装体
1か月前
大日本印刷株式会社
バリア性フィルム、積層体および包装容器
6日前
大日本印刷株式会社
サーバ装置、動画配信方法及びプログラム
6日前
続きを見る
他の特許を見る