TOP
|
特許
|
意匠
|
商標
特許ウォッチ
Twitter
他の特許を見る
公開番号
2025134779
公報種別
公開特許公報(A)
公開日
2025-09-17
出願番号
2025098084,2021557331
出願日
2025-06-11,2020-03-24
発明の名称
装置及び構造物の製造方法
出願人
株式会社ニコン
,
ニコン・メトロロジー・エヌヴェ
代理人
個人
,
個人
,
個人
主分類
G01S
7/481 20060101AFI20250909BHJP(測定;試験)
要約
【課題】測定対象部品へのツーリングボール配置の手間軽減
【解決手段】レーザレーダは、ターゲットの撮像、及び、ターゲットにプローブビームを向けるために使用される、2部構成の対物レンズを含む。トレーサビームのうちターゲットイメージを劣化させる部分については、トレーサビームの中央部分を遮断するダイクロイックフィルタによって減衰される。波長版からの反射されたものが局部発振器ビームとなるように、波長板でまたは波長板に焦点が合うように偏光ビームスプリッタを介してプローブビームを向ける混合レンズを用いて、局部発振器ビームが生成される。ターゲット測定値を提供するために、またはプローブビームの焦点を確立するために、プローブビームと共焦点である撮像システムが結合されている。
【選択図】図1
特許請求の範囲
【請求項1】
軸に沿って伝播するプローブビームを受光するように配置されたビームスプリッタと、
前記ビームスプリッタからプローブビームを受光し、前記軸に沿って前記プローブビームをターゲットに向けるように前記軸上に配置されているとともに、少なくとも1つの光学素子を含む、対物レンズと、
前記ビームスプリッタに光学的に結合され、前記ビームスプリッタを介して前記ターゲットからイメージングビームを受け取るように前記軸上に配置されたイメージセンサと、を備え、
前記少なくとも1つの光学素子が、前記イメージセンサでターゲットイメージを形成し前記プローブビームを前記ターゲットに集束させるように、可動できる、
装置。
続きを表示(約 1,000 文字)
【請求項2】
前記プローブビームとトレーサビームとを前記軸に沿って前記ビームスプリッタに向けるように配置された光ファイバをさらに備え、
前記ビームスプリッタは、ダイクロイックビームスプリッタであり、
前記対物レンズは、固定レンズと前記少なくとも1つの可動光学素子とを含む、請求項1に記載の装置。
【請求項3】
前記イメージセンサにおいて前記ターゲットイメージを集束させ、前記ターゲットにおいて前記プローブビームを集束させるように前記少なくとも1つの可動光学素子に結合されたオートフォーカス機構をさらに備える、請求項1に記載の装置。
【請求項4】
前記プローブビームは、前記少なくとも1つの可動光学素子によって、前記イメージセンサの視野の中心近傍に集束される、請求項1に記載の装置。
【請求項5】
前記可動光学素子に結合され、前記プローブビームおよび前記イメージングビームの集束を調整するように構成されたフォーカスコントローラをさらに備える、請求項1に記載の装置。
【請求項6】
前記プローブビームを前記ターゲットに向け、前記イメージングビームを前記イメージセンサに向けるように配置されたビームスキャナをさらに備える、請求項5に記載の装置。
【請求項7】
前記ターゲットの選択された部分が、前記イメージセンサのセンサ表面の所定の位置において前記イメージセンサで撮像されるように、前記イメージセンサと前記ビームスキャナとに結合されたイメージプロセッサをさらに備える、請求項6に記載の装置。
【請求項8】
前記所定の位置は、前記イメージセンサの前記センサ表面の中心位置である、請求項7に記載の装置。
【請求項9】
前記イメージセンサによって生成されたターゲットイメージに基づいて前記プローブビームが前記ターゲットの選択された部分に向けられるように、前記イメージセンサと前記ビームスキャナとに結合されたイメージプロセッサをさらに備える、請求項6に記載の装置。
【請求項10】
前記プローブビームを前記対物レンズに向けるように配置されたプローブビームレンズをさらに備え、
前記プローブビームレンズは、前記プローブビームが前記ターゲットに集束され、前記イメージングビームが前記イメージセンサに集束されるように配置されている、請求項1に記載の装置。
(【請求項11】以降は省略されています)
発明の詳細な説明
【技術分野】
【0001】
本開示は、レーザレーダおよびレーザ追跡システム、そのようなシステムのための光学系および構成要素、ならびに関連付けされた測定方法および装置に関する。
続きを表示(約 4,200 文字)
【背景技術】
【0002】
レーザレーダシステムは、一般に、戻りビームの一部の検出に基づいて物体距離の推定値を生成する。戻りビームを局部発振器信号と混合し、戻りビームと局部発振器との間の周波数差を測定することに基づいて距離を推定するヘテロダイン方式を使用して高感度検出が提供される。適切なチャープでビームを送信することにより、ドップラーシフトを引き起こす可能性がある物体の動きが存在する場合でも、これらの測定を行うことができる。
【0003】
実際の実施態様では、カメラは、プローブ(測定)ビームとビジュアルアライメントに使用されるポインティング(またはトレーサ)ビームの両方を受け取るターゲット表面を撮像する。カメラは、ターゲットイメージを生成するように調整されるレンズを含み、プローブビームおよびトレーサビームは、別個の調整可能なレンズを用いてターゲット上にイメージされる。視覚/可視イメージ用に異なるレンズを使用し、IRプローブビーム用にビーム集束レンズを使用することにより、簡単なレンズ設計が可能になる。残念ながら、2つの可動レンズを使用するには、それぞれに移動または他のステージが必要であり、カメラ軸とプローブビーム軸とのアライメントを維持することは困難であり、アライメントのずれは、粗いビジュアルアライメント以上に、カメラ画像を使用することを困難にする。
【0004】
ヘテロダインレーザレーダにおける他の困難は、測定対象物に関連付けされた信号経路と局部発振器(local oscillator:LO)経路との間の経路長の変動に基づく。LO経路変動は、測距誤差を引き起こすだけでなく、戻ってきたプローブビーム部分とLOビームとの間の偏光の相対状態の変化による信号変動も引き起こす。例えば、金属または誘電体ミラーまたはビームスプリッタなどの光学部品による反射は、異なる偏光状態間に位相シフトを導入する可能性がある。そのような変動は、距離感度を低下させるか、またはドロップアウト、すなわち完全な信号損失につながる可能性がある。
【0005】
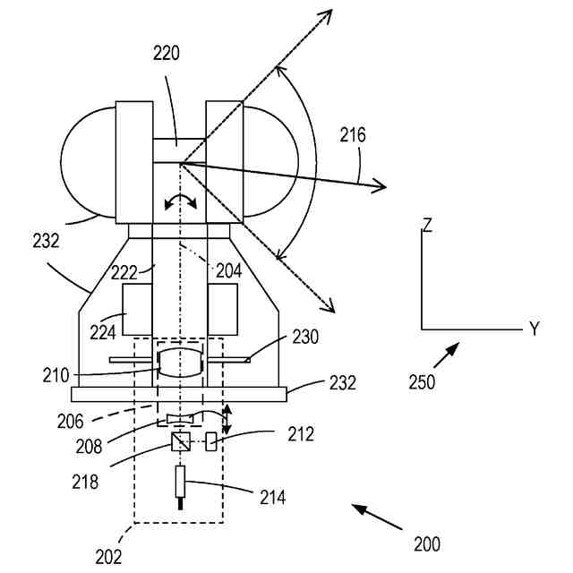
レーザレーダの実際の用途は、典型的には、測定される部品へのアライメントを必要とし、1つまたは複数のツーリングボールのセットを部品の周りに配置しなければならない。そのような設定は遅くなる可能性があり、部品を測定できる進度を制限する。したがって、改善が必要である。
【発明の概要】
【課題を解決するための手段】
【0006】
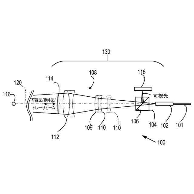
装置は、ダイクロイックビームスプリッタと、ダイクロイックビームスプリッタにプローブビームを軸に沿って向けるように配置された光ファイバとを備えている。対物レンズは、軸上に配置されるとともに、固定レンズ、および、ダイクロイックビームスプリッタからプローブビームを受光するように配置されている可動レンズとを備えている。イメージセンサは、ダイクロイックビームスプリッタに光学的に結合され、ダイクロイックビームスプリッタを介してターゲットからイメージングビームを受光するように軸上に配置されており、可動レンズは、イメージセンサでターゲットイメージを形成し、プローブビームをターゲットに集束させるように移動可能である。いくつかの例では、ダイクロイックビームスプリッタは、プローブビームがダイクロイックビームスプリッタを介して可動レンズに透過され、イメージングビームがダイクロイックビームスプリッタによってイメージセンサに反射されるように配置される。他の例では、対物レンズは、ダイクロイックビームスプリッタからトレーサビームを受光し、プローブビームおよびトレーサビームをターゲットに向けるように配置され、プローブビームは1200nm~1800nmの波長を有し、トレーサビームは400nm~700nmの波長を有する。いくつかの代替形態では、ダイクロイックビームスプリッタは、プローブビームがダイクロイックビームスプリッタによって可動レンズに反射され、イメージングビームがダイクロイックビームスプリッタによってイメージセンサに送られるように配置される。典型的な実施形態では、ダイクロイックビームスプリッタは、キューブダイクロイックビームスプリッタ、プレートダイクロイックビームスプリッタ、または二重反射ダイクロイックビームスプリッタである。
【0007】
さらなる実施形態では、ダイクロイックビームスプリッタは、可動レンズに面する第1の表面と、イメージングビームをイメージセンサに向け、ターゲットから戻されるプローブビームの一部を光ファイバに向けるように配置されたダイクロイック反射面とを含む二重反射ダイクロイックビームスプリッタである。他の実施形態では、ダイクロイックビームスプリッタは、可動レンズに面する第1の表面と、イメージングビームが第1の表面によってイメージセンサに反射され、ターゲットから光ファイバに戻されるプローブビームの一部が反射面によって光ファイバに送られるように、イメージングビームを第1の表面に向けるように配置されたダイクロイック反射面とを含む二重反射ダイクロイックビームスプリッタである。さらに追加の例では、ダイクロイックビームスプリッタは、可動レンズに面する第1の表面と、ターゲットから戻されたプローブビームの一部を第1の表面に向けるように配置されたダイクロイック反射面とを含む二重反射ダイクロイックビームスプリッタであり、イメージングビームは、ダイクロイック反射面によってイメージセンサに送られる。他の代表的な例では、第1の表面は、ダイクロイック反射面から受け取られたイメージングビームに対して臨界角よりも大きい角度に配置され、二重反射ダイクロイックビームスプリッタは、出力面を含み、出力面は、ターゲットから戻され、ダイクロイック反射面によって第1の表面に反射されたプローブビームの一部が反射されて出力面に垂直に入射するように配置されている。いくつかの実施形態では、二重反射ダイクロイックビームスプリッタは、第1の表面とダイクロイック反射面との間の頂角βを有する第1のプリズムを含み、βはsin
-1
(1/n)より大きく、nはプリズムの屈折率である。いくつかの例によれば、二重反射ダイクロイックビームスプリッタのダイクロイック反射面は、第1のプリズムまたは第2のプリズムの表面上に規定される。場合によっては、二重反射プリズムは、それぞれの合わせ面で互いに固定された第1のプリズムおよび第2のプリズムを含み、ダイクロイック反射面は合わせ面に配置されている。いくつかの特定の例では、ダイクロイック反射面は、合わせ面のうちの少なくとも1つに規定される。
【0008】
他の代替形態では、ダイクロイックビームスプリッタは、ダイクロイックプレートおよび平面反射器を含み、ダイクロイックプレートは、ターゲットから戻されたプローブビームの一部を平面反射器に向け、イメージングビームをイメージセンサに送るように配置される。さらに他の例では、ダイクロイックビームスプリッタは、ダイクロイックプレートおよび平面反射器を含み、ダイクロイックプレートは、イメージングビームを平面反射器に反射し、ターゲットから戻されたプローブビームの一部を送るように配置される。
【0009】
いくつかの代表的な例では、光ファイバは、偏光保持シングルモード(polarization retaining single mode:PRSM)光ファイバであり、偏光ビームスプリッタ(polarizing beam splitter:PBS)をさらに備え、PBSは、PRSM光ファイバからのプローブビームが、PBSによってダイクロイックビームスプリッタに実質的に送られる偏光状態(典型的には直線偏光状態)で、受光されるように配置されている。装置は、プローブビームに円偏光状態を生成し、プローブビームの一部を光ファイバに向けて反射して局部発振器ビームを生成するために、PBSとダイクロイックビームスプリッタとの間に配置された波長板を含み得る。さらなる例では、波長板は、PBSからプローブビームを受光するように配置された入力面と、波長板の入力面からプローブビームを受光するように配置された出力面とを有する。入力面または出力面の一方は、反射防止コーティングされており、入力面および出力面の他方は、プローブビームの一部を局部発振器ビームとして反射する。
【0010】
典型的には、光ファイバから測定ビームを受けるように混合レンズが配置され、混合レンズの軸方向部分の軸に沿ってダイクロイックフィルタが配置され、ダイクロイックフィルタは、測定ビームを透過し、トレーサビームを実質的に透過しにくい。他の例では、ダイクロイックフィルタは、測定ビームを透過し、トレーサビームを反射するダイクロイック反射器である。いくつかの例では、ダイクロイックフィルタは、トレーサビームを実質的に透過しない波長依存偏光子である。代表的な実施形態によれば、ダイクロイック反射器は、混合レンズの軸方向部分の軸に沿って配置され、ダイクロイック反射器は、測定ビームを透過し、トレーサビームを反射し、ダイクロイック反射器の寸法は、イメージセンサの対応する寸法に基づく。いくつかの実施形態では、混合レンズは、測定ビームを受光し、ビーム角直径α内に測定ビームを集束させるように配置される。ダイクロイック反射器は、混合レンズの軸方向部分の軸に沿って配置され、ダイクロイック反射器は、測定ビームを透過し、トレーサビームを反射し、ダイクロイック反射器の寸法は、イメージセンサの対応する寸法に基づく。代表的な例では、ダイクロイック反射器の寸法は、イメージセンサの対応する寸法と、混合レンズ焦点からダイクロイック反射器までの軸に沿った光学距離と混合レンズ焦点からイメージセンサまでの光学距離との比との積の少なくとも0.5、0.75、1.0、または1.5倍である。便宜上、ダイクロイックフィルタは、可動レンズのレンズ面に配置されている。
(【0011】以降は省略されています)
この特許をJ-PlatPat(特許庁公式サイト)で参照する
関連特許
株式会社ニコン
撮像素子および撮像装置
2日前
株式会社ニコン
顕微鏡、方法、及びプログラム
12日前
株式会社ニコン
光学系、光学機器及び光学系の製造方法
13日前
株式会社ニコン
光学系、光学機器及び光学系の製造方法
13日前
株式会社ニコン
変倍光学系、光学機器、および変倍光学系の製造方法
12日前
株式会社ニコン
変倍光学系、光学機器、および変倍光学系の製造方法
12日前
株式会社ニコン
変倍光学系、光学機器、および変倍光学系の製造方法
12日前
株式会社ニコンビジョン
観察光学系、光学機器、および観察光学系の製造方法
今日
株式会社ニコン
電子機器
14日前
株式会社ニコン
撮像素子
14日前
株式会社ニコン
撮像装置
2日前
株式会社ニコン
撮像装置
14日前
株式会社ニコン
交換レンズ
2日前
株式会社ニコン
光学系および光学機器
1日前
株式会社ニコン
カバー装置及び撮像装置
6日前
株式会社ニコン
レンズ鏡筒及び撮像装置
12日前
株式会社ニコン
装置及び構造物の製造方法
14日前
株式会社ニコン
変倍光学系および光学機器
今日
株式会社ニコン
固体撮像素子及び撮像装置
1日前
株式会社ニコン
変倍光学系および光学機器
1日前
株式会社ニコン
眼科装置及び画像処理方法
27日前
株式会社ニコン
パルス光生成装置、パルス光生成方法及び加工装置
6日前
株式会社ニコン
診断支援装置、学習装置、診断支援方法、学習方法及びプログラム
6日前
個人
計量スプーン
22日前
個人
微小振動検出装置
1か月前
株式会社イシダ
X線検査装置
1か月前
日本精機株式会社
位置検出装置
今日
日本精機株式会社
位置検出装置
今日
日本精機株式会社
位置検出装置
今日
大和製衡株式会社
組合せ秤
5日前
大和製衡株式会社
組合せ秤
5日前
株式会社東芝
センサ
1か月前
アンリツ株式会社
分光器
28日前
株式会社東芝
センサ
5日前
株式会社東芝
センサ
5日前
ダイハツ工業株式会社
測定用具
26日前
続きを見る
他の特許を見る