TOP
|
特許
|
意匠
|
商標
特許ウォッチ
Twitter
他の特許を見る
10個以上の画像は省略されています。
公開番号
2025134969
公報種別
公開特許公報(A)
公開日
2025-09-17
出願番号
2025108900,2024001773
出願日
2025-06-27,2019-12-27
発明の名称
電子機器
出願人
株式会社ニコン
代理人
個人
,
個人
,
個人
主分類
H04N
23/63 20230101AFI20250909BHJP(電気通信技術)
要約
【課題】被写体の顔から、目を検出し、目にピントを合わせるようにオートフォーカス制御を行う電子機器において、合焦精度を向上させる。
【解決手段】電子機器は、画像から眼を検出する検出部と、前記検出部で検出された眼から、1つの眼を選択する選択部と、前記選択された眼とは異なる眼を選択部に選択させる操作を受け付ける操作部とを備え、前記選択部で選択された眼であることを示す表示枠を、画像に重ねて表示する表示部とを備え、前期表示枠に対応するフォーカスポイントごとに、それぞれのデフォーカス量を算出し、オートフォーカスを行う。
【選択図】なし
特許請求の範囲
【請求項1】
画像から眼を検出する検出部と、
前記検出部で検出された眼から1つの眼を選択する選択部と、
前記選択された眼とは異なる眼を選択部に選択させる操作を受け付ける操作部と、
前記選択部で選択された眼であることを示す表示を画像に重ねて表示する表示部と、
を備える電子機器。
発明の詳細な説明
【技術分野】
【0001】
本発明は、電子機器に関する。
続きを表示(約 2,400 文字)
【背景技術】
【0002】
被写体の顔を検出し、さらに顔の目を検出して、目にピントを合わせるように制御するカメラが知られている(特許文献1参照)。従来から合焦精度の向上が求められている。
【先行技術文献】
【特許文献】
【0003】
日本国特開2001-215403号公報
【発明の概要】
【0004】
本発明の第1の態様によると、電子機器は、画像から眼を検出する検出部と、前記検出部で検出された眼から1つの眼を選択する選択部と、前記選択された眼とは異なる眼を選択部に選択させる操作を受け付ける操作部と、前記選択部で選択された眼であることを示す表示を画像に重ねて表示する表示部と、を備える。
【図面の簡単な説明】
【0005】
カメラシステムの要部構成を説明する模式図である。
ボディ側制御部が実行する処理の流れを例示するフローチャートである。
撮影範囲を例示する図である。
図4(a)は検出した眼を示す表示枠を例示する図、図4(b)は検出した顔を示す表示枠を例示する図である。
複数の眼または顔が検出される場合を説明する図である。
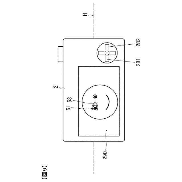
横位置に構えられている場合のカメラボディの背面側の外装面を例示する図である。
図5の顔の表示枠の右側に位置する眼が選択される場合を説明する図である。
図7の顔の表示枠の右側に位置する顔の眼が選択される場合を説明する図である。
図7の顔の表示枠の右側に位置する顔の眼が選択される場合の別の例を説明する図である。
図10(a)から図10(c)は、画像における眼または顔のサイズと表示枠との関係を説明する図である。
第1の実施の形態において、第1設定が選択されている場合の表示枠を決める処理の流れを例示するフローチャートである。
縦位置に構えられている場合のカメラボディの背面側の外装面を例示する図である。
複数の顔がY軸方向(鉛直方向)に並ぶ状態を説明する図である。
第2の実施の形態において、第1設定が選択されている場合の表示枠を決める処理の流れを例示するフローチャートである。
距離の算出を説明する模式図である。
図16(a)および図16(b)は、顔がカメラシステムに対して右を向いている例を示す図、図16(c)は、顔がカメラシステムに対して左を向いている例を示す図である。
【発明を実施するための形態】
【0006】
以下、図面を参照して発明を実施するための形態について説明する。
(第1の実施の形態)
図1は、発明の第1の実施形態によるカメラシステム1の要部構成を説明する模式図である。カメラシステム1は、カメラボディ2に着脱可能な撮影レンズ(交換レンズ3と称する)を装着した例を説明するが、カメラボディ2と撮影レンズを一体に構成したカメラとしても構わない。
なお、図1において交換レンズ3の光軸Oと交差する面内の水平方向をX軸とし、鉛直方向をY軸とする。
【0007】
<カメラボディ>
カメラボディ2は、ボディ側制御部230、ボディ側通信部240、姿勢センサ250、撮像素子260、信号処理部270、操作部材280、および表示部290を有する。ボディ側制御部230は、ボディ側通信部240、姿勢センサ250、撮像素子260、信号処理部270、操作部材280および表示部290と接続される。
【0008】
ボディ側制御部230は、マイクロコンピュータおよびその周辺回路等から構成される。ボディ側制御部230は、ボディ側制御部230が実行する制御プログラム等を記憶する記憶部235、焦点検出を行う焦点検出部230a、眼・顔を検出する眼・顔検出部230b、表示制御部230c、表示範囲を選択する表示範囲選択部230d、焦点検出範囲を選択する焦点検出範囲選択部230e、表示範囲選択部230dと焦点検出範囲選択部230eを有する選択部230fを含む。ボディ側制御部230は、記憶部235に記憶されている制御プログラムを実行してカメラボディ2内の各部を制御する。記憶部235は、ボディ側制御部230によってデータの記録と読み出しが制御される。
【0009】
ボディ側通信部240は、交換レンズ3のレンズ側通信部340との間で所定の通信を行う。ボディ側通信部240は、ボディ側制御部230と接続される。姿勢センサ250は、カメラシステム1が横位置に構えられているか、あるいは縦位置に構えられているかを示す角度情報を検出し、検出信号をボディ側制御部230へ送出する。カメラシステム1は、図1のX軸方向に長い横長画面を撮影する場合に横位置(撮像素子260の撮像面260Sの長辺が水平方向になるカメラの位置)に構えられ、Y軸方向に長い縦長画面を撮影する場合に縦位置(撮像素子260の撮像面260Sの長辺が垂直方向になるカメラの位置)に構えられる。
【0010】
交換レンズ3を透過した被写体からの光は、撮像素子260の撮像面260Sに導かれる。撮像素子260は、例えばCMOSイメージセンサやCCDイメージセンサ等の固体撮像素子である。撮像素子260は、ボディ側制御部230からの制御信号により、撮像面260Sに形成される被写体像を撮像して信号を出力する。撮像素子260は、動画撮影と静止画撮影とが可能である。動画撮影には、動画を記録する他、表示部290で連続的にモニタ用の画像を表示させるための、いわゆるスルー画(ライブビュー画像とも称される)の撮影も含むものとする。
(【0011】以降は省略されています)
この特許をJ-PlatPat(特許庁公式サイト)で参照する
関連特許
株式会社ニコンビジョン
観察光学系、光学機器、および観察光学系の製造方法
2日前
株式会社ニコン
撮像素子
今日
株式会社ニコン
撮像装置
4日前
株式会社ニコン
交換レンズ
4日前
株式会社ニコン
撮像素子及び撮像装置
今日
株式会社ニコン
光学系および光学機器
3日前
株式会社ニコン
変倍光学系および光学機器
2日前
株式会社ニコン
変倍光学系および光学機器
3日前
株式会社ニコン
固体撮像素子及び撮像装置
3日前
個人
店内配信予約システム
2か月前
サクサ株式会社
中継装置
2か月前
WHISMR合同会社
収音装置
22日前
アイホン株式会社
電気機器
16日前
キヤノン株式会社
撮像装置
1か月前
キヤノン株式会社
電子機器
2か月前
個人
ワイヤレスイヤホン対応耳掛け
14日前
株式会社リコー
画像形成装置
1か月前
キヤノン電子株式会社
画像読取装置
23日前
株式会社リコー
画像形成装置
1か月前
キヤノン電子株式会社
モバイル装置
2か月前
日本精機株式会社
画像投映システム
2か月前
株式会社リコー
画像形成装置
1か月前
キヤノン株式会社
撮像システム
16日前
ブラザー工業株式会社
読取装置
1か月前
株式会社ニコン
撮像装置
2か月前
株式会社JVCケンウッド
通信システム
今日
大日本印刷株式会社
写真撮影装置
15日前
DXO株式会社
情報処理システム
2か月前
パテントフレア株式会社
水中電波通信法
2か月前
キヤノン電子株式会社
シート材搬送装置
1か月前
有限会社フィデリックス
マイクロフォン
今日
株式会社松平商会
携帯機器カバー
25日前
パテントフレア株式会社
超高速電波通信
1か月前
沖電気工業株式会社
画像形成装置
4日前
株式会社小糸製作所
画像照射装置
1か月前
国立大学法人電気通信大学
小型光学装置
1か月前
続きを見る
他の特許を見る