TOP
|
特許
|
意匠
|
商標
特許ウォッチ
Twitter
他の特許を見る
公開番号
2025134764
公報種別
公開特許公報(A)
公開日
2025-09-17
出願番号
2025097647,2020074002
出願日
2025-06-11,2020-04-17
発明の名称
撮像装置
出願人
株式会社ニコン
代理人
個人
,
個人
,
個人
主分類
H04N
23/63 20230101AFI20250909BHJP(電気通信技術)
要約
【課題】従来の自動撮影カメラでは、あらかじめ撮影距離を設定し、指定された撮影距離に応じた許容距離範囲内に被写体が入ると撮影が行われる。しかしながら、許容距離範囲が適切であるかの確認が難しいという問題がある。
【解決手段】撮像装置は、被写体を撮影許可する撮影許可条件を設定する設定部と、前記撮影許可条件を満たす被写体を判定する判定部と、前記撮影許可条件を満たす判定がなされた被写体を、前記判定がなされていない被写体と異なる態様で示す第1表示部とを備える。
【選択図】図2
特許請求の範囲
【請求項1】
被写体を撮影許可する撮影許可条件を設定する設定部と、
前記撮影許可条件を満たす被写体を判定する判定部と、
前記撮影許可条件を満たす判定がなされた被写体を、前記判定がなされていない被写体と異なる態様で示す第1表示部とを備える撮像装置。
発明の詳細な説明
【技術分野】
【0001】
本発明は、撮像装置に関する。
続きを表示(約 3,400 文字)
【背景技術】
【0002】
従来から、特許文献1に記載されている自動撮影カメラが知られている。従来のカメラ
では、あらかじめ撮影距離を設定し、指定された撮影距離に応じた許容距離範囲内に被写
体が入ると撮影が行われる。しかしながら、許容距離範囲が適切であるかの確認が難しい
という問題がある。
【先行技術文献】
【特許文献】
【0003】
日本国特開2005-215373号公報
【発明の概要】
【0004】
本発明の一態様による撮像装置は、被写体を撮影許可する撮影許可条件を設定する設定部と、前記撮影許可条件を満たす被写体を判定する判定部と、前記撮影許可条件を満たす判定がなされた被写体を、前記判定がなされていない被写体と異なる態様で示す第1表示部とを備える。
【図面の簡単な説明】
【0005】
図1(a)は、実施の形態によるカメラを使用する場面を例示する図である。図1(b)は、カメラで取得されるライブビュー画像を例示する図である。
第1の実施形態によるカメラの要部構成を説明する模式図である。
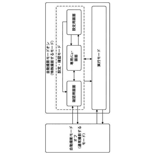
カメラの動作モードの移り変わりを例示する遷移図である。
専用メニュー画面を例示する図である。
設定用画面(フォーカス)を例示する図である。
設定用画面(フォーカス)を例示する図である。
設定用画面(動き)を例示する図である。
設定用画面(顔)を例示する図である。
設定用画面(エリア)を例示する図である。
自動撮影モードがオンの場合に実行されるプログラムの処理の流れを説明するフローチャートである。
設定・確認動作のプログラムの処理の流れを説明するフローチャートである。
撮影許可領域設定動作のプログラムの処理の流れを説明するフローチャートである。
設定用画面(エリア)を例示する図である。
設定用画面(エリア)を例示する図である。
フォーカス1点設定動作のプログラムの処理の流れを説明するフローチャートである。
フォーカス2点設定動作のプログラムの処理の流れを説明するフローチャートである。
フォーカス1点およびフォーカス2点設定動作のプログラムの後半の処理の流れを説明するフローチャートである。
動き検出設定動作のプログラムの処理の流れを説明するフローチャートである。
顔検出設定動作のプログラムの処理の流れを説明するフローチャートである。
自動撮影動作のプログラムの処理の流れを説明するフローチャートである。
設定用画面(フォーカス)を例示する図である。
リミット撮影を説明する図である。
第2の実施形態によるカメラの要部構成を説明する模式図である。
カメラの動作モードの移り変わりを例示する遷移図である。
プログラムの提供を説明する図である。
【発明を実施するための形態】
【0006】
以下、図面を参照して発明を実施するための形態について説明する。
(第1の実施の形態)
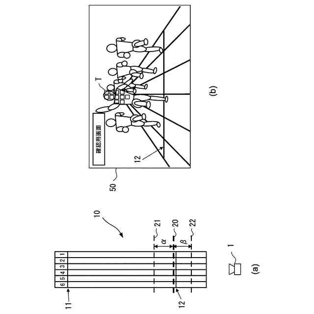
図1(a)は、実施の形態によるカメラ1を使用する場面を例示する図である。三脚等に固定されたカメラ1は、陸上競技の短距離走(例えば100m)のゴールシーンを撮影する。出場選手は、短距離走で使用される短距離トラック10のスタートライン11からゴールライン12へ向かって走る。カメラ1は、ゴール後にゴールライン12を駆け抜けた選手の障害にならないように、スタートライン11から見てゴールライン12よりも数十メートル後方の位置に、その撮影方向がゴールライン12に向くように設置されている。
【0007】
カメラ1は、例えば、選手がゴールする瞬間を撮影するように、あらかじめ定められた撮影許可条件を満たすと判定した被写体を自動で撮影する。本実施の形態では、後述する基準位置20よりもカメラ1側(以後、手前側と称する)に距離β離した位置22から、基準位置20よりもスタートライン11側(以後、奥側と称する)に距離α離した位置21までの距離範囲(以下、撮影許可範囲)に被写体が入ると、その被写体が撮影許可条件を満たすと判定して撮影を開始する。ここで、カメラ1から位置22までの距離を第1の撮影距離と称し、カメラ1から位置21までの距離を第2の撮影距離と称する。第2の撮影距離は、第1の撮影距離よりも長い。
【0008】
図1(b)は、カメラ1で取得されるライブビュー画像を例示する図である。
実施の形態では、後で詳細に説明するが、ライブビュー画像の全域、すなわち、撮影画面の全域にマトリクス上に配置された複数の焦点検出領域(図9のマーク101)で焦点検出が可能である。そのため、撮影画面に含まれるほぼ全ての被写体について、カメラ1から被写体までの距離を測ること(すなわち測距すること)ができる。そして、撮影許可条件に合致した被写体を狙って自動撮影が行われる。
【0009】
ライブビュー画像は、本撮影の前に毎秒数コマの割合で繰り返し取得されるモニタ用の画像である。モニタ用の画像の取得を予備撮影と称してもよい。ライブビュー画像には、ゴールライン12を駆け抜ける選手が映っている。本実施の形態のカメラ1は、撮影許可条件を満たすと判定した被写体をユーザに知らせることが可能である。換言すると、ユーザは、撮影許可条件を満たす被写体を、ライブビュー画像を見て確認することができる。図1(b)に示す例では、画面の左から3番目のレーン(すなわち短距離トラック10の第4コース)を走る選手の上半身に、複数の四角形状のマークTが重ねて表示されている。このように構成したことにより、ユーザは、撮影許可条件を満たす被写体が、第4コースを走る選手の上半身に対応する領域であることをマークTで確認することができる。
複数の四角形状のマークTは、撮影許可条件を満たした被写体を示すマークである。
なお、選手が走っていない場合のライブビュー画像は、主として短距離トラック10のコースおよびゴールライン12が映るのみである。
【0010】
本実施の形態では、自動撮影モードにおける撮影許可条件として以下(A)~(E)を有する。
(A)あらかじめ定めた撮影許可領域において被写体が検出される条件。この条件は後でトリガーエリア条件と呼ぶ。
(B)あらかじめ定めた基準の撮影距離の前後の撮影距離、すなわち、第1の撮影距離から第2の撮影距離までの撮影許可範囲で被写体が検出される条件。
この条件は後でフォーカス1点条件と呼ぶ。
(C)あらかじめ定めた第1の撮影距離から第2の撮影距離までの撮影許可範囲の撮影距離を有する被写体が検出される条件。
この条件は後でフォーカス2点条件と呼び、基準位置は第1の撮影距離と第2の撮影距離の中間位置である。
(D)被写体の動きが検出される条件、すなわち動き検出条件。
(E)特定の対象物として顔が検出される条件、すなわち顔検出条件。
上記(A)~(E)は組み合わせて設定してよいものとする。
撮影許可領域とは、後述の撮像素子261に写る範囲(撮影範囲と称する)の中に任意に設定される領域をいう。撮像素子261に写る範囲を角度で表したものは、撮影画角と称されている。カメラ1の場合、複数の焦点検出領域(図9のマーク101)の中から選択された1以上の領域を、自動撮影を許可する撮影許可領域(図9の複数のマーク102で規定される領域)として設定することができる。
なお、実施の形態では撮影許可領域が焦点検出領域の中から選択される例を説明するが、撮影許可領域は、焦点検出領域とは関係なく撮影範囲において独自に設定可能にされていてもよい。
また、上記(B)と(C)では撮影許可範囲で自動撮影が行われるので、この範囲内の撮影距離を撮影許可距離と呼ぶことができる。
このようなカメラ1の詳細について、さらに詳しく説明する。
(【0011】以降は省略されています)
この特許をJ-PlatPat(特許庁公式サイト)で参照する
関連特許
株式会社ニコン
撮像素子および撮像装置
4日前
株式会社ニコン
顕微鏡、方法、及びプログラム
14日前
株式会社ニコン
光学系、光学機器及び光学系の製造方法
15日前
株式会社ニコン
光学系、光学機器及び光学系の製造方法
15日前
株式会社ニコン
変倍光学系、光学機器、および変倍光学系の製造方法
14日前
株式会社ニコンビジョン
観察光学系、光学機器、および観察光学系の製造方法
2日前
株式会社ニコン
変倍光学系、光学機器、および変倍光学系の製造方法
14日前
株式会社ニコン
変倍光学系、光学機器、および変倍光学系の製造方法
14日前
株式会社ニコン
撮像装置
16日前
株式会社ニコン
撮像素子
16日前
株式会社ニコン
電子機器
16日前
株式会社ニコン
撮像装置
4日前
株式会社ニコン
撮像素子
今日
株式会社ニコン
交換レンズ
4日前
株式会社ニコン
撮像素子及び撮像装置
今日
株式会社ニコン
光学系および光学機器
3日前
株式会社ニコン
レンズ鏡筒及び撮像装置
14日前
株式会社ニコン
カバー装置及び撮像装置
8日前
株式会社ニコン
固体撮像素子及び撮像装置
3日前
株式会社ニコン
変倍光学系および光学機器
3日前
株式会社ニコン
装置及び構造物の製造方法
16日前
株式会社ニコン
変倍光学系および光学機器
2日前
株式会社ニコン
眼科装置及び画像処理方法
29日前
株式会社ニコン
マイクロ流体デバイス、マイクロ流体デバイスの観察装置、マイクロ流体デバイスの観察方法
1か月前
株式会社ニコン
パルス光生成装置、パルス光生成方法及び加工装置
8日前
株式会社ニコン
診断支援装置、学習装置、診断支援方法、学習方法及びプログラム
8日前
個人
店内配信予約システム
2か月前
サクサ株式会社
中継装置
2か月前
WHISMR合同会社
収音装置
22日前
キヤノン株式会社
電子機器
2か月前
アイホン株式会社
電気機器
16日前
キヤノン株式会社
撮像装置
3か月前
キヤノン株式会社
撮像装置
1か月前
株式会社リコー
画像形成装置
1か月前
株式会社リコー
画像形成装置
1か月前
キヤノン電子株式会社
モバイル装置
2か月前
続きを見る
他の特許を見る