TOP
|
特許
|
意匠
|
商標
特許ウォッチ
Twitter
他の特許を見る
10個以上の画像は省略されています。
公開番号
2025134973
公報種別
公開特許公報(A)
公開日
2025-09-17
出願番号
2025110126,2021156491
出願日
2025-06-30,2021-09-27
発明の名称
シールカバー
出願人
住友電装株式会社
代理人
個人
,
個人
,
個人
主分類
F16J
15/06 20060101AFI20250909BHJP(機械要素または単位;機械または装置の効果的機能を生じ維持するための一般的手段)
要約
【課題】シールドカバーに対するシール部材の取付作業性を向上させることが可能な技術を提供する。
【解決手段】第1ネジは、第1シール部材の中央から、第1シール部材と第2シール部材との並び方向の一方側にずれた位置に取り付けられている。第1シール部材は、シールドカバーを第1クリアランスがある状態で貫通し、第1シール部材の回転を規制する突起部を有する。突起部は、第1シール部材の中央から並び方向の他方側にずれて位置する。突起部は、シールドカバーの表面の凹面に設けられた開口から前記シールドカバーの外側に突出する。
【選択図】図1
特許請求の範囲
【請求項1】
第1開口部と、前記第1開口部と並ぶ第2開口部とを有する取付対象に取り付けられ、前記第1開口部及び前記第2開口部を覆うシールカバーであって、
前記第1開口部に嵌まって前記第1開口部をシールする第1シール部を有する第1シール部材と、
前記第2開口部に嵌まって前記第2開口部をシールする第2シール部を有し、前記第1シール部材と並ぶ第2シール部材と、
前記第1シール部材及び前記第2シール部材が取り付けられ、前記取付対象に固定され、第1貫通孔及び第2貫通孔を有するシールドカバーと、
前記シールドカバーの前記第1貫通孔に挿通されて前記第1シール部材に取り付けられている第1ネジと、
前記シールドカバーの前記第2貫通孔に挿通されて前記第2シール部材に取り付けられている第2ネジと
を備え、
前記第1ネジは、前記第1シール部材の中央から、前記第1シール部材と前記第2シール部材との並び方向の一方側にずれた位置に取り付けられ、
前記第1シール部材は、前記シールドカバーを第1クリアランスがある状態で貫通し、前記第1シール部材の回転を規制する突起部を有し、
前記突起部は、前記第1シール部材の中央から前記並び方向の他方側にずれて位置し、
前記突起部は、前記シールドカバーの表面の凹面に設けられた開口から前記シールドカバーの外側に突出する、シールカバー。
続きを表示(約 1,300 文字)
【請求項2】
請求項1に記載のシールカバーであって、
前記開口は、前記突起部の突出方向での中央よりも根本側を取り囲む、シールカバー。
【請求項3】
請求項1又は請求項2に記載のシールカバーであって、
前記第1シール部材に取り付けられ、前記取付対象への前記シールカバーの取り付けを保証するインターロックコネクタを備え、
前記第1貫通孔の内側に第2クリアランスが存在し、
前記取付対象は、前記インターロックコネクタと嵌合する相手側コネクタを有し、
前記相手側コネクタに対する前記インターロックコネクタの嵌合方向に交差する平面を一平面とした場合において、前記第1シール部材は、前記第1クリアランスに応じて、前記一平面に沿って前記シールドカバーに対して相対移動可能である、シールカバー。
【請求項4】
請求項1から請求項3のいずれか1項に記載のシールカバーであって、
前記第1シール部材に取り付けられ、前記取付対象への前記シールカバーの取り付けを保証するインターロックコネクタを備え、
前記インターロックコネクタは、前記並び方向において前記第1ネジより前記第1シール部材の中央に近い位置に取り付けられ、
前記第1ネジは、前記第1シール部材の中央から前記並び方向の一方側にずれた位置に取り付けられる、シールカバー。
【請求項5】
請求項4に記載のシールカバーであって、
前記第1シール部材は、前記インターロックコネクタを保持する保持部を有し、
前記保持部は、前記第1シールカバーの中央部に位置する、シールカバー。
【請求項6】
請求項1から請求項5のいずれか1項に記載のシールカバーであって、
前記第2ネジは、前記第2シール部材の中央に取り付けられ、
前記第2シール部材の回り止め構造を備える、シールカバー。
【請求項7】
請求項1から請求項6のいずれか1項に記載のシールカバーであって、
前記第1シール部材に取り付けられ、前記取付対象への前記シールカバーの取り付けを保証するインターロックコネクタを備え、
前記取付対象は、前記インターロックコネクタと嵌合する相手側コネクタを有し、
前記相手側コネクタに対する前記インターロックコネクタの嵌合方向に交差する平面を一平面とした場合において、前記取付対象は、前記一平面に沿った方向における前記シールカバーの取付位置を規制する、前記嵌合方向と反対方向に突出する規制ピンを有し、
前記インターロックコネクタは、前記第1シール部材に対して前記一平面に沿って相対移動可能に前記第1シール部材に取り付けられ、
前記シールドカバーは、前記規制ピンが挿通される第3貫通孔を有し、
前記嵌合方向に沿った方向における前記第1シール部材の寸法は、前記規制ピンが前記第3貫通孔に挿通され、かつ前記インターロックコネクタの先端が前記相手側コネクタに嵌まり始めた状態において前記第1シール部が前記第1開口部に嵌まらない寸法に設定されている、シールカバー。
発明の詳細な説明
【技術分野】
【0001】
本開示は、シールカバーに関する。
続きを表示(約 1,700 文字)
【背景技術】
【0002】
特許文献1には、ケース等の取付対象の開口部を覆うシールカバーが記載されている。特許文献1のシールカバーは、取付対象の開口部に嵌まる部分を有するシール部材(特許文献1では嵌合部として説明されている)と、当該シール部材が取り付けられ、取付対象に固定されるシールドケースとを備える。
【先行技術文献】
【特許文献】
【0003】
特開2017-91809号公報
【発明の概要】
【発明が解決しようとする課題】
【0004】
特許文献1のシールカバーでは、シール部材がその中央でシールドケースに取り付けられている。このため、シール部材をシールドカバーに取り付ける取付作業を行う作業者は、シール部材が本来の取付姿勢に対して180度回転した状態で取付作業を行わないように注意する必要がある。
【0005】
そこで、シールドカバーに対するシール部材の取付作業性を向上させることが可能な技術を提供することを目的とする。
【課題を解決するための手段】
【0006】
本開示のシールカバーは、第1開口部と、前記第1開口部と並ぶ第2開口部とを有する取付対象に取り付けられ、前記第1開口部及び前記第2開口部を覆うシールカバーであって、前記第1開口部に嵌まって前記第1開口部をシールする第1シール部を有する第1シール部材と、前記第2開口部に嵌まって前記第2開口部をシールする第2シール部を有し、前記第1シール部材と並ぶ第2シール部材と、前記第1シール部材及び前記第2シール部材が取り付けられ、前記取付対象に固定され、第1貫通孔及び第2貫通孔を有するシールドカバーと、前記シールドカバーの前記第1貫通孔に挿通されて前記第1シール部材に取り付けられている第1ネジと、前記シールドカバーの前記第2貫通孔に挿通されて前記第2シール部材に取り付けられている第2ネジとを備え、前記第1ネジは、前記第1シール部材の中央から、前記第1シール部材と前記第2シール部材との並び方向の一方側にずれた位置に取り付けられ、前記第1シール部材は、前記シールドカバーを第1クリアランスがある状態で貫通し、前記第1シール部材の回転を規制する突起部を有し、前記突起部は、前記第1シール部材の中央から前記並び方向の他方側にずれて位置し、前記突起部は、前記シールドカバーの表面の凹面に設けられた開口から前記シールドカバーの外側に突出する。
【発明の効果】
【0007】
本開示によれば、シールドカバーに対する第1シール部材の取付作業性が向上する。
【図面の簡単な説明】
【0008】
図1はシールカバーの一例を示す概略斜視図である。
図2はシールカバーの一例を示す、図1の反対側からの概略斜視図である。
図3はシールカバーの一例を示す概略側面図である。
図4は取付対象の一例を示す概略平面図である。
図5はシールカバーの一例を示す概略分解斜視図である。
図6はシールカバーの一例を示す、図5の反対側からの概略分解斜視図である。
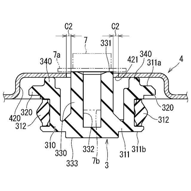
図7はシールドカバー及び第1シール部材の断面構造の一例を示す概略図である。
図8はシールドカバー及び第2シール部材の断面構造の一例を示す概略図である。
図9は第2シール部材の断面構造の一例を示す概略図である。
図10はシールカバーの取付過程の一例を示す概略図である。
図11はシールカバーの取付過程において図10より進んだ様子の一例を示す概略図である。
図12はシールカバーの取付過程において図11より進んだ様子の一例を示す概略図である。
図13はシールカバーの取付過程が完了した様子の一例を示す概略図である。
【発明を実施するための形態】
【0009】
[本開示の実施形態の説明]
最初に本開示の実施態様を列記して説明する。
【0010】
本開示のシールカバーは、次の通りである。
(【0011】以降は省略されています)
この特許をJ-PlatPat(特許庁公式サイト)で参照する
関連特許
住友電装株式会社
端子
1か月前
住友電装株式会社
端子台
3日前
住友電装株式会社
端子金具
1か月前
住友電装株式会社
コネクタ
3日前
住友電装株式会社
コネクタ
27日前
住友電装株式会社
コネクタ
23日前
住友電装株式会社
コネクタ
14日前
住友電装株式会社
コネクタ
1か月前
住友電装株式会社
コネクタ
1か月前
住友電装株式会社
コネクタ
1か月前
住友電装株式会社
コネクタ
6日前
住友電装株式会社
コネクタ
1か月前
住友電装株式会社
コネクタ
1か月前
住友電装株式会社
コネクタ
3日前
住友電装株式会社
コネクタ
13日前
住友電装株式会社
コネクタ
3日前
住友電装株式会社
コネクタ
3日前
住友電装株式会社
コネクタ
3日前
住友電装株式会社
コネクタ
2か月前
住友電装株式会社
コネクタ
3日前
住友電装株式会社
コネクタ
1か月前
住友電装株式会社
電気接続箱
1か月前
住友電装株式会社
中継コネクタ
1か月前
住友電装株式会社
中継コネクタ
1か月前
住友電装株式会社
充電コネクタ
22日前
住友電装株式会社
中継コネクタ
24日前
住友電装株式会社
ワイヤハーネス
1か月前
住友電装株式会社
ワイヤハーネス
1か月前
住友電装株式会社
ワイヤハーネス
23日前
住友電装株式会社
充電インレット
1か月前
住友電装株式会社
ワイヤハーネス
6日前
住友電装株式会社
ワイヤハーネス
1か月前
住友電装株式会社
コネクタユニット
14日前
住友電装株式会社
シールドコネクタ
1か月前
住友電装株式会社
コネクタユニット
24日前
住友電装株式会社
コネクタアセンブリ
1日前
続きを見る
他の特許を見る