TOP
|
特許
|
意匠
|
商標
特許ウォッチ
Twitter
他の特許を見る
公開番号
2025135082
公報種別
公開特許公報(A)
公開日
2025-09-18
出願番号
2024032673
出願日
2024-03-05
発明の名称
建物や宅配ボックスのゲート用通信システム及びそのプログラム
出願人
美和ロック株式会社
代理人
個人
,
個人
主分類
H04Q
9/00 20060101AFI20250910BHJP(電気通信技術)
要約
【課題】「通信処理時間」を著しく短縮することができること。
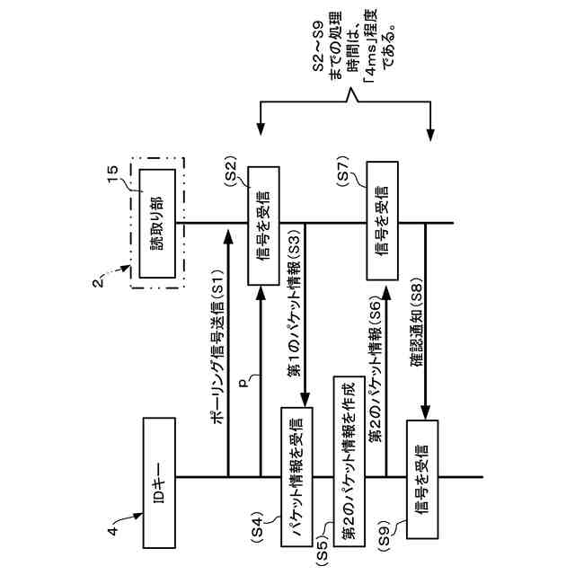
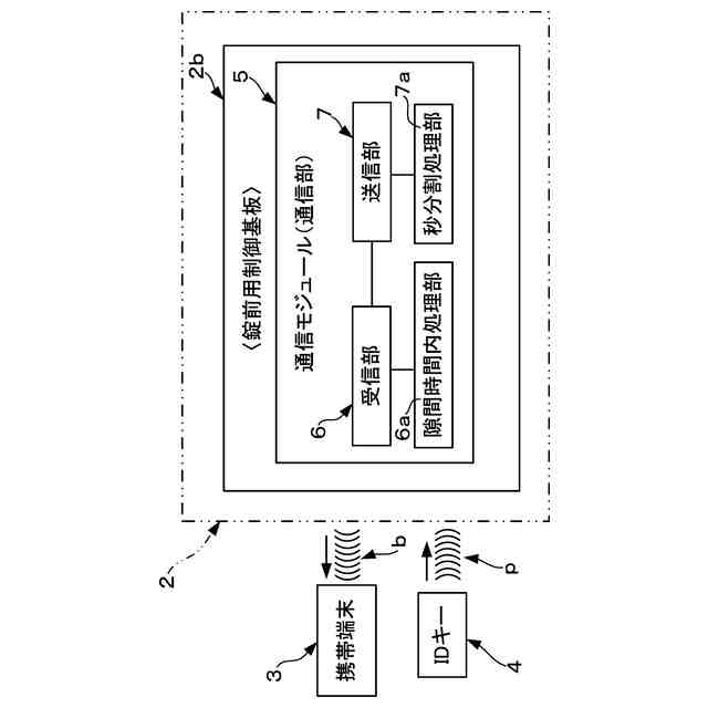
【解決手段】発信部および受信部を有するIDキーと、通信部を有する携帯端末との二つの無線通信手段の両方に通信可能な建物や宅配ボックスのゲート用通信システムであって、電気錠側は、制御基板に直接又は間接的に設けられた通信モジュールを備え、通信モジュールは、IDキーの発信部からポーリング信号を受信する受信部と、携帯端末に送信するBluetooth関連規格のブルートゥース信号を送信する送信部を備え、さらに通信モジュールは、ブルートゥース信号を秒分割処理された状態で順次送信し、一方、ポーリング信号をブルートゥース信号の隙間時間内に受信し、隙間時間内にIDキーの認証処理を行うことを特徴とする。
【選択図】図3
特許請求の範囲
【請求項1】
発信部および受信部を有するIDキーと、通信部を有する携帯端末との二つの無線通信手段の両方に通信可能な建物や宅配ボックスのゲート用通信システムであって、
電気錠側は、制御基板に直接又は間接的に設けられた通信モジュールを備え、前記通信モジュールは、前記IDキーの発信部からポーリング信号を受信する受信部と、前記携帯端末に送信するBluetooth関連規格のブルートゥース信号を送信する送信部を備え、さらに前記通信モジュールは、前記ブルートゥース信号を秒分割処理された状態で順次送信し、一方、前記ポーリング信号を前記ブルートゥース信号の隙間時間内に受信し、前記隙間時間内に前記IDキーの認証処理を行うことを特徴とする、建物や宅配ボックスのゲート用通信システム。
続きを表示(約 820 文字)
【請求項2】
請求項1の建物や宅配ボックスのゲート用通信システムに於いて、前記制御基板は乱数生成装置を有し、該電気錠側は前記IDキーに対してランダムIDを含む所定容量の第1のパケット情報を送信することを特徴とする建物や宅配ボックスのゲート用通信システム。
【請求項3】
請求項2の建物や宅配ボックスのゲート用通信システムに於いて、前記IDキーは前記第1のパケット情報を受信したならば、IDキーの暗号化処理部は前記パケット情報を利用して暗号化されたユニークIDを含む所定容量の第2のパケット情報を前記電気錠側に対して送信することを特徴とする建物や宅配ボックスのゲート用通信システム。
【請求項4】
請求項3の建物や宅配ボックスのゲート用通信システムに於いて、前記電気錠側は前記第2のパケット情報を受信したならば、該電気錠側は、前記IDキーに対して前記第2のパケット情報の確認通知を送信することを特徴とする建物や宅配ボックスのゲート用通信システム。
【請求項5】
発信部および受信部を有するIDキーと、通信部を有する携帯端末との二つの無線通信手段の両方に通信可能な通信システムに使用される建物や宅配ボックスのゲート用プログラムであって、
前記電気錠側は、制御基板に直接又は間接的に設けられた通信モジュール手段を備え、前記通信モジュール手段は、前記IDキーの発信部からポーリング信号を受信する受信ステップと、前記携帯端末に送信するBluetooth関連規格のブルートゥース信号を送信するステップを備え、さらに前記通信モジュール手段は、前記ブルートゥース信号を秒分割処理された状態で順次送信し、一方、前記ポーリング信号を前記ブルートゥース信号の隙間時間内に受信し、前記隙間時間内に前記IDキーの認証処理を行う、通信システムに使用される建物や宅配ボックスのゲート用プログラム。
発明の詳細な説明
【技術分野】
【0001】
本発明は建物や宅配ボックスのゲート用通信システム及びプログラムに関し、特に、発信部を有するIDキーと通信部を有する携帯端末の二つの無線通信手段の両方に通信可能な建物や宅配ボックスのゲート用通信システム及びプログラムに関する。
続きを表示(約 3,100 文字)
【背景技術】
【0002】
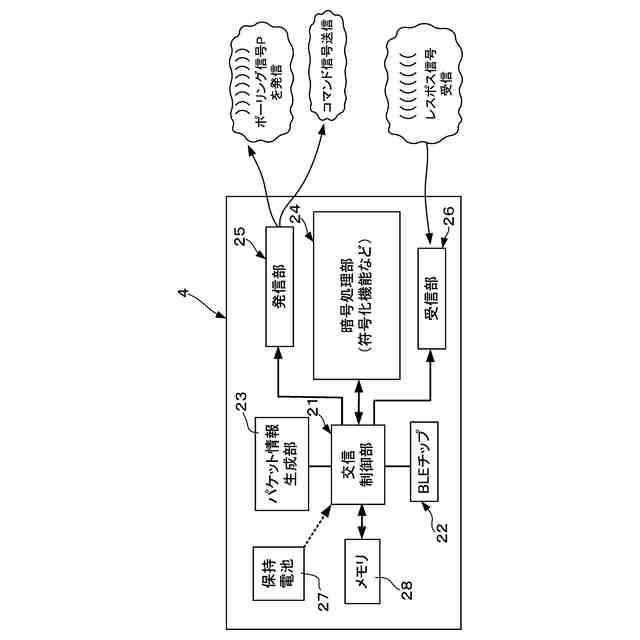
特許文献1は、電気錠(電子錠と同じ)用の通信モジュールが開示されている。すなわち、特許文献1の請求項1には、「携帯端末との通信を可能とする通信モジュールであって、 基板と、前記基板上に設けられた所定の電波強度でBluetooth関連規格により送信を行う発信機と、前記基板上に設けられた前記携帯端末と前記Bluetooth関連規格により双方向通信が可能な通信装置とを備え、前記発信機及び前記通信装置は、単一の通信チップ上で、時分割処理により前記発信機に第1のデバイスアドレスを与え、前記通信装置に前記第1のデバイスアドレスとは異なる第2のデバイスアドレスを与えて構成されていることを特徴とする通信モジュール」が記載されている。
【0003】
また前記特許文献1の段落0029には、「発信機302は、BLE規格に基づく通信が可能なBLEチップをアドバタイズモードで動作させることで構成することができる。アドバタイズモードでは、BLEチップは発信機302を識別する16バイトなどの識別子を不特定の端末に対してブロードキャストする。BLEチップは、1バイトなどの電波強度も送信情報に含むことができる。ここで本明細書においては、「BLE規格」とは、BLE規格を使用、拡張又は修正したものであるiBeacon(登録商標)規格、eddystone(商標)規格等も含む。たとえば、iBeacon規格により送信されるパケットには、特定のカンパニーID、UUID、Major/Minor番号、電波強度が含まれていることが求められる。iBeacon規格の場合には、発信機302は携帯端末からの受信を行わないが、発信機302は必ずしも携帯端末からの受信を行わないものに制限されるものではなく、双方向通信を可能とする用途もある」と記載されている。
【0004】
また段落0030には、「 通信装置303は、BLE規格に基づく通信が可能なBLEチップをペリフェラルモード又はセントラルモードで動作させることで構成することができる。ペリフェラルモードではコネクタブルにアドバタイズメント・パケットをブロードキャストしている通信装置303に対して携帯端末側から接続要求が出され、セントラルモードでは通信装置303側から接続要求が出され、その後、接続が確立された端末との間で双方向の信号の送受信を行うことができる。たとえば20バイト単位で複数回の通信を重ねることでリッチな通信が可能である」、と記載されている。
【0005】
したがって、特許文献1には、「図3で示すように、通信モジュール(300)は、単一の基板(301)に設けられた二つのBLEチップ(302、303)を有し、一方のBLEチップ(302)は発信機302用のものであり、これに対して他方のBLEチップ(303)は通信装置303用のものであり、前記一方のBLEチップ(302)はアドバタイズモードで動作し、また前記他方のBLEチップ(303)はペリフェラルモード又はセントラルモードのいずれかで動作すること」が記載されているものと理解することができる。
【0006】
上記構成にあっては、段落0032に記載されているように、「複数の通信方法の使用が求められる用途に広く適用可能なものであるが、一例として、以下のものがある。iOSをOSとするスマートフォン、タブレットなどの携帯端末では、バックグラウンド処理(又はフォアグラウンド処理)を直後に開始可能な信号がBLE規格の中ではiBeacon規格に制限されており、iBeacon規格以外のBLE規格のアドバタイズメント・パケットを契機として、アプリのバックグラウンド処理を開始することができない。
【0007】
ただし、iBeacon規格に基づくアドバタイズメント・パケットであれば、そのパケット情報に含まれる識別子(UUID、Major/Minor番号)等を受信して任意のアプリをバックグラウンド状態で実行させることができる。通信モジュール300が取り付けられたスマートデバイスに操作信号を自動で送信することでユーザーの操作負担を軽減することを考えた場合、操作信号の送信には携帯端末とスマートデバイスとの間で接続の確立が必要であるが、携帯端末を所持するユーザーがスマートロックに近づいたら発信機302からの第1のアドバタイズメント・パケットを受信して(S401)、当該パケットに含まれる識別子に関連づけられたアプリをバックグラウンド状態で動作させ(S402)、通信装置303からの第2のアドバタイズメント・パケットの検知(S403)、及び、通信装置303との接続の確立処理を開始させることができる(S404)。そして、接続確立後、自動で操作信号を携帯端末から通信装置303に送信(S405)するように構成することができる。または、接続確立後、必要なデータを通信装置303から受信することができる。」
なお、段落0032に記載されている「スマートデバイス」とは、いわゆる当業者用語の電気錠(電子錠と同じ)のこと、つまり、スマートフォン、タブレット端末などの高機能・多機能の携帯端末と通信可能な機器のことである。
【0008】
次に特許文献2は車両1に搭載された制御装置20と二つの無線通信手段(例えばスマートフォン2と電子式の車両用無線キー3)のBLE規格による「送信間隔(時間の速さ)が記載されている。例えば段落0024には、BLE規格による「アドバタイズ間隔」の速さに関して、「制御装置は、BLE識別信号をBLEシステムによって第1時間間隔で周期的に送信し、BLE識別信号をBLEシステムによって2つのBLE識別信号の送信間ごとに受信するように、BLEシステムを制御するように構成されている。BLE規格では、BLE識別信号が、「アドバタイズ間隔」と呼ばれる一定の時間間隔で送信されることが規定されている。この場合、好ましくは、20ms~10.24sの時間間隔が、(0.625msの間隔ごとに)選択され、この時間間隔に、0ms~10msのランダム遅延時間(「random delay」)が加算されることによって、当該「アドバタイズ間隔」が選択されている。特に好ましくは、当該第1時間間隔は、42.5msと1つのランダム遅延時間との和である。さらに好ましくは、当該第1時間間隔は、車両によって送信されたBLE識別信号のCCC DKR3で規定された周期に一致する」と記載されている。
【0009】
特に電子式の車両用無線キー3の「アドバタイズ間隔」の好適な構成は、主に制御装置によって実装されている受動的なアクセスシステムの応答時間内に設定され、当該車両のBLEシステム自体が、BLE識別信号を送信する間は、当該BLEシステムは、BLE識別信号を当該電子式の車両用無線キーから受信できない。当該BLE識別信号シーケンスを上記の時間間隔で周期的に送信することによって、好ましくは、500msの時間間隔内に当該車両用無線キーから送信された1つのBLE識別信号シーケンスの少なくとも1つのBLE識別信号が、当該車両のBLEシステムによって受信されることが保証される」と記載されている(段落0042)。
【0010】
上記のように、電子式の車両用無線キーからの「アドバタイズ間隔」は、500msの時間の間隔内であり、必ずしも送信間隔が高速ではない。
【先行技術文献】
【特許文献】
(【0011】以降は省略されています)
この特許をJ-PlatPat(特許庁公式サイト)で参照する
関連特許
個人
店内配信予約システム
2か月前
サクサ株式会社
中継装置
2か月前
WHISMR合同会社
収音装置
22日前
キヤノン株式会社
電子機器
2か月前
アイホン株式会社
電気機器
16日前
キヤノン株式会社
撮像装置
1か月前
日本精機株式会社
画像投映システム
2か月前
株式会社リコー
画像形成装置
1か月前
キヤノン電子株式会社
モバイル装置
2か月前
株式会社リコー
画像形成装置
1か月前
個人
ワイヤレスイヤホン対応耳掛け
14日前
キヤノン電子株式会社
画像読取装置
23日前
株式会社リコー
画像形成装置
1か月前
キヤノン株式会社
撮像システム
16日前
ブラザー工業株式会社
読取装置
1か月前
株式会社ニコン
撮像装置
2か月前
パテントフレア株式会社
超高速電波通信
1か月前
国立大学法人電気通信大学
小型光学装置
1か月前
沖電気工業株式会社
画像形成装置
4日前
キヤノン電子株式会社
シート材搬送装置
1か月前
有限会社フィデリックス
マイクロフォン
今日
パテントフレア株式会社
水中電波通信法
2か月前
株式会社JVCケンウッド
通信システム
今日
DXO株式会社
情報処理システム
2か月前
株式会社小糸製作所
画像照射装置
1か月前
株式会社松平商会
携帯機器カバー
25日前
大日本印刷株式会社
写真撮影装置
15日前
日本無線株式会社
無線通信システム
1か月前
株式会社オーディオテクニカ
受光器
2か月前
日本無線株式会社
無線通信システム
8日前
テックス通信株式会社
電話システム
2か月前
日本無線株式会社
無線通信システム
1か月前
日本無線株式会社
無線通信システム
1か月前
株式会社国際電気
遠隔監視システム
1か月前
日本無線株式会社
無線通信システム
25日前
株式会社リコー
画像形成装置
1か月前
続きを見る
他の特許を見る